вконтакте

Контактный телефон: +7 (981) 121-46-93, +7 (800) 200-90-76 , Email: parts-katalog@yandex.ru, где купить

 
 

  Логин:

Пароль:

Регистрация

www.partskatalog.ru Все каталоги Запчасти Mercury Запчасти Suzuki Запчасти Tohatsu Запчасти Honda Контакты



УВАЖАЕМЫЕ КЛИЕНТЫ!
C 31 ОКТЯБРЯ 2025 ПО 10 НОЯБРЯ 2025 ГОДА РАБОТАТЬ НЕ БУДЕМ




Все разделы каталога запчастей на этот двигатель

назад Раздел:   вперёд

вернуться к списку узлов и деталей

ДЕТАЛИРОВКА ДЛЯ МОДЕЛИ: EVINRUDE SE55RSYW 1996

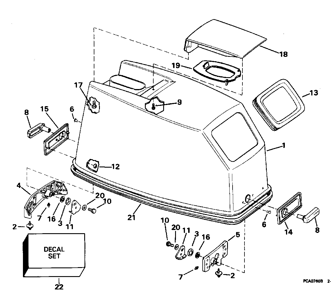
КРЫШКА ДВИГАТЕЛЯ (КАПОТ) - JOHNSON | ENGINE COVER - JOHNSON;


 Evinrude SE55RSYW 1996  - Johnson

Номер на
рисунке
АртикулНаименованиеКол-во
на складе
Цена
1 0436567

ENG. Крышка в сборе, Johnson. 45 Models Only (ENG. COVER ASSY., Johnson. 45 Models Only)

нет в наличии, поставок нет
1 0438356

   (последний код) COVER AY,MOTOR-UPR

нет в наличии, поставок нет
1 0436568

ENG. Крышка в сборе, Johnson. 55 Models Only (ENG. COVER ASSY., Johnson. 55 Models Only)

нет в наличии, поставок нет
1 0438357

   (последний код) COVER AY,MOTOR-

нет в наличии, поставок нет
1 0436536

ENG. Крышка в сборе, Johnson. 40RP Models Only (ENG. COVER ASSY., Johnson. 40RP Models Only)

нет в наличии, поставок нет
1 0438332

   (последний код) COVER AY,MOTOR-

нет в наличии, поставок нет
1 0437320

ENG. Крышка в сборе, Johnson. 40RW Models Only (ENG. COVER ASSY., Johnson. 40RW Models Only)

нет в наличии, поставок нет
1 0438332

   (последний код) COVER AY,MOTOR-

нет в наличии, поставок нет
2 0315159

Бампер, Locating Кронштейн (BUMPER, Locating bracket)

нет в наличии, поставок нет
3 0553766

BOW Шайба, Handle (BOW WASHER, Handle)

нет в наличии, поставок нет
3 0123886

   (последний код) SPRING-WASHE

нет в наличии, поставок нет
4 0396704

LOCATING Кронштейн, Rear (LOCATING BRACKET, Rear)

нет в наличии, поставок нет
4 0391641

   (последний код) LOCATING BRKT-REAR

нет в наличии, поставок нет
5 0396703

LOCATING Кронштейн, Front (LOCATING BRACKET, Front)

нет в наличии, поставок нет
6 0326948

Заклёпка, Locating Кронштейн (RIVET, Locating bracket)

нет в наличии, поставок нет
6 0331881

   (последний код) RIVET

нет в наличии, поставок нет
7 0313607

LUBE FITTING (LUBE FITTING)

нет в наличии, поставок нет
7 3852121

   (последний код) FITTING,LUB

нет в наличии, поставок нет
8 0396611

LATCH HANDLE (LATCH HANDLE)

нет в наличии, поставок нет
8 0432321

   (последний код) HDL&SFT-AY

нет в наличии, поставок нет
9 0323229

Винт, Рукоятка наклона, front (SCREW, Tilt handle, front)

нет в наличии, поставок нет
10 0912127

Винт, Крючок to handle (SCREW, Hook to handle)

нет в наличии, поставок нет
11 0330252

LATCH, Handle (LATCH, Handle)

нет в наличии, поставок нет
11 0323236

   (последний код) HOOK-MTR-CVR

нет в наличии, поставок нет
12 0317223

Защелка, Applique (FASTENER, Applique)

нет в наличии, поставок нет
13 0332025

Сальник, Крышка Кронштейн (SEAL, Cover bracket)

нет в наличии, поставок нет
13 0330790

   (последний код) 2277B5034

нет в наличии, поставок нет
14 0334066

APPLIQUE, Front handle (APPLIQUE, Front handle)

нет в наличии, поставок нет
14 0211022

   (последний код) FRAME

нет в наличии, поставок нет
15 0334065

APPLIQUE, Rear handle (APPLIQUE, Rear handle)

нет в наличии, поставок нет
15 0334134

   (последний код) FRAME

нет в наличии, поставок нет
16 0321863

Шайба, Latch handle (WASHER, Latch handle)

нет в наличии, поставок нет
17 0323228

Винт, Рукоятка наклона, rear (SCREW, Tilt handle, rear)

нет в наличии, поставок нет
18 0333090

Рукоятка наклона (TILT HANDLE)

нет в наличии, поставок нет
19 0210296

BAFFLE, Рукоятка наклона (BAFFLE, Tilt handle)

нет в наличии, поставок нет
20 0328703

Шайба, Крючок to handle (WASHER, Hook to handle)

нет в наличии, поставок нет
20 3852184

   (последний код) WASHER

нет в наличии, поставок нет
21 0332241

Сальник, Крышка (SEAL, Cover)

нет в наличии, поставок нет
21 0325322

   (последний код) SEAL,MOTOR COVER

нет в наличии, поставок нет
22 0437078

Комплект наклеек, Johnson. 45 Models Only (DECAL SET, Johnson. 45 Models Only)

нет в наличии, поставок нет
22 0437079

Комплект наклеек, Johnson. 55 Models Only (DECAL SET, Johnson. 55 Models Only)

нет в наличии, поставок нет
22 0437077

Комплект наклеек, Johnson. 40RP Models Only (DECAL SET, Johnson. 40RP Models Only)

нет в наличии, поставок нет
22 0437621

Комплект наклеек, Johnson. 40RW Models Only (DECAL SET, Johnson. 40RW Models Only)

нет в наличии, поставок нет
evinrude

Время выполнения запроса 2.0655488967896 сек.


 
 

данный сайт носит информационный характер и не является публичной офертой

склад запчастей для водомоторной техники