вконтакте

Контактный телефон: +7 (981) 121-46-93, +7 (800) 200-90-76 , Email: parts-katalog@yandex.ru, где купить

 
 

  Логин:

Пароль:

Регистрация

www.partskatalog.ru Все каталоги Запчасти Mercury Запчасти Suzuki Запчасти Tohatsu Запчасти Honda Контакты



УВАЖАЕМЫЕ КЛИЕНТЫ!
C 31 ОКТЯБРЯ 2025 ПО 10 НОЯБРЯ 2025 ГОДА РАБОТАТЬ НЕ БУДЕМ




Все разделы каталога запчастей на этот двигатель

назад Раздел:   вперёд

вернуться к списку узлов и деталей

ДЕТАЛИРОВКА ДЛЯ МОДЕЛИ: EVINRUDE E48ESLEDC 1996

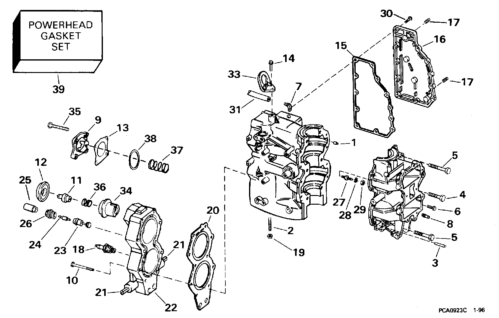
ЦИЛИНДР & КАРТЕР ДВИГАТЕЛЯ | CYLINDER & CRANKCASE;


 Evinrude E48ESLEDC 1996  - linder & Crankcase / linder & Картер двигателя

Номер на
рисунке
АртикулНаименованиеКол-во
на складе
Цена
0437342 0437342

Цилиндр & Картер двигателя в сборе.. Not Shown (CYLINDER & CRANKCASE ASSY.. Not Shown)

нет в наличии, поставок нет
1 0304178

Шпонка, Подшипник (DOWEL PIN, Bearing)

нет в наличии, поставок нет
2 0314616

Шпилька, Цилиндр to adapter (STUD, Cylinder to adapter)

нет в наличии, поставок нет
2 0324811

   (последний код) STUD-CYL

нет в наличии, поставок нет
3 0305070

конус Штифт (TAPER PIN)

нет в наличии, поставок нет
4 0308747

Винт, Картер двигателя to Цилиндр (SCREW, Crankcase to cylinder)

нет в наличии, поставок нет
5 0308752

Винт, Main brg., верх и низ (SCREW, Main brg., upper & lower)

нет в наличии, поставок нет
6 0308742

Винт, Картер двигателя to Цилиндр (SCREW, Crankcase to cylinder)

нет в наличии, поставок нет
6 3852080

   (последний код) SCREW

нет в наличии, поставок нет
7 0331894

ELBOW, Индикатор (ELBOW, Indicator)

нет в наличии, поставок нет
8 0303492

Ниппель, Pulse (NIPPLE, Pulse)

нет в наличии, поставок нет
9 0339207

Крышка термостата (COVER, Thermostat)

нет в наличии, поставок нет
10 0322323

Винт, Головка блока цилиндра (SCREW, Cylinder head)

нет в наличии, поставок нет
11 0436195

Термостат в сборе. (THERMOSTAT ASSY.)

нет в наличии, поставок нет
12 0435957

Диафрагма & Cвыше в сборе. (DIAPHRAGM & CUP ASSY.)

нет в наличии, поставок нет
13 0329830

Прокладка крышки (GASKET, Cover)

нет в наличии, поставок нет
14 0314515

Винт, Lift Кронштейн (SCREW, Lift bracket)

нет в наличии, поставок нет
15 0325211

Прокладка, Water passage (GASKET, Water passage)

нет в наличии, поставок нет
16 0437506

Крышка & Заглушка AY, Water passage (COVER & PLUG AY, Water passage)

нет в наличии, поставок нет
16 0433561

   (последний код) COVER&PLUG AY

нет в наличии, поставок нет
17 0321164

Заглушка, Крышка (PLUG, Cover)

нет в наличии, поставок нет
17 0307544

   (последний код) PLUG

нет в наличии, поставок нет
18 0437929

Свеча зажигания, Champion, QL78YC (SPARK PLUG, Champion, QL78YC)

нет в наличии, поставок нет
18 0432981

Свеча зажигания, Champion, QL78C. Опции (SPARK PLUG, Champion, QL78C. Optional)

нет в наличии, поставок нет
18 0502179

   (последний код) Champion SPARK PLUG QL78C MAR4

нет в наличии, поставок нет
18 0432921

Свеча зажигания, Champion, L78C. Опции (SPARK PLUG, Champion, L78C. Optional)

нет в наличии, поставок нет
18 0502893

   (последний код) Champion SPARK PLUG L78C CHAMP4 CS10304

нет в наличии, поставок нет
19 0315204

Гайка, Шпилька (NUT, Stud)

нет в наличии, поставок нет
19 0316355

   (последний код) NUT

нет в наличии, поставок нет
20 0335359

Прокладка головки блока цилиндра (GASKET, Cylinder head)

нет в наличии, поставок нет
20 0327795

   (последний код) CYL HD GASKET

нет в наличии, поставок нет
21 0332406

Штифт, Roll, Крепление (PIN, Roll, mount)

нет в наличии, поставок нет
22 0340100

Головка блока цилиндра (CYLINDER HEAD)

нет в наличии, поставок нет
23 0585184

температура Переключатель (TEMPERATURE SWITCH)

нет в наличии, поставок нет
23 0586094

   (последний код) SWITCH AY,TEMP

нет в наличии, поставок нет
24 0511469

Клемма, Штифт (TERMINAL, Pin)

нет в наличии, поставок нет
24 3852229

   (последний код) TERMINAL,PIN

нет в наличии, поставок нет
25 0513357

Коннектор (CONNECTOR)

нет в наличии, поставок нет
25 3854845

   (последний код) CONNECTOR 513357

нет в наличии, поставок нет
26 0329562

Крышка, температура Переключатель (COVER, Temperature switch)

нет в наличии, поставок нет
27 0330143

Шпилька, Double ended (STUD, Double ended)

нет в наличии, поставок нет
27 0311328

   (последний код) BOLT

нет в наличии, поставок нет
28 0328701

Шайба, Шпилька (WASHER, Stud)

нет в наличии, поставок нет
28 3852182

   (последний код) WASHER,LOCK

нет в наличии, поставок нет
29 0328740

Гайка (NUT)

нет в наличии, поставок нет
29 0306375

   (последний код) NUT

нет в наличии, поставок нет
30 0302288

Винт, Крышка (SCREW, Cover)

нет в наличии, поставок нет
30 3852043

   (последний код) SCREW

нет в наличии, поставок нет
31 0

Шланг, Индикатор, 18 3 / 4 дюйм (480 мм) сокращёная длина from 310828 - 25 фут (76m) Roll (HOSE, Indicator, 18 3/4 in. (480mm). Cut to Length from 310828 - 25 ft. (76m) Roll)

нет в наличии, поставок нет
33 0326023

LIFT Кольцо (LIFT RING)

нет в наличии, поставок нет
34 0336178

Корпус, Термостат (HOUSING, Thermostat)

нет в наличии, поставок нет
35 0306049

Винт, Крышка (SCREW, Cover)

нет в наличии, поставок нет
36 0336179

Пружина, Термостат (SPRING, Thermostat)

нет в наличии, поставок нет
37 0342421

Пружина давления relief (SPRING, Pressure relief)

нет в наличии, поставок нет
38 0336185

Шайба, Крышка (WASHER, Cover)

нет в наличии, поставок нет
39 0437806

POWERHEAD Комплект прокладок (POWERHEAD GASKET SET)

нет в наличии, поставок нет
39 0439083

   (последний код) GASKET SET, PWHD

нет в наличии, поставок нет
evinrude

Время выполнения запроса 1.5851621627808 сек.


 
 

данный сайт носит информационный характер и не является публичной офертой

склад запчастей для водомоторной техники