вконтакте

Контактный телефон: +7 (981) 121-46-93, +7 (800) 200-90-76 , Email: parts-katalog@yandex.ru, где купить

 
 

  Логин:

Пароль:

Регистрация

www.partskatalog.ru Все каталоги Запчасти Mercury Запчасти Suzuki Запчасти Tohatsu Запчасти Honda Контакты



УВАЖАЕМЫЕ КЛИЕНТЫ!
C 31 ОКТЯБРЯ 2025 ПО 10 НОЯБРЯ 2025 ГОДА РАБОТАТЬ НЕ БУДЕМ




Все разделы каталога запчастей на этот двигатель

назад Раздел:   вперёд

вернуться к списку узлов и деталей

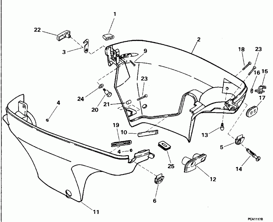
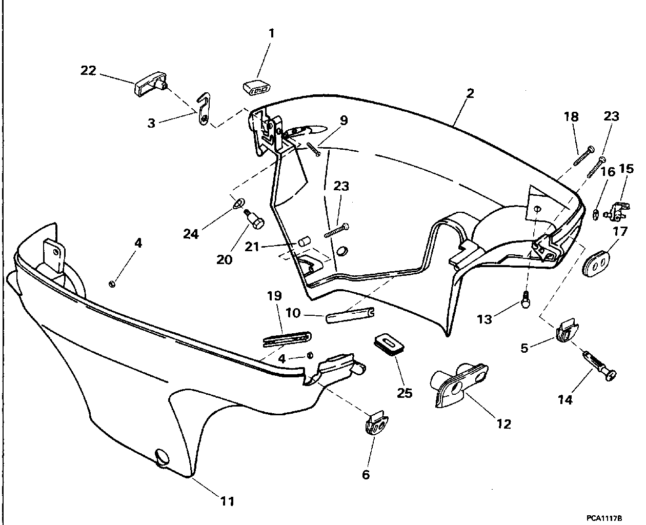
ДЕТАЛИРОВКА ДЛЯ МОДЕЛИ: EVINRUDE E35QLEDC 1996

НИЖНЯЯ КРЫШКА ДВИГАТЕЛЯ | LOWER ENGINE COVER;


Подвесной лодочный мотор Evinrude E35QLEDC 1996  - wer Engine Cover

Номер на
рисунке
АртикулНаименованиеКол-во
на складе
Цена
1 0438484

Крышка двигателя (капот) в сборе., нижний , port (ENGINE COVER ASSY., Lower, port)

нет в наличии, поставок нет
1 0339728

   (последний код) COVER AY,MOTOR-LWR

нет в наличии, поставок нет
2 0340742

Бампер, Крышка (BUMPER, Cover)

нет в наличии, поставок нет
2 0344466

   (последний код) BUMPER

нет в наличии, поставок нет
3 0338318

Винт, Бампер to Крышка. "G" Suffix Models Only (SCREW, Bumper to cover. "G" Suffix Models Only)

нет в наличии, поставок нет
3 0338318

Винт, Бампер to Крышка. "G" Suffix Models Only (SCREW, Bumper to cover. "G" Suffix Models Only)

нет в наличии, поставок нет
3 0337358

Винт, Бампер to Нижняя часть корпуса, inner port. "G" Suffix Models Only (SCREW, Bumper to lower cover, inner port. "G" Suffix Models Only)

нет в наличии, поставок нет
4 0341231

Заглушка, Choke Кабели hole. Remote Models TNT Models (PLUG, Choke cable hole. Remote Models TNT Models)

нет в наличии, поставок нет
5 0341989

Винт, Крышка, front, M6 (SCREW, Cover, front, M6)

нет в наличии, поставок нет
6 0339447

Пыльник. Шнур Models AC Models (GROMMET. Rope Models AC Models)

нет в наличии, поставок нет
6 0341254

Пыльник. Remote Models (GROMMET. Remote Models)

нет в наличии, поставок нет
6 0339446

Пыльник. TNT Models (GROMMET. TNT Models)

нет в наличии, поставок нет
6 0342086

Пыльник. TEL Models (GROMMET. TEL Models)

нет в наличии, поставок нет
7 0331977

EYELET, Нижняя часть корпуса drain (EYELET, Lower cover drain)

нет в наличии, поставок нет
8 0308532

Втулка (BUSHING)

нет в наличии, поставок нет
8 0122475

   (последний код) BUSHING

нет в наличии, поставок нет
9 0341989

Винт, Крышка, rear, M6 (SCREW, Cover, rear, M6)

нет в наличии, поставок нет
10 0339390

Сальник, Крышка to Выхлоп hsg., верхний (SEAL, Cover to exhaust hsg., upper)

нет в наличии, поставок нет
11 0343442

Крышка двигателя (капот), нижний , stbd. (ENGINE COVER, Lower, stbd.)

нет в наличии, поставок нет
11 0344461

   (последний код) COVER,MOTOR-LOWER

нет в наличии, поставок нет
12 0436070

Ниппель & Клапан, Drain. "C" Suffix Models Only (NIPPLE & VALVE, Drain. "C" Suffix Models Only)

нет в наличии, поставок нет
13 0336165

Винт, Топливный коннектор (SCREW, Fuel connector)

нет в наличии, поставок нет
13 5030329

   (последний код) BOLT,FUEL CONN PL

нет в наличии, поставок нет
14 0437011

CHOKE Кабели в сборе.. Шнур Models AC Models TEL Models (CHOKE CABLE ASSY.. Rope Models AC Models TEL Models)

нет в наличии, поставок нет
15 0432712

Топливный коннектор в сборе. (FUEL CONNECTOR ASSY.)

нет в наличии, поставок нет
15 0438793

   (последний код) KIT AY,FUEL CONN

нет в наличии, поставок нет
16 0330996

Сальник, Топливный коннектор (SEAL, Fuel connector)

нет в наличии, поставок нет
17 0

DRAIN Шланг, 1 3 / 4 дюйм (45 мм) Cut from 310828, 1 / 4 дюйм I.D. "C" Suffix Models Only (DRAIN HOSE, 1 3/4 in. (45mm). Cut from 310828, 1/4 in. I.D. "C" Suffix Models Only)

нет в наличии, поставок нет
17 0336225

DRAIN Шланг. "G" Suffix Models Only (DRAIN HOSE. "G" Suffix Models Only)

нет в наличии, поставок нет
18 0337392

Винт, Крышкаs, middle & нижний , M6 (SCREW, Covers, middle & lower, M6)

нет в наличии, поставок нет
19 0304376

Шайба (WASHER)

нет в наличии, поставок нет
20 0433514

HANDLE в сборе. (HANDLE ASSY.)

нет в наличии, поставок нет
21 0320107

Крепёжный хомут (TIE STRAP)

нет в наличии, поставок нет
21 5035626

   (последний код) BAND,REM CON

нет в наличии, поставок нет
22 0335570

LATCH (LATCH)

нет в наличии, поставок нет
23 0328724

Винт, Handle (SCREW, Handle)

нет в наличии, поставок нет
23 3852186

   (последний код) SCREW

нет в наличии, поставок нет
24 0330234

Шайба, Винт to handle (WASHER, Screw to handle)

нет в наличии, поставок нет
25 0332413

Крепление, Крышкаs to crkc. & exh. hsg. (MOUNT, Covers to crkc. & exh. hsg.)

нет в наличии, поставок нет
26 0436223

Пыльник, Выхлоп relief (GROMMET, Exhaust relief)

нет в наличии, поставок нет
27 0331639

Гайка, Choke Кабели (NUT, Choke cable)

нет в наличии, поставок нет
28 0338562

Винт струбцины тросика, M6. AC Models Remote Models TNT Models TEL Models (SCREW, Cable clamp, M6. AC Models Remote Models TNT Models TEL Models)

нет в наличии, поставок нет
29 0341245

Струбцина, Электрика Кабелиs. AC Models Remote Models TNT Models TEL Models (CLAMP, Electrical cables. AC Models Remote Models TNT Models TEL Models)

нет в наличии, поставок нет
30 0436857

Заглушка & NOZZLE в сборе. (PLUG & NOZZLE ASSY.)

нет в наличии, поставок нет
30 0336217

   (последний код) NOZZLE,OVBD DRAIN

нет в наличии, поставок нет
31 0301967

Уплотнительное кольцо, Overboard Индикатор (O-RING, Overboard indicator)

нет в наличии, поставок нет
32 0335530

Язычковый клапан (REED VALVE)

нет в наличии, поставок нет
33 0335694

Переключатель HOLE Заглушка. Шнур Models AC Models Remote Models TEL Models (SWITCH HOLE PLUG. Rope Models AC Models Remote Models TEL Models)

нет в наличии, поставок нет
33 0334833

   (последний код) PLUG

нет в наличии, поставок нет
34 0336417

Фиксатор, Кабели to Кронштейн (RETAINER, Cable to bracket)

нет в наличии, поставок нет
35 0336136

Струбцина (CLAMP)

нет в наличии, поставок нет
36 0328701

Шайба с блокировкой (LOCK WASHER)

нет в наличии, поставок нет
36 3852182

   (последний код) WASHER,LOCK

нет в наличии, поставок нет
evinrude

Время выполнения запроса 1.591304063797 сек.


 
 

данный сайт носит информационный характер и не является публичной офертой

склад запчастей для водомоторной техники