вконтакте

Контактный телефон: +7 (981) 121-46-93, +7 (800) 200-90-76 , Email: parts-katalog@yandex.ru, где купить

 
 

  Логин:

Пароль:

Регистрация

www.partskatalog.ru Все каталоги Запчасти Mercury Запчасти Suzuki Запчасти Tohatsu Запчасти Honda Контакты



УВАЖАЕМЫЕ КЛИЕНТЫ!
C 31 ОКТЯБРЯ 2025 ПО 10 НОЯБРЯ 2025 ГОДА РАБОТАТЬ НЕ БУДЕМ




Все разделы каталога запчастей на этот двигатель

назад Раздел:   вперёд

вернуться к списку узлов и деталей

ДЕТАЛИРОВКА ДЛЯ МОДЕЛИ: EVINRUDE BE20SRLEDA 1996

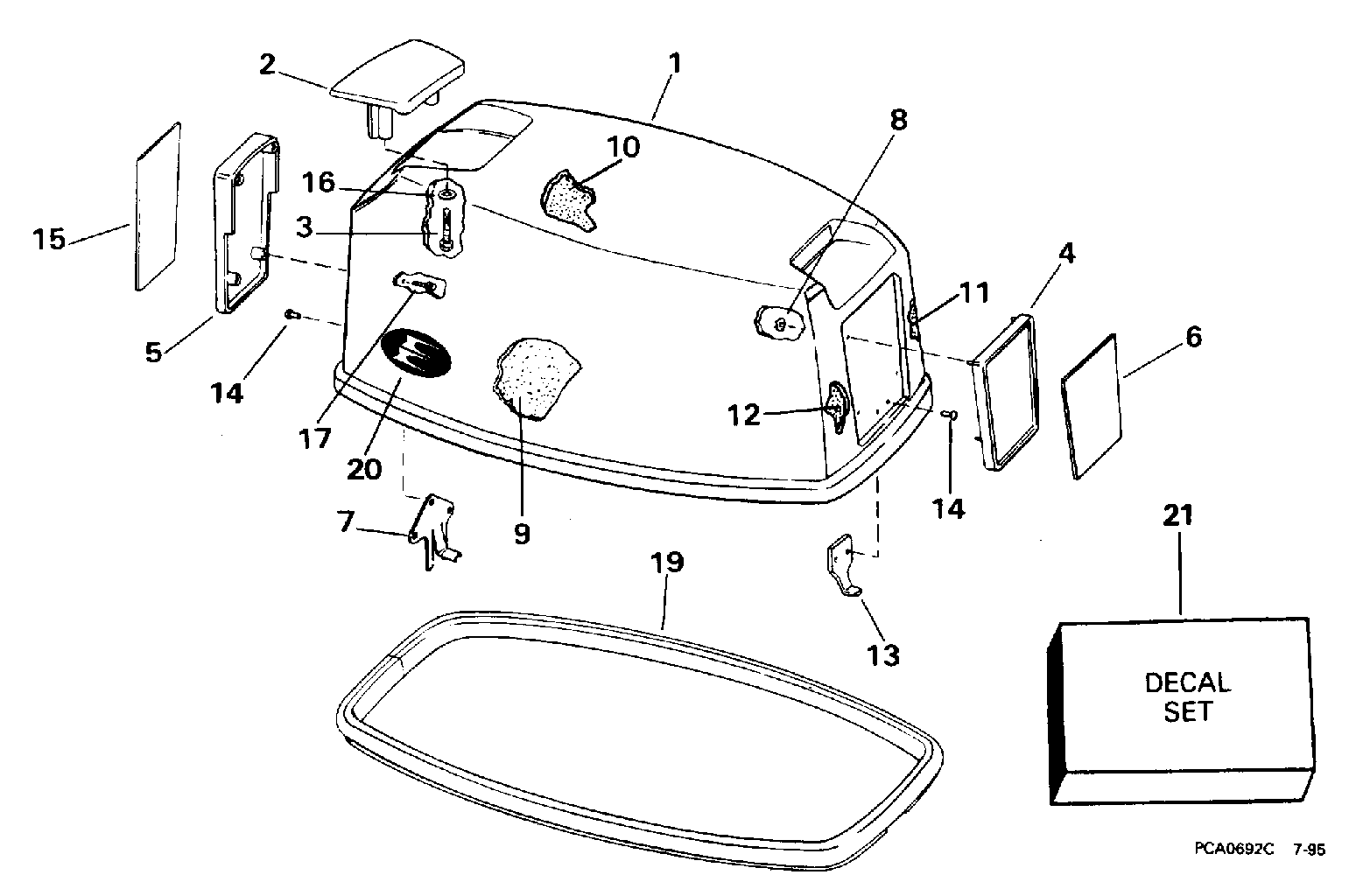
КРЫШКА ДВИГАТЕЛЯ (КАПОТ) - EVINRUDE | ENGINE COVER - EVINRUDE;


Лодочный мотор Эвинруд BE20SRLEDA 1996  - Evinrude - Evinrude

Номер на
рисунке
АртикулНаименованиеКол-во
на складе
Цена
1 0284708

Крышка двигателя (капот) в сборе.. 20SR - 20SRL (ENGINE COVER ASSY.. 20SR - 20SRL)

нет в наличии, поставок нет
1 0285312

   (последний код) COVER AY,MOTOR-UPR

нет в наличии, поставок нет
1 0284709

Крышка двигателя (капот) в сборе.. 25RA - 25RAL - 25BA - 25BAL - 25RD - 25BR - 25BRL (ENGINE COVER ASSY.. 25RA - 25RAL - 25BA - 25BAL - 25RD - 25BR - 25BRL)

нет в наличии, поставок нет
1 0285312

   (последний код) COVER AY,MOTOR-UPR

нет в наличии, поставок нет
1 0284710

Крышка двигателя (капот) в сборе.. 30BA - 30BAL (ENGINE COVER ASSY.. 30BA - 30BAL)

нет в наличии, поставок нет
1 0285312

   (последний код) COVER AY,MOTOR-UPR

нет в наличии, поставок нет
2 0208399

Рукоятка наклона (TILT HANDLE)

нет в наличии, поставок нет
3 0330838

Винт, Рукоятка наклона (SCREW, Tilt handle)

нет в наличии, поставок нет
3 0329268

   (последний код) SCREW

нет в наличии, поставок нет
4 0210965

Рама, Front (FRAME, Front)

нет в наличии, поставок нет
5 0210973

Рама, Rear (FRAME, Rear)

нет в наличии, поставок нет
6 0211504

Пластина, Рама, front, 20. 20SR - 20SRL (PLATE, Frame, front, 20. 20SR - 20SRL)

нет в наличии, поставок нет
6 0212711

Пластина, Рама, front, 25. 25RA - 25RAL - 25BA - 25BAL - 25RD - 25BR - 25BRL (PLATE, Frame, front, 25. 25RA - 25RAL - 25BA - 25BAL - 25RD - 25BR - 25BRL)

нет в наличии, поставок нет
6 0212719

   (последний код) PLATE

нет в наличии, поставок нет
6 0212713

Пластина, Рама, front, 30. 30BA - 30BAL (PLATE, Frame, front, 30. 30BA - 30BAL)

нет в наличии, поставок нет
7 0329635

Крючок капота двигателя, rear (HOOK, Engine cover, rear)

нет в наличии, поставок нет
7 0316171

   (последний код) ANCHOR BLOCK

нет в наличии, поставок нет
8 0317223

Гайка, Push-on (NUT, Push-on)

нет в наличии, поставок нет
9 0341529

SOUND BLANKET, Stbd. (SOUND BLANKET, Stbd.)

нет в наличии, поставок нет
9 0211279

   (последний код) SOUND-BLANKE

нет в наличии, поставок нет
10 0341527

SOUND BLANKET, Top (SOUND BLANKET, Top)

нет в наличии, поставок нет
10 0211277

   (последний код) SOUND-BLANKE

нет в наличии, поставок нет
11 0341528

SOUND BLANKET, Port (SOUND BLANKET, Port)

нет в наличии, поставок нет
11 0211278

   (последний код) SOUND BLANKET

нет в наличии, поставок нет
12 0341530

SOUND BLANKET, Front (SOUND BLANKET, Front)

нет в наличии, поставок нет
12 0211280

   (последний код) SOUND-BLANKE

нет в наличии, поставок нет
13 0207482

Крючок капота двигателя, front (HOOK, Engine cover, front)

нет в наличии, поставок нет
13 0206656

   (последний код) HOOK

нет в наличии, поставок нет
14 0554355

Заклёпка (RIVET)

нет в наличии, поставок нет
14 0544355

   (последний код) RIVET

нет в наличии, поставок нет
15 0211453

Пластина, Рама, rear, 20. 20SR - 20SRL (PLATE, Frame, rear, 20. 20SR - 20SRL)

нет в наличии, поставок нет
15 0212712

Пластина, Рама, rear, 25. 25RA - 25RAL - 25BA - 25BAL - 25RD - 25BR - 25BRL (PLATE, Frame, rear, 25. 25RA - 25RAL - 25BA - 25BAL - 25RD - 25BR - 25BRL)

нет в наличии, поставок нет
15 0212720

   (последний код) PLATE

нет в наличии, поставок нет
15 0212714

Пластина, Рама, rear, 30. 30BA - 30BAL (PLATE, Frame, rear, 30. 30BA - 30BAL)

нет в наличии, поставок нет
16 0202150

Шайба, Рукоятка наклона (WASHER, Tilt handle)

нет в наличии, поставок нет
17 0334528

Винт, Рама Креплениеing, rear (SCREW, Frame mounting, rear)

нет в наличии, поставок нет
19 0316225

Резинка капота двигателя (SEAL, Engine cover)

нет в наличии, поставок нет
19 0326487

   (последний код) SEAL

нет в наличии, поставок нет
20 0212497

LENS, Ev., port & stbd.. 25RA - 25RAL - 25BA - 25BAL - 25RD - 25BR - 25BRL 30BA - 30BAL (LENS, Ev., port & stbd.. 25RA - 25RAL - 25BA - 25BAL - 25RD - 25BR - 25BRL 30BA - 30BAL)

нет в наличии, поставок нет
20 0212687

   (последний код) LENS,EV-LOGO

нет в наличии, поставок нет
21 0284329

Комплект наклеек. 20SR - 20SRL (DECAL SET. 20SR - 20SRL)

нет в наличии, поставок нет
21 0284330

   (последний код) DECAL AY,SET

нет в наличии, поставок нет
21 0284824

Комплект наклеек. 25RA - 25RAL - 25BA - 25BAL - 25RD - 25BR - 25BRL 30BA - 30BAL (DECAL SET. 25RA - 25RAL - 25BA - 25BAL - 25RD - 25BR - 25BRL 30BA - 30BAL)

нет в наличии, поставок нет
evinrude

Время выполнения запроса 1.3572471141815 сек.


 
 

данный сайт носит информационный характер и не является публичной офертой

склад запчастей для водомоторной техники