вконтакте

Контактный телефон: +7 (981) 121-46-93, +7 (800) 200-90-76 , Email: parts-katalog@yandex.ru, где купить

 
 

  Логин:

Пароль:

Регистрация

www.partskatalog.ru Все каталоги Запчасти Mercury Запчасти Suzuki Запчасти Tohatsu Запчасти Honda Контакты


Все разделы каталога запчастей на этот двигатель

назад Раздел:   вперёд

вернуться к списку узлов и деталей

ДЕТАЛИРОВКА ДЛЯ МОДЕЛИ: EVINRUDE BE15FAEDR 1996

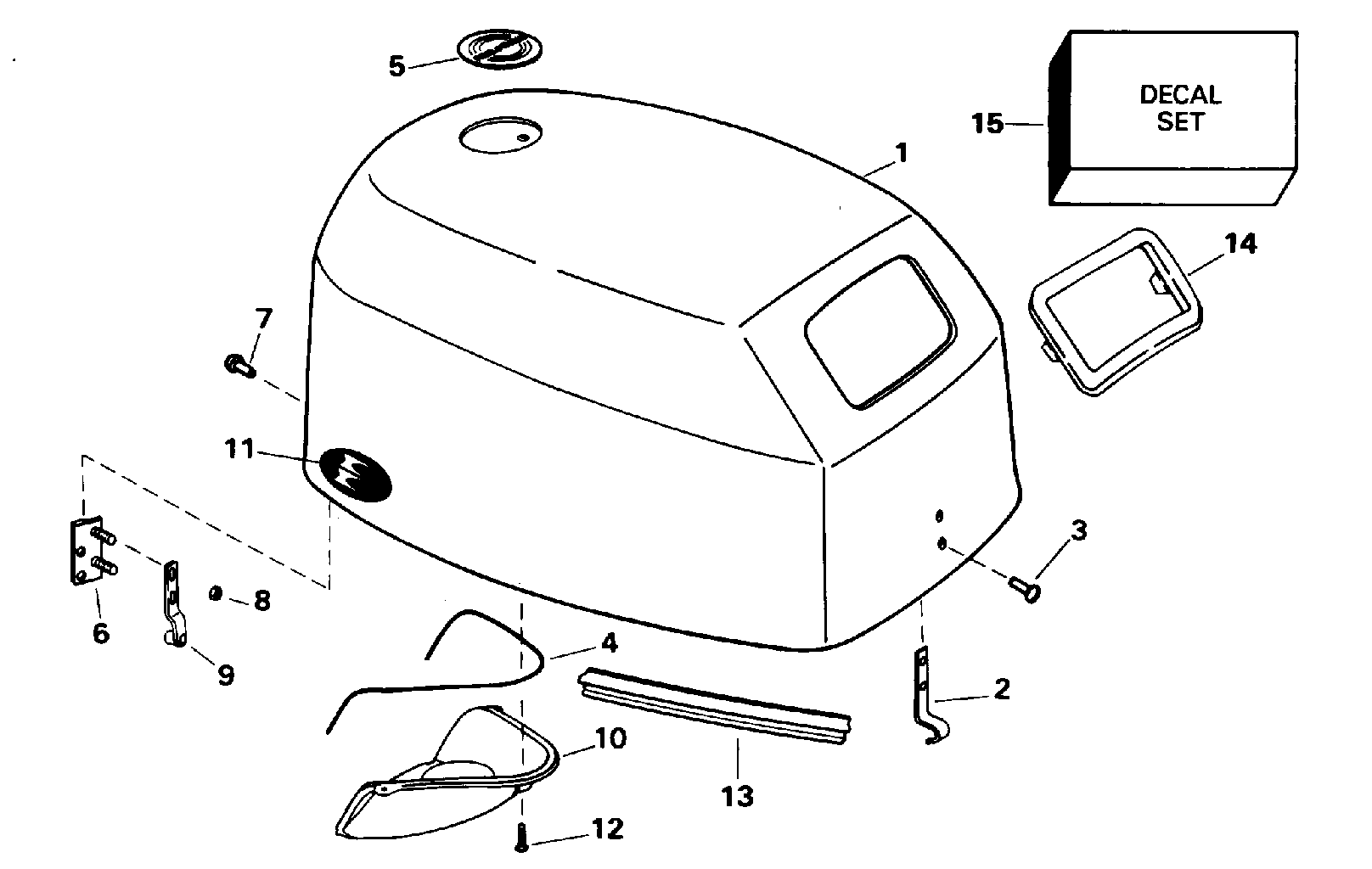
КРЫШКА ДВИГАТЕЛЯ (КАПОТ) - EVINRUDE | ENGINE COVER - EVINRUDE;


Подвесной мотор Эвинруд BE15FAEDR 1996  - Evinrude / Evinrude

Номер на
рисунке
АртикулНаименованиеКол-во
на складе
Цена
1 0284098

Крышка двигателя (капот) в сборе.. 9.9 Шнур Models голубой (ENGINE COVER ASSY.. 9.9 Rope Models Blue)

нет в наличии, поставок нет
1 0284647

Крышка двигателя (капот) в сборе.. 9.9 Electric Models белый (ENGINE COVER ASSY.. 9.9 Electric Models White)

нет в наличии, поставок нет
1 0284099

Крышка двигателя (капот) в сборе.. 15 Models белый (ENGINE COVER ASSY.. 15 Models White)

нет в наличии, поставок нет
1 0284707

Крышка двигателя (капот) в сборе.. 15 Models голубой (ENGINE COVER ASSY.. 15 Models Blue)

нет в наличии, поставок нет
1 0284935

   (последний код) MTR COVER 15 B

нет в наличии, поставок нет
1 0284901

Крышка двигателя (капот) в сборе.. E10FRL Only (ENGINE COVER ASSY.. E10FRL Only)

нет в наличии, поставок нет
1 0284851

Крышка двигателя (капот) в сборе., Cranberry. L10FREL Only (ENGINE COVER ASSY., Cranberry. L10FREL Only)

нет в наличии, поставок нет
1 0438865

Крышка двигателя (капот) в сборе.. No Наклейки. Use with Комплект наклеек Listed для Lund красный, зелёный, и голубой Models. (ENGINE COVER ASSY.. No Decals. Use with Decal Set Listed for Lund Red, Green, and Blue Models.)

нет в наличии, поставок нет
2 0436539

Крючок & Заклёпка, Front (HOOK & RIVET, Front)

нет в наличии, поставок нет
3 0339068

Заклёпка, Крючок (RIVET, Hook)

нет в наличии, поставок нет
4 0337446

Сальник, Baffle (SEAL, Baffle)

нет в наличии, поставок нет
5 0341125

LENS, Four stroke (LENS, Four stroke)

нет в наличии, поставок нет
6 0436605

Кронштейн & Шпилька (BRACKET & STUD)

нет в наличии, поставок нет
7 0339068

Заклёпка, Кронштейн to Крышка (RIVET, Bracket to cover)

нет в наличии, поставок нет
8 0341237

Гайка, Крючок to Кронштейн (NUT, Hook to bracket)

нет в наличии, поставок нет
9 0437119

Крючок в сборе., Rear (HOOK ASSY., Rear)

нет в наличии, поставок нет
10 0337800

BAFFLE (BAFFLE)

нет в наличии, поставок нет
11 0212497

LENS, Ev., port & stbd.. 9.9 Шнур Models 15 Models голубой (LENS, Ev., port & stbd.. 9.9 Rope Models 15 Models Blue)

нет в наличии, поставок нет
11 0212687

   (последний код) LENS,EV-LOGO

нет в наличии, поставок нет
12 0337541

Винт, Baffle (SCREW, Baffle)

нет в наличии, поставок нет
12 0328649

   (последний код) SCREW

нет в наличии, поставок нет
13 0341502

Сальник, Крышка (SEAL, Cover)

нет в наличии, поставок нет
14 0338331

Сальник, Корпус стартера (SEAL, Starter housing)

нет в наличии, поставок нет
15 0284820

Комплект наклеек. 9.9 Шнур Models голубой (DECAL SET. 9.9 Rope Models Blue)

нет в наличии, поставок нет
15 0284822

Комплект наклеек. 9.9 Electric Models белый E10FRL Only (DECAL SET. 9.9 Electric Models White E10FRL Only)

нет в наличии, поставок нет
15 0284823

Комплект наклеек. 15 Models белый (DECAL SET. 15 Models White)

нет в наличии, поставок нет
15 0284821

Комплект наклеек. 15 Models голубой (DECAL SET. 15 Models Blue)

нет в наличии, поставок нет
15 0284859

Комплект наклеек, Cranberry. L10FREL Only (DECAL SET, Cranberry. L10FREL Only)

нет в наличии, поставок нет
15 0284967

Комплект наклеек, красный. L10FREL Only (DECAL SET, Red. L10FREL Only)

нет в наличии, поставок нет
15 0284968

Комплект наклеек, зелёный. L10FREL Only (DECAL SET, Green. L10FREL Only)

нет в наличии, поставок нет
15 0284969

Комплект наклеек, голубой. L10FREL Only (DECAL SET, Blue. L10FREL Only)

нет в наличии, поставок нет
evinrude

Время выполнения запроса 4.1615312099457 сек.


 
 

данный сайт носит информационный характер и не является публичной офертой

склад запчастей для водомоторной техники