вконтакте

Контактный телефон: +7 (981) 121-46-93, +7 (800) 200-90-76 , Email: parts-katalog@yandex.ru, где купить

 
 

  Логин:

Пароль:

Регистрация

www.partskatalog.ru Все каталоги Запчасти Mercury Запчасти Suzuki Запчасти Tohatsu Запчасти Honda Контакты



УВАЖАЕМЫЕ КЛИЕНТЫ!
C 31 ОКТЯБРЯ 2025 ПО 10 НОЯБРЯ 2025 ГОДА РАБОТАТЬ НЕ БУДЕМ




Все разделы каталога запчастей на этот двигатель

назад Раздел:   вперёд

вернуться к списку узлов и деталей

ДЕТАЛИРОВКА ДЛЯ МОДЕЛИ: EVINRUDE BE15FWEDC 1996

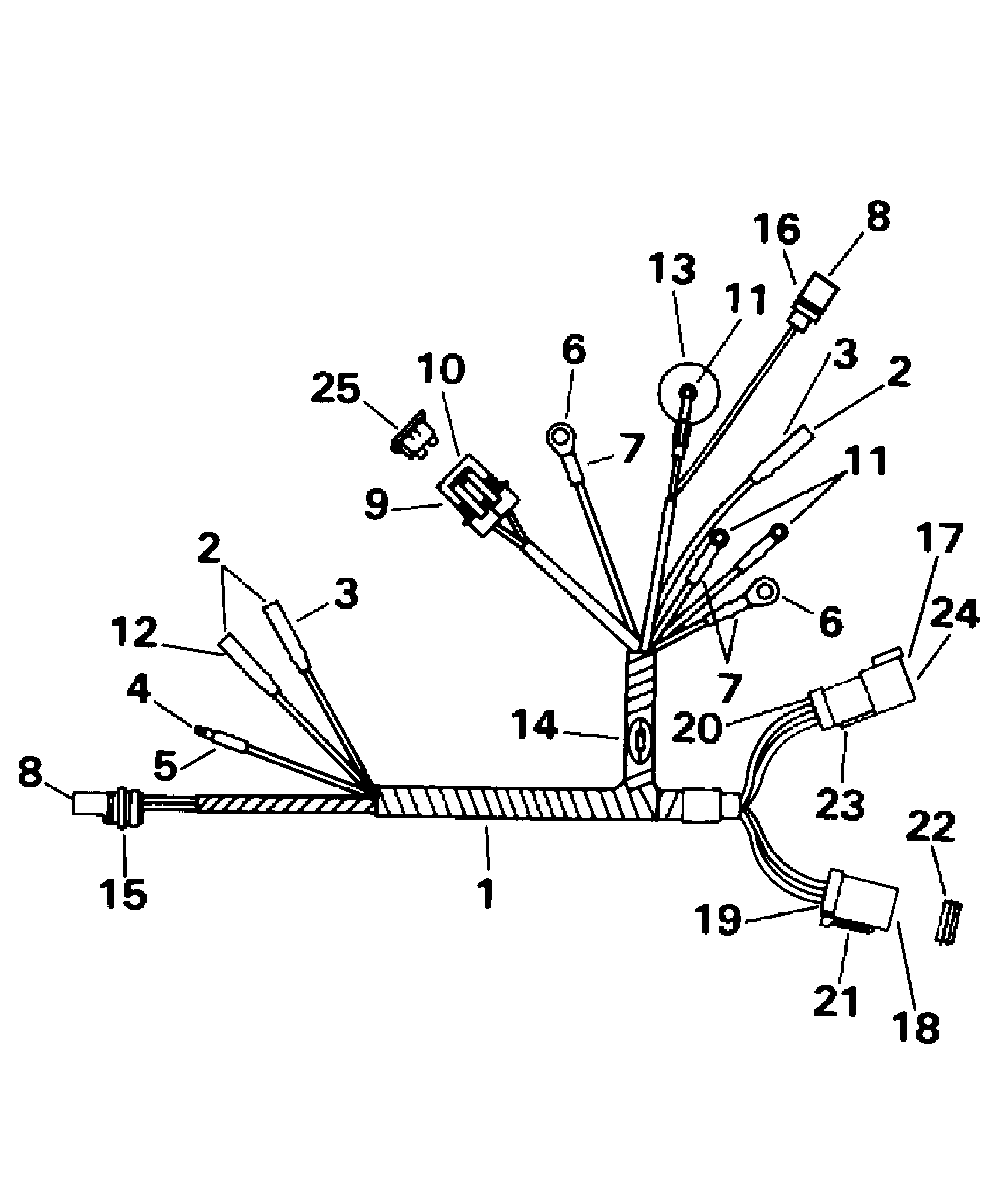
MOTOR КАБЕЛИ - REMOTE ELECTRIC | MOTOR CABLE - REMOTE ELECTRIC;


Лодочный подвесной мотор EVINRUDE BE15FWEDC 1996  - Remote Electric / Remote Electric

Номер на
рисунке
АртикулНаименованиеКол-во
на складе
Цена
1 0586141

MOTOR Кабели (MOTOR CABLE)

нет в наличии, поставок нет
1 0585091

   (последний код) CABLE AY,MOTOR

нет в наличии, поставок нет
2 0512876

Клемма, Socket (TERMINAL, Socket)

нет в наличии, поставок нет
2 3852244

   (последний код) TERMINAL,SOC

нет в наличии, поставок нет
3 0513186

Гильза (SLEEVE)

нет в наличии, поставок нет
3 3852248

   (последний код) SLEEVE,SKT-B

нет в наличии, поставок нет
4 0512947

Клемма, Bullet (TERMINAL, Bullet)

нет в наличии, поставок нет
4 0910462

   (последний код) TERM.-60766-

нет в наличии, поставок нет
5 0513185

Гильза (SLEEVE)

нет в наличии, поставок нет
5 0512948

   (последний код) SLEEVE

нет в наличии, поставок нет
6 0510818

Клемма, Кольцо (TERMINAL, Ring)

нет в наличии, поставок нет
6 3854243

   (последний код) TERMINAL,RIN

нет в наличии, поставок нет
7 0510781

Трубопровод (TUBING)

нет в наличии, поставок нет
8 0581656

Клемма, Socket (TERMINAL, Socket)

нет в наличии, поставок нет
8 3852257

   (последний код) TERMINAL AY,SCKT

нет в наличии, поставок нет
9 0514033

Коннектор (CONNECTOR)

нет в наличии, поставок нет
10 0514035

Клемма (TERMINAL)

нет в наличии, поставок нет
10 3858186

   (последний код) TERMINAL

нет в наличии, поставок нет
11 0510904

Клемма, Кольцо (TERMINAL, Ring)

нет в наличии, поставок нет
12 0126664

Гильза (SLEEVE)

нет в наличии, поставок нет
13 0446166

Крышка (COVER)

нет в наличии, поставок нет
14 0583898

DIODE KIT в сборе. (DIODE KIT ASSY.)

нет в наличии, поставок нет
14 3852258

   (последний код) KIT-AY,DIODE

нет в наличии, поставок нет
15 0512747

Коннектор, 3-socket (CONNECTOR, 3-socket)

нет в наличии, поставок нет
15 3852239

   (последний код) CONN,3-SKT-P

нет в наличии, поставок нет
16 0513356

Коннектор (CONNECTOR)

нет в наличии, поставок нет
17 0514679

Клемма, Штифт (TERMINAL, Pin)

нет в наличии, поставок нет
18 0514680

Клемма, Socket (TERMINAL, Socket)

нет в наличии, поставок нет
19 0514683

LOCK WEDGE, Заглушка (LOCK WEDGE, Plug)

нет в наличии, поставок нет
20 0514684

LOCK WEDGE (LOCK WEDGE)

нет в наличии, поставок нет
21 0514687

Коннектор, 6-Заглушка (CONNECTOR, 6-plug)

нет в наличии, поставок нет
22 0514790

Сальник (SEAL)

нет в наличии, поставок нет
23 0514688

Коннектор (CONNECTOR)

нет в наличии, поставок нет
24 0514690

Заглушка, Сальник (PLUG, Seal)

нет в наличии, поставок нет
25 0514021

Предохранитель, 20 Amp (FUSE, 20 Amp)

нет в наличии, поставок нет
evinrude

Время выполнения запроса 0.7648389339447 сек.


 
 

данный сайт носит информационный характер и не является публичной офертой

склад запчастей для водомоторной техники