вконтакте

Контактный телефон: +7 (981) 121-46-93, +7 (800) 200-90-76 , Email: parts-katalog@yandex.ru, где купить

 
 

  Логин:

Пароль:

Регистрация

www.partskatalog.ru Все каталоги Запчасти Mercury Запчасти Suzuki Запчасти Tohatsu Запчасти Honda Контакты



УВАЖАЕМЫЕ КЛИЕНТЫ!
C 19 ДЕКАБРЯ 2025 ПО 02 МАРТА 2026 ГОДА ОТДЕЛ ЗАПЧАСТЕЙ И СЕРВИС РАБОТАТЬ НЕ БУДУТ
ПРОДАЖА ЛОДОЧНЫХ МОТОРОВ В ШТАТНОМ РЕЖИМЕ
ОБ ИЗМЕНЕНИЯХ В ГРАФИКЕ РАБОТЫ ЧИТАЙТЕ НА САЙТА




Все разделы каталога запчастей на этот двигатель

назад Раздел:   вперёд

вернуться к списку узлов и деталей

ДЕТАЛИРОВКА ДЛЯ МОДЕЛИ: EVINRUDE E85TTLEOR 1995

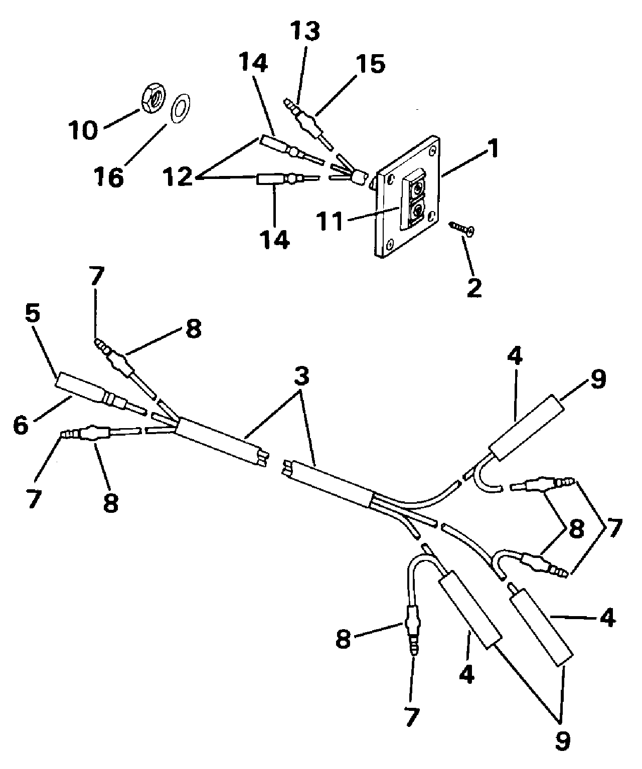
REMOTE TILT ПЕРЕКЛЮЧАТЕЛЬ KIT - 85 MODELS | REMOTE TILT SWITCH KIT - 85 MODELS;


Лодочный подвесной мотор EVINRUDE E85TTLEOR 1995  - 85 Models - 85 Models

Номер на
рисунке
АртикулНаименованиеКол-во
на складе
Цена
0174835 0174835

TILT Переключатель KIT. Not Shown (TILT SWITCH KIT. Not Shown)

нет в наличии, поставок нет
1 0124997

BEZEL, Переключатель (BEZEL, Switch)

нет в наличии, поставок нет
2 0125308

Винт, Креплениеing (SCREW, Mounting)

нет в наличии, поставок нет
3 0175202

Кабели ASSEMBLY (CABLE ASSEMBLY)

нет в наличии, поставок нет
4 0512260

Гильза, Внешняя розетка (SLEEVE, Receptacle)

нет в наличии, поставок нет
5 0512876

Клемма, Socket (TERMINAL, Socket)

нет в наличии, поставок нет
5 3852244

   (последний код) TERMINAL,SOC

нет в наличии, поставок нет
6 0513186

Гильза, Внешняя розетка (SLEEVE, Receptacle)

нет в наличии, поставок нет
6 3852248

   (последний код) SLEEVE,SKT-B

нет в наличии, поставок нет
7 0512947

Клемма, Bullet (TERMINAL, Bullet)

нет в наличии, поставок нет
7 0910462

   (последний код) TERM.-60766-

нет в наличии, поставок нет
8 0513185

Гильза, Bullet Клемма (SLEEVE, Bullet terminal)

нет в наличии, поставок нет
8 0512948

   (последний код) SLEEVE

нет в наличии, поставок нет
9 0513851

Клемма, Socket (TERMINAL, Socket)

нет в наличии, поставок нет
9 0513782

   (последний код) TERMINAL,SOC

нет в наличии, поставок нет
10 0334656

Гайка, Креплениеing (NUT, Mounting)

нет в наличии, поставок нет
11 0584841

Переключатель ASSEMBLY (SWITCH ASSEMBLY)

нет в наличии, поставок нет
11 0585146

   (последний код) SWITCH AY,T&T

нет в наличии, поставок нет
12 0512876

Клемма, Socket (TERMINAL, Socket)

нет в наличии, поставок нет
12 3852244

   (последний код) TERMINAL,SOC

нет в наличии, поставок нет
13 0512947

Клемма, Bullet (TERMINAL, Bullet)

нет в наличии, поставок нет
13 0910462

   (последний код) TERM.-60766-

нет в наличии, поставок нет
14 0513186

Гильза, Внешняя розетка (SLEEVE, Receptacle)

нет в наличии, поставок нет
14 3852248

   (последний код) SLEEVE,SKT-B

нет в наличии, поставок нет
15 0513185

Гильза, Bullet Клемма (SLEEVE, Bullet terminal)

нет в наличии, поставок нет
15 0512948

   (последний код) SLEEVE

нет в наличии, поставок нет
16 0313219

Монтажная шайба (WASHER, Mounting)

нет в наличии, поставок нет
evinrude

Время выполнения запроса 0.81168913841248 сек.


 
 

данный сайт носит информационный характер и не является публичной офертой

склад запчастей для водомоторной техники