вконтакте

Контактный телефон: +7 (981) 121-46-93, +7 (800) 200-90-76 , Email: parts-katalog@yandex.ru, где купить

 
 

  Логин:

Пароль:

Регистрация

www.partskatalog.ru Все каталоги Запчасти Mercury Запчасти Suzuki Запчасти Tohatsu Запчасти Honda Контакты


Все разделы каталога запчастей на этот двигатель

назад Раздел:   вперёд

вернуться к списку узлов и деталей

ДЕТАЛИРОВКА ДЛЯ МОДЕЛИ: EVINRUDE E15ELETB 1993

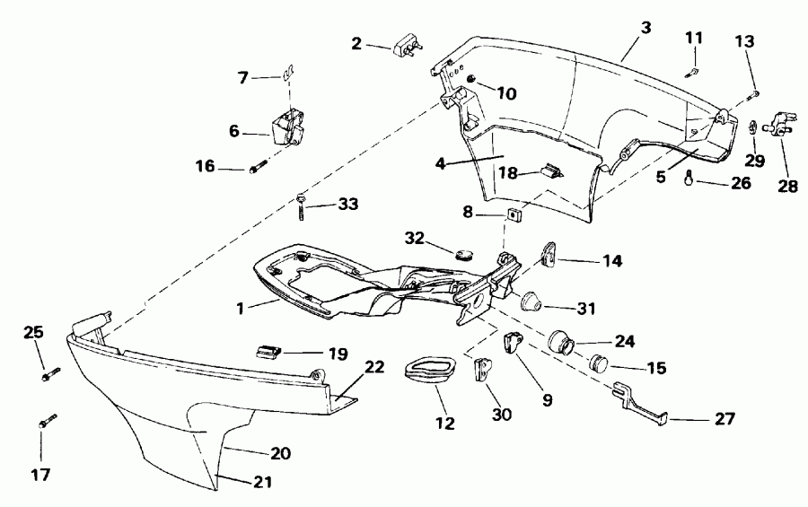
НИЖНЯЯ КРЫШКА ДВИГАТЕЛЯ | LOWER ENGINE COVER;


 Эвинруд E15ELETB 1993  - wer Engine Cover

Номер на
рисунке
АртикулНаименованиеКол-во
на складе
Цена
1 0338210

Кронштейн, Panel (BRACKET, Panel)

нет в наличии, поставок нет
2 0336116

Бампер, Крышка. для Сервис on 9.9&15HP use kit 437329 для Сервис on 5, 6& 8HP use kit 437615 (BUMPER, Cover. For service on 9.9&15HP use kit 437329 For service on 5,6& 8HP use kit 437615)

нет в наличии, поставок нет
3 0436362

Крышка двигателя (капот), нижний , port (ENGINE COVER, Lower, port)

нет в наличии, поставок нет
3 5007234

   (последний код) KIT,LMC PORT&STBD

нет в наличии, поставок нет
4 0339997

SOUND BLANKET, нижний , rear (SOUND BLANKET, Lower, rear)

нет в наличии, поставок нет
5 0339999

SOUND BLANKET, верхний , front (SOUND BLANKET, Upper, front)

нет в наличии, поставок нет
6 0435818

LATCH, верхний to Нижняя часть корпуса (LATCH, Upper to lower cover)

нет в наличии, поставок нет
6 0434730

   (последний код) LATCH-AY

нет в наличии, поставок нет
7 0335966

Пружина, Latch (SPRING, Latch)

нет в наличии, поставок нет
8 0308824

Гайка, Винт (NUT, Screw)

нет в наличии, поставок нет
8 0306542

   (последний код) NUT

нет в наличии, поставок нет
9 0338213

Пыльник ручки заслонки. TE Models Шнур Models (GROMMET, Choke knob. TE Models Rope Models)

нет в наличии, поставок нет
10 0328712

Гайка, Винт, rear (NUT, Screw, rear)

нет в наличии, поставок нет
10 3852185

   (последний код) NUT

нет в наличии, поставок нет
11 0340071

Винт, Крышка, middle (SCREW, Cover, middle)

нет в наличии, поставок нет
12 0338242

Пыльник, Переключающая тяга, bottom (GROMMET, Shift rod, bottom)

нет в наличии, поставок нет
13 0340071

Винт, Крышка to Кронштейн (SCREW, Cover to bracket)

нет в наличии, поставок нет
14 0338288

Пыльник, Battery & instrument Кабели. Remote Models (GROMMET, Battery & instrument cable. Remote Models)

нет в наличии, поставок нет
14 0338212

Пыльник, Кабель аккумулятораs. TE Models (GROMMET, Battery cables. TE Models)

нет в наличии, поставок нет
14 0338246

Пыльник, Кабель аккумулятора Заглушка. Шнур Models (GROMMET, Battery cable plug. Rope Models)

нет в наличии, поставок нет
15 0338287

Пыльник, Переключающая тяга hole. Remote Models (GROMMET, Shift rod hole. Remote Models)

нет в наличии, поставок нет
15 0342114

   (последний код) PLUG

нет в наличии, поставок нет
16 0330838

Винт, Latch to Крышка (SCREW, Latch to cover)

нет в наличии, поставок нет
16 0329268

   (последний код) SCREW

нет в наличии, поставок нет
17 0340071

Винт, Крышка, rear, нижний (SCREW, Cover, rear, lower)

нет в наличии, поставок нет
18 0338202

Сальник, Крышка to Кронштейн, port (SEAL, Cover to bracket, port)

нет в наличии, поставок нет
19 0338286

Сальник, Крышка to Кронштейн, starboard (SEAL, Cover to bracket, starboard)

нет в наличии, поставок нет
20 0436363

Крышка двигателя (капот), нижний , starboard (ENGINE COVER, Lower, starboard)

нет в наличии, поставок нет
20 5007234

   (последний код) KIT,LMC PORT&STBD

нет в наличии, поставок нет
21 0339998

SOUND BLANKET, нижний , rear (SOUND BLANKET, Lower, rear)

нет в наличии, поставок нет
22 0340000

SOUND BLANKET, верхний , front (SOUND BLANKET, Upper, front)

нет в наличии, поставок нет
24 0338300

Пыльник, Переключающая тяга, front. TE Models Шнур Models (GROMMET, Shift rod, front. TE Models Rope Models)

нет в наличии, поставок нет
25 0338232

Винт, Крышка, rear, верхний (SCREW, Cover, rear, upper)

нет в наличии, поставок нет
26 0336165

Винт, Топливный коннектор (SCREW, Fuel connector)

нет в наличии, поставок нет
26 5030329

   (последний код) BOLT,FUEL CONN PL

нет в наличии, поставок нет
27 0338241

CHOKE Рычаг. TE Models Шнур Models (CHOKE LEVER. TE Models Rope Models)

нет в наличии, поставок нет
28 0432712

Топливный коннектор в сборе. (FUEL CONNECTOR ASSY.)

нет в наличии, поставок нет
28 0438793

   (последний код) KIT AY,FUEL CONN

нет в наличии, поставок нет
29 0330996

Сальник, Топливный коннектор (SEAL, Fuel connector)

нет в наличии, поставок нет
30 0339931

Пыльник, Переключатель & Тросик дросселяs. Remote Models (GROMMET, Shift & throttle cables. Remote Models)

нет в наличии, поставок нет
31 0339287

Пыльник тросика дросселя. TE Models Шнур Models (GROMMET, Throttle cable. TE Models Rope Models)

нет в наличии, поставок нет
32 0338289

Пыльник, Переключатель Проводs. TE Models (GROMMET, Switch wires. TE Models)

нет в наличии, поставок нет
32 0338290

Пыльник, Переключатель Провод hole. Remote Models Шнур Models (GROMMET, Switch wire hole. Remote Models Rope Models)

нет в наличии, поставок нет
33 0335687

Винт, Кронштейн to exh. hsg. (SCREW, Bracket to exh. hsg.)

нет в наличии, поставок нет
33 3852213

   (последний код) SCREW

нет в наличии, поставок нет
evinrude

Время выполнения запроса 1.5951318740845 сек.


 
 

данный сайт носит информационный характер и не является публичной офертой

склад запчастей для водомоторной техники