Номер на   рисунке | Артикул | Наименование | Кол-во   на складе | Цена | 
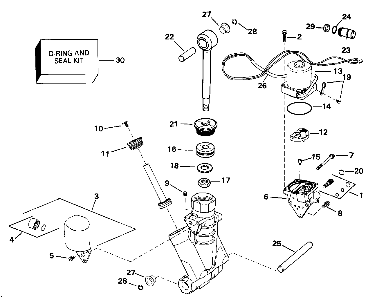
|  0434397  | 0434397 | HYDRAULIC в сборе.. Not Shown (HYDRAULIC ASSY.. Not Shown)  | нет в наличии, поставок нет | 
|  0434397  | 5006421 |    (последний код) HYD AY,(YE)FASTRAK                                                                | нет в наличии, поставок нет | 
|  1  | 0435340 | ручной RELEASE Клапан & Сальник AY (MANUAL RELEASE VALVE & SEAL AY)  | нет в наличии, поставок нет | 
|  2  | 0337494 | Винт, Motor to Коллектор (SCREW, Motor to manifold)  | нет в наличии, поставок нет | 
|  3  | 0435341 | Резервуар & Колпачок AY. (RESERVOIR & CAP AY.)  | нет в наличии, поставок нет | 
|  4  | 0435342 | Колпачок & Уплотнительное кольцо AY. (CAP & O-RING AY.)  | нет в наличии, поставок нет | 
|  5  | 0336746 | Винт, Резервуар to Коллектор (SCREW, Reservoir to manifold)  | нет в наличии, поставок нет | 
|  6  | 0435343 | Клапан Корпус в сборе. (VALVE BODY ASSY.)  | нет в наличии, поставок нет | 
|  7  | 0337495 | Винт, Клапан Корпус, long (SCREW, Valve body, long)  | нет в наличии, поставок нет | 
|  8  | 0337517 | Винт, Клапан Корпус, short (SCREW, Valve body, short)  | нет в наличии, поставок нет | 
|  9  | 0337530 | Заглушка, Screen (PLUG, Screen)  | нет в наличии, поставок нет | 
|  10  | 0337496 | THRUST PAD (THRUST PAD)  | нет в наличии, поставок нет | 
|  11  | 0435345 | TRIM Тяга END Колпачок & Сальник AY. (TRIM ROD END CAP & SEAL AY.)  | нет в наличии, поставок нет | 
|  12  | 0337497 | Фильтр AY. (FILTER AY.)  | нет в наличии, поставок нет | 
|  13  | 0434496 | MOTOR & Уплотнительное кольцо AY. (MOTOR & O-RING AY.)  | нет в наличии, поставок нет | 
|  13  | 5005376 |    (последний код) MOTOR & O-RING AY                                                                 | нет в наличии, поставок нет | 
|  14  | 0321163 | Уплотнительное кольцо (O-RING)  | нет в наличии, поставок нет | 
|  14  | 3852166 |    (последний код) O-RING                                                                            | нет в наличии, поставок нет | 
|  15  | 0914053 | DRIVE, Помпа (DRIVE, pump)  | нет в наличии, поставок нет | 
|  15  | 3852982 |    (последний код) COUPLING,PUM                                                                      | нет в наличии, поставок нет | 
|  16  | 0435264 | Поршень в сборе. (PISTON ASSY.)  | нет в наличии, поставок нет | 
|  17  | 0337536 | Гайка (NUT)  | нет в наличии, поставок нет | 
|  17  | 0324390 |    (последний код) NUT                                                                               | нет в наличии, поставок нет | 
|  18  | 0337535 | Шайба (WASHER)  | нет в наличии, поставок нет | 
|  18  | 0324385 |    (последний код) WASHER                                                                            | нет в наличии, поставок нет | 
|  19  | 0435261 | Струбцина & Винт в сборе. (CLAMP & SCREW ASSY.)  | нет в наличии, поставок нет | 
|  20  | 0914069 | Стопорное кольцо (RETAINING RING)  | нет в наличии, поставок нет | 
|  20  | 3852997 |    (последний код) RETAINING RING                                                                    | нет в наличии, поставок нет | 
|  21  | 0390006 | Колпачок в сборе (CAP ASSY.)  | нет в наличии, поставок нет | 
|  22  | 0335480 | Штифт, Цилиндр наклона (PIN, Tilt cylinder)  | нет в наличии, поставок нет | 
|  23  | 0513664 | Коннектор, Motor (CONNECTOR, Motor)  | нет в наличии, поставок нет | 
|  23  | 3852250 |    (последний код) CONN,2-CONT                                                                       | нет в наличии, поставок нет | 
|  24  | 0911729 | Уплотнительное кольцо (O-RING)  | нет в наличии, поставок нет | 
|  25  | 0335463 | Тяга, нижний  Крепление (ROD, Lower mount)  | нет в наличии, поставок нет | 
|  26  | 0513816 | Гильза, Motor leads (SLEEVE, Motor leads)  | нет в наличии, поставок нет | 
|  27  | 0335479 | Втулка, верх и низ Крепление (BUSHING, Upper & lower mount)  | нет в наличии, поставок нет | 
|  28  | 0336534 | Стопорное кольцо (RETAINING RING)  | нет в наличии, поставок нет | 
|  29  | 0513665 | Заглушка, Сальник (PLUG, Seal)  | нет в наличии, поставок нет | 
|  29  | 3852251 |    (последний код) PLUG,CONN SEAL                                                                    | нет в наличии, поставок нет | 
|  30  | 0434519 | Уплотнительное кольцо & Комплект сальников (O-RING & SEAL KIT)  | нет в наличии, поставок нет |