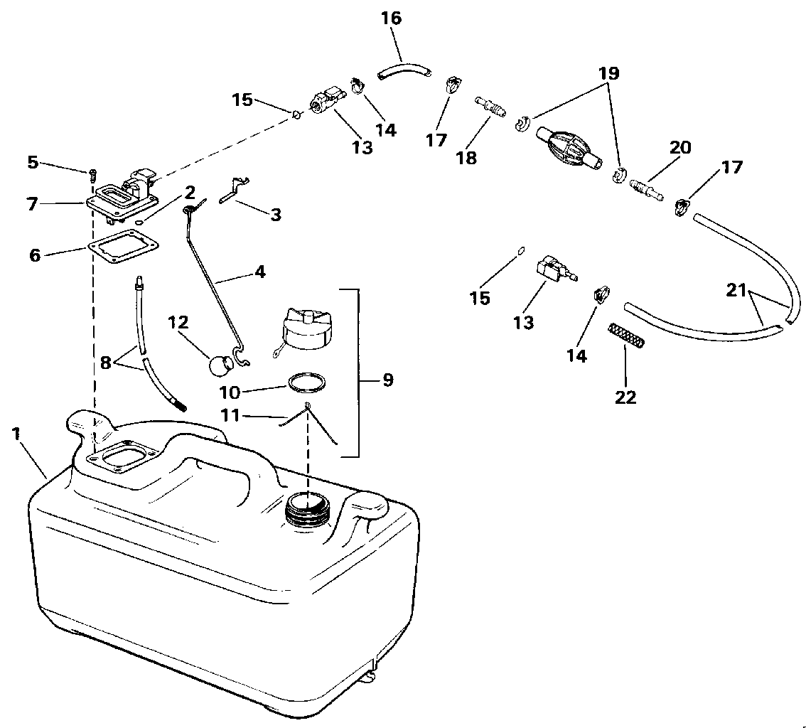
Номер на   рисунке | Артикул | Наименование | Кол-во   на складе | Цена | 
|  1  | 0175303 | Топливный бак (FUEL TANK)  | нет в наличии, поставок нет | 
|  1  | 0763900 |    (последний код) TANK AY, 6 GALLON                                                                 | нет в наличии, поставок нет | 
|  2  | 0124358 | Уплотнительное кольцо, Трубка to Корпус (O-RING, Tube to housing)  | нет в наличии, поставок нет | 
|  3  | 0125522 | Фиксатор, Индикатор & Трубка (RETAINER, Indicator & tube)  | нет в наличии, поставок нет | 
|  4  | 0125523 | Индикатор, Fuel (INDICATOR, Fuel)  | нет в наличии, поставок нет | 
|  4  | 0175379 |    (последний код) INDICATOR&FL                                                                      | нет в наличии, поставок нет | 
|  5  | 0125529 | Винт, Корпус to tank (SCREW, Housing to tank)  | нет в наличии, поставок нет | 
|  6  | 0125530 | Прокладка, Корпус to tank (GASKET, Housing to tank)  | нет в наличии, поставок нет | 
|  6  | 0332403 |    (последний код) GASKET                                                                            | нет в наличии, поставок нет | 
|  7  | 0174791 | Корпус, Клапан & Индикатор. Replaced by: 176468 для Сервис of 3 галлон Tanks 176469 для Сервис of 6 галлон Tanks (HOUSING, Valve & indicator. Replaced by: 176468 for service of 3 Gallon Tanks 176469 for service of 6 Gallon Tanks)  | нет в наличии, поставок нет | 
|  8  | 0434182 | Трубка & SCREEN (TUBE & SCREEN)  | нет в наличии, поставок нет | 
|  9  | 0174793 | Колпачок Gas (CAP Gas)  | нет в наличии, поставок нет | 
|  9  | 0175978 |    (последний код) CAP AY,GASOLINE                                                                   | нет в наличии, поставок нет | 
|  10  | 0123231 | Прокладка, Fuel Колпачок (GASKET, Fuel cap)  | нет в наличии, поставок нет | 
|  11  | 0552331 | ANCHOR, Fuel Колпачок (ANCHOR, Fuel cap)  | нет в наличии, поставок нет | 
|  11  | 0120430 |    (последний код) HOOK-GAS CAP                                                                      | нет в наличии, поставок нет | 
|  12  | 0332370 | Поплавок, Fuel Индикатор (FLOAT, Fuel indicator)  | нет в наличии, поставок нет | 
|  0398549  | 0398549 | FUEL CONN., Шланг & Топливная груша AY.. Not Shown (FUEL CONN., HOSE & PRIMER BULB AY.. Not Shown)  | нет в наличии, поставок нет | 
|  0398549  | 0775635 |    (последний код) KIT-HOSE & BULB AY                                                                | нет в наличии, поставок нет | 
|  13  | 0174508 | Топливный шланг CONN. KIT (FUEL HOSE CONN. KIT)  | нет в наличии, поставок нет | 
|  13  | 0775640 |    (последний код) FUEL CONN KIT 5/16                                                                | нет в наличии, поставок нет | 
|  14  | 0322652 | Струбцина, Защелка (CLAMP, Snap)  | нет в наличии, поставок нет | 
|  14  | 3852170 |    (последний код) CLAMP,SNAP                                                                        | нет в наличии, поставок нет | 
|  15  | 0334913 | Уплотнительное кольцо (O-RING)  | нет в наличии, поставок нет | 
|  15  | 0331380 |    (последний код) O-RING-10PK                                                                       | нет в наличии, поставок нет | 
|  16  | 0 | Шланг, Short, 19 1 / 2 дюйм (495 мм)  сокращёная длина From 333341 - 5 / 16 дюйм I.D., 25ft (7, 6m) Roll (HOSE, Short, 19 1/2 in. (495mm). Cut To Length From 333341 - 5/16 in. I.D.,25ft (7,6m) Roll)  | нет в наличии, поставок нет | 
|  0174511  | 0174511 | Топливная груша KIT. Not Shown (PRIMER BULB KIT. Not Shown)  | нет в наличии, поставок нет | 
|  0174511  | 0775638 |    (последний код) PRIM BULB KIT 5/16                                                                | нет в наличии, поставок нет | 
|  17  | 0322652 | Струбцина, Защелка (CLAMP, Snap)  | нет в наличии, поставок нет | 
|  17  | 3852170 |    (последний код) CLAMP,SNAP                                                                        | нет в наличии, поставок нет | 
|  18  | 0397525 | Ниппель & Клапан в сборе. (NIPPLE & VALVE ASSY.)  | нет в наличии, поставок нет | 
|  18  | 0393511 |    (последний код) NIPPLE&VALVE AY                                                                   | нет в наличии, поставок нет | 
|  19  | 0553166 | Струбцина, Ремешок, large (CLAMP, Band, large)  | нет в наличии, поставок нет | 
|  20  | 0396462 | Ниппель & Клапан в сборе. (NIPPLE & VALVE ASSY.)  | нет в наличии, поставок нет | 
|  20  | 0383720 |    (последний код) NIPPLE & VLVE                                                                     | нет в наличии, поставок нет | 
|  21  | 0 | HOUSE. Long, 99 дюйм (2515 мм)  сокращёная длина From 333341 - 5 / 16 дюйм I.D., 25ft (7, 6m) Roll (HOUSE. Long, 99 in. (2515mm). Cut To Length From 333341 - 5/16 in. I.D.,25ft (7,6m) Roll)  | нет в наличии, поставок нет | 
|  22  | 0336269 | Гильза, Топливный шланг (SLEEVE, Fuel hose)  | нет в наличии, поставок нет |