вконтакте

Контактный телефон: +7 (981) 121-46-93, +7 (800) 200-90-76 , Email: parts-katalog@yandex.ru, где купить

 
 

  Логин:

Пароль:

Регистрация

www.partskatalog.ru Все каталоги Запчасти Mercury Запчасти Suzuki Запчасти Tohatsu Запчасти Honda Контакты



УВАЖАЕМЫЕ КЛИЕНТЫ!
C 19 ДЕКАБРЯ 2025 ПО 02 МАРТА 2026 ГОДА ОТДЕЛ ЗАПЧАСТЕЙ И СЕРВИС РАБОТАТЬ НЕ БУДУТ
ПРОДАЖА ЛОДОЧНЫХ МОТОРОВ В ШТАТНОМ РЕЖИМЕ
ОБ ИЗМЕНЕНИЯХ В ГРАФИКЕ РАБОТЫ ЧИТАЙТЕ НА САЙТА




Все разделы каталога запчастей на этот двигатель

назад Раздел:   вперёд

вернуться к списку узлов и деталей

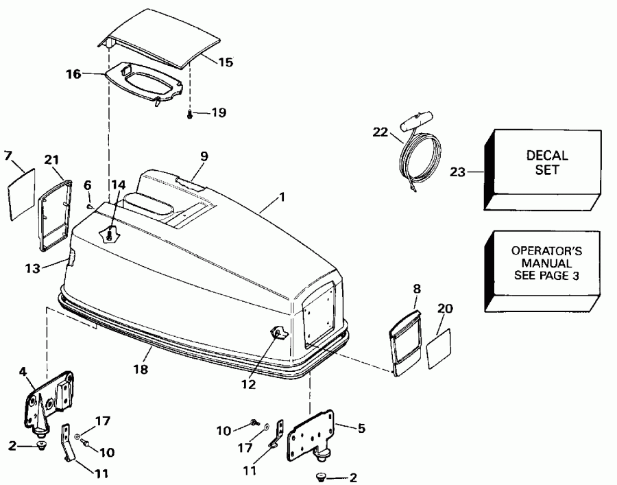
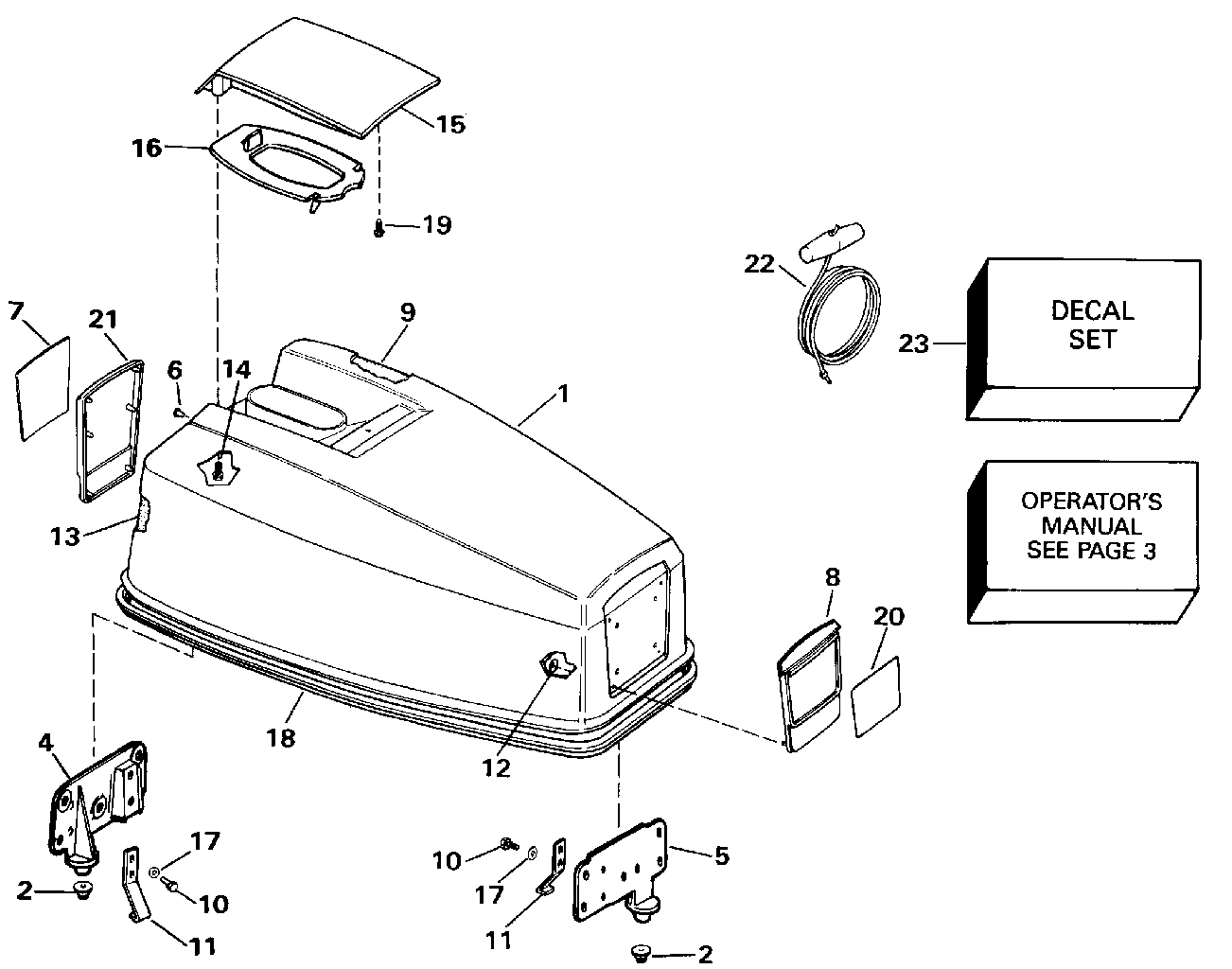
ДЕТАЛИРОВКА ДЛЯ МОДЕЛИ: EVINRUDE E40ELENM 1992

КРЫШКА ДВИГАТЕЛЯ (КАПОТ) - EVINRUDE 50 | ENGINE COVER - EVINRUDE 50;


 Evinrude E40ELENM 1992  - Evinrude 50

Номер на
рисунке
АртикулНаименованиеКол-во
на складе
Цена
1 0284138

Крышка двигателя (капот) в сборе.. 50BE-50BEL-50TL 50TEL (ENGINE COVER ASSY.. 50BE-50BEL-50TL 50TEL)

нет в наличии, поставок нет
1 0285147

   (последний код) SVC-UMC AY EV 4

нет в наличии, поставок нет
1 0284186

Крышка двигателя (капот) в сборе.. 50JE (ENGINE COVER ASSY.. 50JE)

нет в наличии, поставок нет
2 0334432

Бампер, Locating Кронштейн (BUMPER, Locating bracket)

нет в наличии, поставок нет
4 0333939

LOCATING Кронштейн, Front (LOCATING BRACKET, Front)

нет в наличии, поставок нет
5 0333938

LOCATING Кронштейн, Front (LOCATING BRACKET, Front)

нет в наличии, поставок нет
6 0326948

Заклёпка, Locating Кронштейн (RIVET, Locating bracket)

нет в наличии, поставок нет
6 0331881

   (последний код) RIVET

нет в наличии, поставок нет
7 0211852

Пластина, Rear. 50BE-50BEL-50TL 50TEL (PLATE, Rear. 50BE-50BEL-50TL 50TEL)

нет в наличии, поставок нет
7 0211952

Пластина, Rear. 50JE (PLATE, Rear. 50JE)

нет в наличии, поставок нет
8 0210971

Рама, Front. 50BE-50BEL-50TL 50TEL (FRAME, Front. 50BE-50BEL-50TL 50TEL)

нет в наличии, поставок нет
8 0335033

Рама, Front. 50JE (FRAME, Front. 50JE)

нет в наличии, поставок нет
9 0206681

SOUND BLANKET, Top (SOUND BLANKET, Top)

нет в наличии, поставок нет
9 0341531

   (последний код) BLANKET,SOUND

нет в наличии, поставок нет
10 0305284

Винт, Крючок to Кронштейн (SCREW, Hook to bracket)

нет в наличии, поставок нет
10 0908158

   (последний код) SCREW

нет в наличии, поставок нет
11 0323176

Крючок, Кронштейн (HOOK, Bracket)

нет в наличии, поставок нет
11 0315191

   (последний код) HOOK

нет в наличии, поставок нет
12 0317223

Защелка, Applique (FASTENER, Applique)

нет в наличии, поставок нет
13 0206682

SOUND BLANKET, Side (SOUND BLANKET, Side)

нет в наличии, поставок нет
13 0341532

   (последний код) BLANKET,SOUND

нет в наличии, поставок нет
14 0323228

Винт, Рукоятка наклона, rear (SCREW, Tilt handle, rear)

нет в наличии, поставок нет
15 0208181

Рукоятка наклона (TILT HANDLE)

нет в наличии, поставок нет
16 0210296

BAFFLE, Рукоятка наклона (BAFFLE, Tilt handle)

нет в наличии, поставок нет
17 0313079

Шайба, Крючок to Кронштейн (WASHER, Hook to bracket)

нет в наличии, поставок нет
18 0211111

Резинка капота двигателя (SEAL, Engine cover)

нет в наличии, поставок нет
19 0323229

Винт, Рукоятка наклона, front (SCREW, Tilt handle, front)

нет в наличии, поставок нет
20 0211851

Пластина, Applique. 50BE-50BEL-50TL 50TEL (PLATE, Applique. 50BE-50BEL-50TL 50TEL)

нет в наличии, поставок нет
20 0211951

Пластина, Applique. 50JE (PLATE, Applique. 50JE)

нет в наличии, поставок нет
21 0210972

Рама, Rear. 50BE-50BEL-50TL 50TEL (FRAME, Rear. 50BE-50BEL-50TL 50TEL)

нет в наличии, поставок нет
21 0335042

Рама, Rear. 50JE (FRAME, Rear. 50JE)

нет в наличии, поставок нет
22 0378347

Шнур стартера (STARTER ROPE)

нет в наличии, поставок нет
23 0284335

Комплект наклеек. 50BE-50BEL-50TL 50TEL (DECAL SET. 50BE-50BEL-50TL 50TEL)

нет в наличии, поставок нет
23 0284340

Комплект наклеек. 50JE (DECAL SET. 50JE)

нет в наличии, поставок нет
23 0284247

   (последний код) DECAL AY,SET

нет в наличии, поставок нет
evinrude

Время выполнения запроса 1.0389869213104 сек.


 
 

данный сайт носит информационный характер и не является публичной офертой

склад запчастей для водомоторной техники