вконтакте

Контактный телефон: +7 (981) 121-46-93, +7 (800) 200-90-76 , Email: parts-katalog@yandex.ru, где купить

 
 

  Логин:

Пароль:

Регистрация

www.partskatalog.ru Все каталоги Запчасти Mercury Запчасти Suzuki Запчасти Tohatsu Запчасти Honda Контакты



УВАЖАЕМЫЕ КЛИЕНТЫ!
C 31 ОКТЯБРЯ 2025 ПО 10 НОЯБРЯ 2025 ГОДА РАБОТАТЬ НЕ БУДЕМ




Все разделы каталога запчастей на этот двигатель

назад Раздел:   вперёд

вернуться к списку узлов и деталей

ДЕТАЛИРОВКА ДЛЯ МОДЕЛИ: EVINRUDE E10RLENA 1992

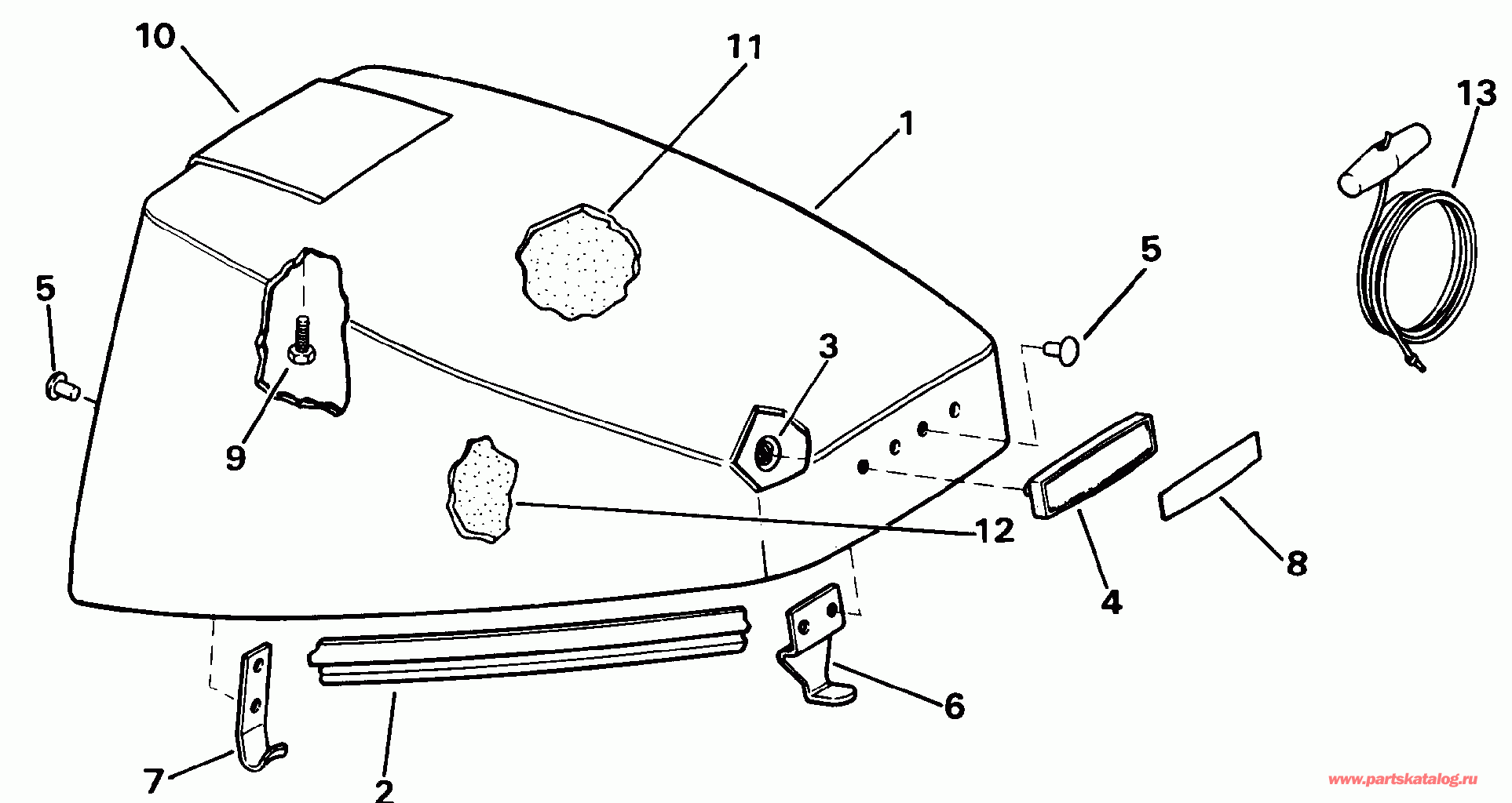
КРЫШКА ДВИГАТЕЛЯ (КАПОТ) - JOHNSON | ENGINE COVER - JOHNSON;


Подвесной двигатель EVINRUDE E10RLENA 1992  - Johnson / Johnson

Номер на
рисунке
АртикулНаименованиеКол-во
на складе
Цена
1 0435145

Крышка двигателя (капот) в сборе.. 9.9 Models (ENGINE COVER ASSY.. 9.9 Models)

нет в наличии, поставок нет
1 0435146

Крышка двигателя (капот) в сборе.. 10SEL Models (ENGINE COVER ASSY.. 10SEL Models)

нет в наличии, поставок нет
1 0435147

Крышка двигателя (капот) в сборе.. 15 Models (ENGINE COVER ASSY.. 15 Models)

нет в наличии, поставок нет
1 0434553

Крышка двигателя (капот) в сборе.. TJ Models (ENGINE COVER ASSY.. TJ Models)

нет в наличии, поставок нет
1 0433309

   (последний код) COVER AY,MOTOR-UPR

нет в наличии, поставок нет
2 0331867

Резинка капота двигателя (SEAL, Engine cover)

нет в наличии, поставок нет
2 0332823

   (последний код) SEAL,MOTOR COVER

нет в наличии, поставок нет
3 0317223

Гайка, Push-on (NUT, Push-on)

нет в наличии, поставок нет
4 0331907

Рама, Front (FRAME, Front)

нет в наличии, поставок нет
4 0334864

Рама, Front. TJ Models (FRAME, Front. TJ Models)

нет в наличии, поставок нет
5 0318836

Заклёпка, Крючок to Крышка (RIVET, Hook to cover)

нет в наличии, поставок нет
6 0396886

Крючок спереди (Includes №5) (HOOK, Front (Includes No.5))

нет в наличии, поставок нет
7 0391124

Крючок, Rear (Includes №5) (HOOK, Rear (Includes No.5))

нет в наличии, поставок нет
7 0318881

   (последний код) HOOK

нет в наличии, поставок нет
8 0337596

Пластина, Applique, front. 9.9 Models 15 Models (PLATE, Applique, front. 9.9 Models 15 Models)

нет в наличии, поставок нет
8 0335055

Пластина, Applique, front. TJ Models (PLATE, Applique, front. TJ Models)

нет в наличии, поставок нет
8 0337600

Пластина, Рама, front. 10SEL Models (PLATE, Frame, front. 10SEL Models)

нет в наличии, поставок нет
9 0330838

Винт (SCREW)

нет в наличии, поставок нет
9 0329268

   (последний код) SCREW

нет в наличии, поставок нет
10 0331134

Рукоятка наклона (TILT HANDLE)

нет в наличии, поставок нет
11 0335597

SOUND BLANKET, Top (SOUND BLANKET, Top)

нет в наличии, поставок нет
12 0335598

SOUND BLANKET, Side (SOUND BLANKET, Side)

нет в наличии, поставок нет
13 0433824

Шнур стартера. 10SEL Models (STARTER ROPE. 10SEL Models)

нет в наличии, поставок нет
0211777 0211777

OPERATORS ручной. 10SEL Models 4-Language (Двигатель, French, Spanish, Portuguese) (OPERATORS MANUAL. 10SEL Models 4-Language (Engine, French, Spanish, Portuguese))

нет в наличии, поставок нет
0211777 8006458

   (последний код) OM211777

нет в наличии, поставок нет
0211772 0211772

OPERATORS ручной. Not Shown 4-Language (Двигатель, French, Spanish, Portuguese) (OPERATORS MANUAL. Not Shown 4-Language (Engine, French, Spanish, Portuguese))

нет в наличии, поставок нет
0211772 8006562

   (последний код) OM212142-4L

нет в наличии, поставок нет
0211773 0211773

OPERATORS ручной. Not Shown 7-Language (Dutch, Norwegian, Swedish, German, Finnish, Italian, Danish) (OPERATORS MANUAL. Not Shown 7-Language (Dutch, Norwegian, Swedish, German, Finnish, Italian, Danish))

нет в наличии, поставок нет
0211945 0211945

OPERATORS ручной. Not Shown Дистанционное управление Models English / French Only (OPERATORS MANUAL. Not Shown Remote Control Models English/French Only)

нет в наличии, поставок нет
0211945 8006460

   (последний код) OM211945

нет в наличии, поставок нет
0211944 0211944

OPERATORS ручной. Not Shown English / French Only (OPERATORS MANUAL. Not Shown English/French Only)

нет в наличии, поставок нет
0211944 8006463

   (последний код) OM211944

нет в наличии, поставок нет
0435612 0435612

Комплект наклеек. Not Shown 9.9 Models (DECAL SET. Not Shown 9.9 Models)

нет в наличии, поставок нет
0435614 0435614

Комплект наклеек. Not Shown 15 Models (DECAL SET. Not Shown 15 Models)

нет в наличии, поставок нет
0434613 0434613

Комплект наклеек. Not Shown 10SEL Models (DECAL SET. Not Shown 10SEL Models)

нет в наличии, поставок нет
0434613 0436855

   (последний код) KIT, UPPER MOUNT

нет в наличии, поставок нет
0434737 0434737

Комплект наклеек. Not Shown TJ Models (DECAL SET. Not Shown TJ Models)

нет в наличии, поставок нет
0434737 0434040

   (последний код) DECAL AY,SET

нет в наличии, поставок нет
evinrude

Время выполнения запроса 1.3685281276703 сек.


 
 

данный сайт носит информационный характер и не является публичной офертой

склад запчастей для водомоторной техники