Номер на   рисунке | Артикул | Наименование | Кол-во   на складе | Цена | 
|  1  | 0310981 | Винт зажима (SCREW, Clamp)  | нет в наличии, поставок нет | 
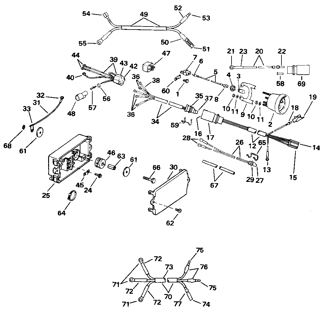
|  2  | 0583653 | TRIM GAUGE в сборе.. Use 174679 для domestic Сервис or 174490 для International Сервис. (TRIM GAUGE ASSY.. Use 174679 for domestic service or 174490 for International service.)  | нет в наличии, поставок нет | 
|  2  | 0583206 |    (последний код) TILT&TRIM GAUGE                                                                   | нет в наличии, поставок нет | 
|  3  | 0125432 | Лампочка (BULB)  | нет в наличии, поставок нет | 
|  4  | 0122553 | SOCKET (SOCKET)  | нет в наличии, поставок нет | 
|  5  | 0583255 | LEAD в сборе. (LEAD ASSY.)  | нет в наличии, поставок нет | 
|  6  | 0310523 | Клемма (TERMINAL)  | нет в наличии, поставок нет | 
|  6  | 0310680 |    (последний код) TERMINAL                                                                          | нет в наличии, поставок нет | 
|  7  | 0310572 | Корпус (HOUSING)  | нет в наличии, поставок нет | 
|  8  | 0510780 | Кольцо Клемма (RING TERMINAL)  | нет в наличии, поставок нет | 
|  8  | 3852226 |    (последний код) TERMINAL,RIN                                                                      | нет в наличии, поставок нет | 
|  9  | 0125409 | Кронштейн (BRACKET)  | нет в наличии, поставок нет | 
|  10  | 0125410 | Гайка (NUT)  | нет в наличии, поставок нет | 
|  11  | 0125411 | Шайба (WASHER)  | нет в наличии, поставок нет | 
|  12  | 0583205 | Кабели в сборе., Переключатель & gauge. 20 Inch Transom (CABLE ASSY., Switch & gauge. 20 Inch Transom)  | нет в наличии, поставок нет | 
|  12  | 0583207 | Кабели в сборе., Переключатель & gauge. 25 Inch Transom (CABLE ASSY., Switch & gauge. 25 Inch Transom)  | нет в наличии, поставок нет | 
|  13  | 0511829 | Кольцо Клемма (RING TERMINAL)  | нет в наличии, поставок нет | 
|  13  | 3852233 |    (последний код) TERMINAL,RIN                                                                      | нет в наличии, поставок нет | 
|  14  | 0309433 | Клемма (TERMINAL)  | нет в наличии, поставок нет | 
|  15  | 0309474 | Коннектор (CONNECTOR)  | нет в наличии, поставок нет | 
|  16  | 0511469 | Штифт (PIN)  | нет в наличии, поставок нет | 
|  16  | 3852229 |    (последний код) TERMINAL,PIN                                                                      | нет в наличии, поставок нет | 
|  17  | 0512754 | Коннектор (CONNECTOR)  | нет в наличии, поставок нет | 
|  18  | 0512904 | Клемма (TERMINAL)  | нет в наличии, поставок нет | 
|  19  | 0310572 | Коннектор (CONNECTOR)  | нет в наличии, поставок нет | 
|  20  | 0582093 | LEAD в сборе.. Includes Items 58 & 69 (LEAD ASSY.. Includes Items 58 & 69)  | нет в наличии, поставок нет | 
|  20  | 0582092 |    (последний код) LEAD                                                                              | нет в наличии, поставок нет | 
|  21  | 0510151 | Клемма (TERMINAL)  | нет в наличии, поставок нет | 
|  22  | 0511469 | Штифт (PIN)  | нет в наличии, поставок нет | 
|  22  | 3852229 |    (последний код) TERMINAL,PIN                                                                      | нет в наличии, поставок нет | 
|  23  | 0510781 | Гильза (SLEEVE)  | нет в наличии, поставок нет | 
|  0584179  | 0584179 | JUNCTION BOX & Крышка в сборе. Not Shown (JUNCTION BOX & COVER ASSY.. Not Shown)  | нет в наличии, поставок нет | 
|  24  | 0329182 | Винт, Клемма block (SCREW, Terminal block)  | нет в наличии, поставок нет | 
|  24  | 0327785 |    (последний код) SCREW                                                                             | нет в наличии, поставок нет | 
|  25  | 0512776 | Основание, Junction box (BASE, Junction box)  | нет в наличии, поставок нет | 
|  25  | 0512400 |    (последний код) BASE-JUNCTIO                                                                      | нет в наличии, поставок нет | 
|  26  | 0583105 | Кабели в сборе., Sending unit (CABLE ASSY., Sending unit)  | нет в наличии, поставок нет | 
|  26  | 0582948 |    (последний код) CABLE ASSY                                                                        | нет в наличии, поставок нет | 
|  27  | 0581656 | SOCKET (SOCKET)  | нет в наличии, поставок нет | 
|  27  | 3852257 |    (последний код) TERMINAL AY,SCKT                                                                  | нет в наличии, поставок нет | 
|  28  | 0510780 | Клемма (TERMINAL)  | нет в наличии, поставок нет | 
|  28  | 3852226 |    (последний код) TERMINAL,RIN                                                                      | нет в наличии, поставок нет | 
|  29  | 0512745 | Коннектор (CONNECTOR)  | нет в наличии, поставок нет | 
|  30  | 0583707 | Крышка в сборе (COVER ASSY.)  | нет в наличии, поставок нет | 
|  30  | 0583090 |    (последний код) COVER&DECAL AY                                                                    | нет в наличии, поставок нет | 
|  31  | 0582671 | LEAD в сборе., Junction box Заземление (LEAD ASSY., Junction box ground)  | нет в наличии, поставок нет | 
|  32  | 0512062 | Кольцо Клемма (RING TERMINAL)  | нет в наличии, поставок нет | 
|  33  | 0510818 | Клемма (TERMINAL)  | нет в наличии, поставок нет | 
|  33  | 3854243 |    (последний код) TERMINAL,RIN                                                                      | нет в наличии, поставок нет | 
|  34  | 0583158 | Коннектор & LEAD в сборе. (CONNECTOR & LEAD ASSY.)  | нет в наличии, поставок нет | 
|  35  | 0512753 | Коннектор (CONNECTOR)  | нет в наличии, поставок нет | 
|  35  | 3852243 |    (последний код) CONN,5-SKT-P                                                                      | нет в наличии, поставок нет | 
|  36  | 0510780 | Кольцо Клемма (RING TERMINAL)  | нет в наличии, поставок нет | 
|  36  | 3852226 |    (последний код) TERMINAL,RIN                                                                      | нет в наличии, поставок нет | 
|  37  | 0581656 | SOCKET (SOCKET)  | нет в наличии, поставок нет | 
|  37  | 3852257 |    (последний код) TERMINAL AY,SCKT                                                                  | нет в наличии, поставок нет | 
|  38  | 0510781 | Гильза (SLEEVE)  | нет в наличии, поставок нет | 
|  39  | 0584361 | Коннектор в сборе., голубой leads, выше (CONNECTOR ASSY., Blue leads, up)  | нет в наличии, поставок нет | 
|  39  | 0584362 | Коннектор в сборе., зелёный leads, down (CONNECTOR ASSY., Green leads, down)  | нет в наличии, поставок нет | 
|  40  | 0510780 | Клемма (TERMINAL)  | нет в наличии, поставок нет | 
|  40  | 3852226 |    (последний код) TERMINAL,RIN                                                                      | нет в наличии, поставок нет | 
|  41  | 0511656 | Клемма (TERMINAL)  | нет в наличии, поставок нет | 
|  41  | 0309435 |    (последний код) TERMINAL                                                                          | нет в наличии, поставок нет | 
|  42  | 0513166 | Клемма (TERMINAL)  | нет в наличии, поставок нет | 
|  42  | 3852246 |    (последний код) TERMINAL,RCP                                                                      | нет в наличии, поставок нет | 
|  42  | 0513167 | Клемма (TERMINAL)  | нет в наличии, поставок нет | 
|  42  | 3852247 |    (последний код) TERMINAL,RCP                                                                      | нет в наличии, поставок нет | 
|  43  | 0511866 | Коннектор (CONNECTOR)  | нет в наличии, поставок нет | 
|  44  | 0512062 | Кольцо Клемма (RING TERMINAL)  | нет в наличии, поставок нет | 
|  45  | 0315004 | JUMPER, Клемма block (JUMPER, Terminal block)  | нет в наличии, поставок нет | 
|  46  | 0315057 | Крепление, Junction box (MOUNT, Junction box)  | нет в наличии, поставок нет | 
|  47  | 0582472 | Реле (RELAY)  | нет в наличии, поставок нет | 
|  47  | 0586224 |    (последний код) RELAY AY                                                                          | 1 шт | 2730 руб. | 
|  48  | 0513663 | Коннектор, Motor leads (CONNECTOR, Motor leads)  | нет в наличии, поставок нет | 
|  48  | 3852249 |    (последний код) CONN,2-CONT                                                                       | нет в наличии, поставок нет | 
|  49  | 0584303 | Кабели в сборе., Junction box to Переключатель ограничителя налона (CABLE ASSY., Junction box to tilt limit switch)  | нет в наличии, поставок нет | 
|  50  | 0513186 | Гильза (SLEEVE)  | нет в наличии, поставок нет | 
|  50  | 3852248 |    (последний код) SLEEVE,SKT-B                                                                      | нет в наличии, поставок нет | 
|  51  | 0512876 | SOCKET (SOCKET)  | нет в наличии, поставок нет | 
|  51  | 3852244 |    (последний код) TERMINAL,SOC                                                                      | нет в наличии, поставок нет | 
|  52  | 0513185 | Гильза (SLEEVE)  | нет в наличии, поставок нет | 
|  52  | 0512948 |    (последний код) SLEEVE                                                                            | нет в наличии, поставок нет | 
|  53  | 0512947 | Клемма, Bullet (TERMINAL, Bullet)  | нет в наличии, поставок нет | 
|  53  | 0910462 |    (последний код) TERM.-60766-                                                                      | нет в наличии, поставок нет | 
|  54  | 0513166 | Клемма, Внешняя розетка (TERMINAL, Receptacle)  | нет в наличии, поставок нет | 
|  54  | 3852246 |    (последний код) TERMINAL,RCP                                                                      | нет в наличии, поставок нет | 
|  55  | 0510780 | Кольцо Клемма (RING TERMINAL)  | нет в наличии, поставок нет | 
|  55  | 3852226 |    (последний код) TERMINAL,RIN                                                                      | нет в наличии, поставок нет | 
|  56  | 0513665 | Заглушка, Коннектор Сальник (PLUG, Connector seal)  | нет в наличии, поставок нет | 
|  56  | 3852251 |    (последний код) PLUG,CONN SEAL                                                                    | нет в наличии, поставок нет | 
|  57  | 0513666 | Клемма, Blade (TERMINAL, Blade)  | нет в наличии, поставок нет | 
|  57  | 3852252 |    (последний код) TERMINAL,BLA                                                                      | нет в наличии, поставок нет | 
|  58  | 0511496 | Заглушка Коннектор (PLUG CONNECTOR)  | нет в наличии, поставок нет | 
|  58  | 3852230 |    (последний код) PLUG,CONN SEAL                                                                    | нет в наличии, поставок нет | 
|  59  | 0512743 | Фиксатор, Коннектор (RETAINER, Connector)  | нет в наличии, поставок нет | 
|  59  | 3852238 |    (последний код) RETAINER,CON                                                                      | нет в наличии, поставок нет | 
|  60  | 0317000 | Зажим кабеля в сборе. (CLAMP, Cable assy.)  | нет в наличии, поставок нет | 
|  60  | 0318190 |    (последний код) CLAMP                                                                             | нет в наличии, поставок нет | 
|  61  | 0328703 | Шайба (WASHER)  | нет в наличии, поставок нет | 
|  61  | 3852184 |    (последний код) WASHER                                                                            | нет в наличии, поставок нет | 
|  62  | 0329182 | Винт, Крышка (SCREW, Cover)  | нет в наличии, поставок нет | 
|  62  | 0327785 |    (последний код) SCREW                                                                             | нет в наличии, поставок нет | 
|  63  | 0331984 | Гильза, Монтажная резинка (SLEEVE, Rubber mount)  | нет в наличии, поставок нет | 
|  63  | 0330111 |    (последний код) SPACER                                                                            | нет в наличии, поставок нет | 
|  64  | 0320107 | Струбцина Хомут, Trim Кабели (CLAMP STRAP, Trim cable)  | нет в наличии, поставок нет | 
|  64  | 5035626 |    (последний код) BAND,REM CON                                                                      | нет в наличии, поставок нет | 
|  65  | 0512741 | Фиксатор, Датчик трима (RETAINER, Trim sender)  | нет в наличии, поставок нет | 
|  66  | 0303398 | Винт, Junction box Крепление (SCREW, Junction box mount)  | нет в наличии, поставок нет | 
|  66  | 0330119 |    (последний код) SCREW                                                                             | нет в наличии, поставок нет | 
|  67  | 0327267 | Гильза, Motor & sending leads (SLEEVE, Motor & sending leads)  | нет в наличии, поставок нет | 
|  67  | 0512422 |    (последний код) SLEEVE                                                                            | нет в наличии, поставок нет | 
|  68  | 0328701 | Шайба, Заземление (WASHER, Ground)  | нет в наличии, поставок нет | 
|  68  | 3852182 |    (последний код) WASHER,LOCK                                                                       | нет в наличии, поставок нет | 
|  69  | 0511465 | Коннектор (CONNECTOR)  | нет в наличии, поставок нет | 
|  70  | 0583909 | Кабели, Junction box to tilt Переключатель (CABLE, Junction box to tilt switch)  | нет в наличии, поставок нет | 
|  71  | 0510780 | Кольцо Клемма (RING TERMINAL)  | нет в наличии, поставок нет | 
|  71  | 3852226 |    (последний код) TERMINAL,RIN                                                                      | нет в наличии, поставок нет | 
|  72  | 0510781 | Гильза (SLEEVE)  | нет в наличии, поставок нет | 
|  73  | 0511144 | Трубопровод (TUBING)  | нет в наличии, поставок нет | 
|  74  | 0512876 | SOCKET (SOCKET)  | нет в наличии, поставок нет | 
|  74  | 3852244 |    (последний код) TERMINAL,SOC                                                                      | нет в наличии, поставок нет | 
|  75  | 0512947 | BULLET Клемма (BULLET TERMINAL)  | нет в наличии, поставок нет | 
|  75  | 0910462 |    (последний код) TERM.-60766-                                                                      | нет в наличии, поставок нет | 
|  76  | 0513185 | Гильза, Bullet (SLEEVE, Bullet)  | нет в наличии, поставок нет | 
|  76  | 0512948 |    (последний код) SLEEVE                                                                            | нет в наличии, поставок нет | 
|  77  | 0513186 | Гильза, Socket (SLEEVE, Socket)  | нет в наличии, поставок нет | 
|  77  | 3852248 |    (последний код) SLEEVE,SKT-B                                                                      | нет в наличии, поставок нет |