вконтакте

Контактный телефон: +7 (981) 121-46-93, +7 (800) 200-90-76 , Email: parts-katalog@yandex.ru, где купить

 
 

  Логин:

Пароль:

Регистрация

www.partskatalog.ru Все каталоги Запчасти Mercury Запчасти Suzuki Запчасти Tohatsu Запчасти Honda Контакты



УВАЖАЕМЫЕ КЛИЕНТЫ!
C 31 ОКТЯБРЯ 2025 ПО 10 НОЯБРЯ 2025 ГОДА РАБОТАТЬ НЕ БУДЕМ




Все разделы каталога запчастей на этот двигатель

назад Раздел:   вперёд

вернуться к списку узлов и деталей

ДЕТАЛИРОВКА ДЛЯ МОДЕЛИ: EVINRUDE E120TXESB 1990

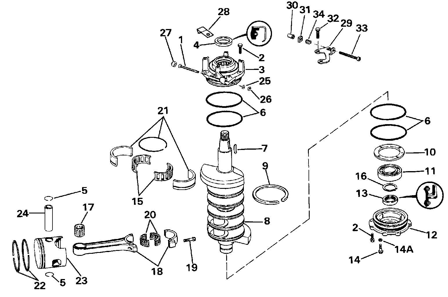
КОЛЕНВАЛ & ПОРШЕНЬ | CRANKSHAFT & PISTON;


Лодочный подвесной мотор Evinrude E120TXESB 1990  - ankВал & Поршень - ankshaft & Piston

Номер на
рисунке
АртикулНаименованиеКол-во
на складе
Цена
1 0334218

Винт, Spark adjustment (SCREW, Spark adjustment)

нет в наличии, поставок нет
1 0316286

   (последний код) SCREW

нет в наличии, поставок нет
2 0335505

Винт, Головка картера двигателя (SCREW, Crankcase head)

нет в наличии, поставок нет
2 0335687

   (последний код) SCREW

нет в наличии, поставок нет
3 0393620

Головка картера двигателя и BRG. в сборе. (CRANKCASE HEAD AND BRG. ASSY.)

нет в наличии, поставок нет
4 0322575

Сальник, верхний (SEAL, Upper)

нет в наличии, поставок нет
4 0339620

   (последний код) SEAL,OIL

нет в наличии, поставок нет
5 0326765

Стопорное кольцо (RETAINING RING)

нет в наличии, поставок нет
6 0326741

Уплотнительное кольцо (O-RING)

нет в наличии, поставок нет
7 0307480

Ключ маховика (KEY, Flywheel)

нет в наличии, поставок нет
8 0328582

Коленвал в сборе. (CRANKSHAFT ASSY.)

нет в наличии, поставок нет
9 0326749

Кольцевой сальник (SEAL RING)

нет в наличии, поставок нет
9 0343471

   (последний код) RING,SEAL

нет в наличии, поставок нет
10 0326748

Пластина, нижний Подшипник (PLATE, Lower bearing)

нет в наличии, поставок нет
11 0390641

Шариковый подшипник (BEARING, Ball)

нет в наличии, поставок нет
12 0393613

Головка картера двигателя в сборе. (CRANKCASE HEAD ASSY.)

нет в наличии, поставок нет
12 5007695

   (последний код) KIT AY,C-CASE HEAD

нет в наличии, поставок нет
13 0332942

Сальник (SEAL)

нет в наличии, поставок нет
14 0332590

Винт, нижний Подшипник Фиксатор (SCREW, Lower bearing retainer)

нет в наличии, поставок нет
14 0326763

   (последний код) SCREW

нет в наличии, поставок нет
14A 0332585

RUBBER Шайба (RUBBER WASHER)

нет в наличии, поставок нет
15 0387041

Фиксатор & иголка SET (RETAINER & NEEDLE SET)

нет в наличии, поставок нет
15 5007190

   (последний код) NEEDLE&RETAINER AY

2 шт1710 руб.
16 0326047

Удерживающие кольцо подшипника (RING, Retaining, bearing)

нет в наличии, поставок нет
17 0391480

Подшипник, Wrist Штифт (BEARING, Wrist pin)

нет в наличии, поставок нет
17 0434844

   (последний код) NDL BRG KIT

нет в наличии, поставок нет
18 0394488

Шатун в сборе. (CONNECTING ROD ASSY.)

нет в наличии, поставок нет
18 5004705

   (последний код) CONN ROD, LOOP V

нет в наличии, поставок нет
19 0330081

Винт, Тяга Колпачок (SCREW, Rod cap)

нет в наличии, поставок нет
20 0396041

Фиксатор SET (RETAINER SET)

нет в наличии, поставок нет
21 0320499

SPLIT Гильза, Center Подшипник (SPLIT SLEEVE, Center bearing)

нет в наличии, поставок нет
21 0352960

   (последний код) LINER,SPLIT-BRG

нет в наличии, поставок нет
22 0431870

Кольцо SET, стандарт (RING SET, Standard)

нет в наличии, поставок нет
22 0431844

Кольцо SET, 0.030" O.S (RING SET, 0.030" O.S)

нет в наличии, поставок нет
23 0432970

Поршень, Stbd., стандарт (PISTON, Stbd., Standard)

нет в наличии, поставок нет
23 0398700

   (последний код) PISTON & DOWEL

нет в наличии, поставок нет
23 0433004

Поршень, Stbd., 0.030" O.S (PISTON, Stbd., 0.030" O.S)

нет в наличии, поставок нет
23 5006678

   (последний код) PSTN&RNG KT.030 OS

нет в наличии, поставок нет
23 0432969

Поршень, Port, стандарт (PISTON, Port, Standard)

нет в наличии, поставок нет
23 0398699

   (последний код) PISTON & DOWEL AY

нет в наличии, поставок нет
23 0433003

Поршень. Port, 0.030" O.S (PISTON. Port, 0.030" O.S)

нет в наличии, поставок нет
23 5006677

   (последний код) PSTN&RNG KT.030 OS

нет в наличии, поставок нет
24 0326764

WRIST Штифт (WRIST PIN)

нет в наличии, поставок нет
25 0302290

LOCKШайба, Spark adjustment (LOCKWASHER, Spark adjustment)

нет в наличии, поставок нет
25 0338307

   (последний код) WASHER,LOCK

нет в наличии, поставок нет
26 0328740

Гайка, Spark adjustment (NUT, Spark adjustment)

нет в наличии, поставок нет
26 0306375

   (последний код) NUT

нет в наличии, поставок нет
27 0314416

Бампер, Spark adjustment (BUMPER, Spark adjustment)

нет в наличии, поставок нет
28 0316487

Фиксатор, Подшипник head (RETAINER, Bearing head)

нет в наличии, поставок нет
29 0334317

STOP Кронштейн (STOP BRACKET)

нет в наличии, поставок нет
30 0318660

Колпачок (CAP)

нет в наличии, поставок нет
31 0203688

Гайка, Винт (NUT, Screw)

нет в наличии, поставок нет
31 0328710

   (последний код) NUT-SCREW-ID

нет в наличии, поставок нет
32 0317581

Винт, Idle stop Кронштейн (SCREW, Idle stop bracket)

нет в наличии, поставок нет
33 0331635

Винт стопора Кронштейн (SCREW, Stop bracket)

нет в наличии, поставок нет
34 0308993

Пружина (SPRING)

нет в наличии, поставок нет
evinrude

Время выполнения запроса 0.7774019241333 сек.


 
 

данный сайт носит информационный характер и не является публичной офертой

склад запчастей для водомоторной техники