вконтакте

Контактный телефон: +7 (981) 121-46-93, +7 (800) 200-90-76 , Email: parts-katalog@yandex.ru, где купить

 
 

  Логин:

Пароль:

Регистрация

www.partskatalog.ru Все каталоги Запчасти Mercury Запчасти Suzuki Запчасти Tohatsu Запчасти Honda Контакты



УВАЖАЕМЫЕ КЛИЕНТЫ!
C 19 ДЕКАБРЯ 2025 ПО 02 МАРТА 2026 ГОДА ОТДЕЛ ЗАПЧАСТЕЙ И СЕРВИС РАБОТАТЬ НЕ БУДУТ
ПРОДАЖА ЛОДОЧНЫХ МОТОРОВ В ШТАТНОМ РЕЖИМЕ
ОБ ИЗМЕНЕНИЯХ В ГРАФИКЕ РАБОТЫ ЧИТАЙТЕ НА САЙТА




Выбрать другую модель

назад Раздел:   вперёд

вернуться к списку узлов и деталей

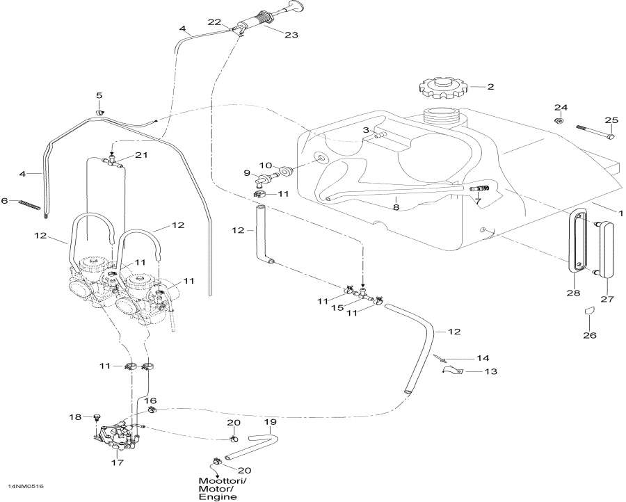
ДЕТАЛИРОВКА ДЛЯ МОДЕЛИ: LYNX Explorer 550, 2005


Снегоход lynx  - Топливная система, 550 / Fuel System, 550

Номер на
рисунке
АртикулНаименованиеКол-во
на складе
Цена
15146246

Топливный бак, holes (Fuel tank, holes)

под заказ16650 руб.
2580259400

Колпачок (Cap)

под заказпо запросу
2580258900

(последний код) BOUCHON RES.ESS*CAP-FUEL TANK

под заказпо запросу
2SM-07093

     (не оригинальная запчасть) Крышка топливного бака BRP SM-07093

под заказ1 730 руб.
2AT-07559

     (не оригинальная запчасть) Крышка топливного бака универсальная AT-07559

под заказ3 830 руб.
319051

Fitting (Fitting)

под заказ550 руб.
3404127600

(последний код) RACCORD *NIPPLE

под заказ700 руб.
439035

Fuel line (Fuel line)

под заказ190 руб.
5513032923

Трубка Струбцина (Tube Clamp)

под заказ220 руб.
625003

Пружина (Spring)

под заказ3150 руб.
7414872100

Топливный фильтр (Fuel Filter)

под заказ1150 руб.
707-241-02

     (не оригинальная запчасть) Фильтр топливный в бак BRP/Polaris 07-241-02

под заказ720 руб.
839048

Fuel line (Fuel line)

под заказ950 руб.
8513033332

(последний код) BOYAU *HOSE

под заказ1380 руб.
95341709

Angle adapter (Angle adapter)

под заказ980 руб.
9

(последний код)

под заказпо запросу
1028037

Пыльник (Grommet)

под заказ340 руб.
10

(последний код)

под заказпо запросу
11414655700

Пружина Струбцина. Explorer 550 (Spring Clamp. Explorer 550)

под заказ140 руб.
1127414655700

(последний код) SPRING CLAMP

под заказ110 руб.
12513033022

Шланг (Hose)

под заказ1150 руб.
1239049

(последний код) FUEL LINE 8/14.22, BLACK (BBD#513033022)

под заказ900 руб.
13415018200

Зажим (Clip)

под заказ140 руб.
1436036

Заклёпка (Rivet)

под заказ50 руб.
143699036

(последний код) RIVET NOIR *RIVET-BLACK

под заказ60 руб.
15n/a

Не доступно для this vehicle (Not available for this vehicle)

под заказпо запросу
16513032979

Пружина Струбцина (Spring Clamp)

под заказ430 руб.
17403901813

Топливный насос (Fuel Pump)

под заказ5500 руб.
17403901809

(последний код) PUMP-FUEL

под заказ4050 руб.
17SM-07358

     (не оригинальная запчасть) Топливный насос BRP SM-07358

под заказ3 000 руб.
17SM-07358A

     (не оригинальная запчасть) Ремкомплект топливного насоса (SM-07358) BRP SM-07358A

под заказ1 090 руб.
1840322

Self tapp. Винт M6 x 16 (Self tapp. screw M6 x 16)

под заказ60 руб.
18

(последний код)

под заказпо запросу
1939001

Fuel line (Fuel line)

под заказ900 руб.
19415080200

(последний код) BOYAU POLYURE *POLYURETHANE HOSE

под заказ1150 руб.
20414420700

Пружина Струбцина (Spring Clamp)

под заказ140 руб.
2027414420700

(последний код) SPRING CLIP 414420700

под заказ110 руб.
21n/a

Не доступно для this vehicle (Not available for this vehicle)

под заказпо запросу
22n/a

Не доступно для this vehicle (Not available for this vehicle)

под заказпо запросу
23n/a

Не доступно для this vehicle (Not available for this vehicle)

под заказпо запросу
2433200

Elastig Фланецd Гайка M6 (Elastig flanged nut M6)

под заказпо запросу
2433072

(последний код) NUT-FLANGE HEX. M6 DIN 6927 8.8 YIC

под заказпо запросу
2540002

Шестигранный винт M6 x 40 (Hex. screw M6 x 40)

под заказ60 руб.
26549200

Fuel Наклейки (Fuel label)

под заказпо запросу
27572015900

Fuel gauge (Fuel gauge)

под заказ1130 руб.
2728572015900

(последний код) FUEL GAUGE

под заказ1040 руб.
28570018000

Корпус gauge (Housing gauge)

под заказ730 руб.
lynx

 
 

данный сайт носит информационный характер и не является публичной офертой

склад запчастей для водомоторной техники