вконтакте

Контактный телефон: +7 (981) 121-46-93, +7 (800) 200-90-76 , Email: parts-katalog@yandex.ru, где купить

 
 

  Логин:

Пароль:

Регистрация

www.partskatalog.ru Все каталоги Запчасти Mercury Запчасти Suzuki Запчасти Tohatsu Запчасти Honda Контакты



УВАЖАЕМЫЕ КЛИЕНТЫ!
C 19 ДЕКАБРЯ 2025 ПО 02 МАРТА 2026 ГОДА ОТДЕЛ ЗАПЧАСТЕЙ И СЕРВИС РАБОТАТЬ НЕ БУДУТ
ПРОДАЖА ЛОДОЧНЫХ МОТОРОВ В ШТАТНОМ РЕЖИМЕ
ОБ ИЗМЕНЕНИЯХ В ГРАФИКЕ РАБОТЫ ЧИТАЙТЕ НА САЙТА




Выбрать другую модель

назад Раздел:   вперёд

вернуться к списку узлов и деталей

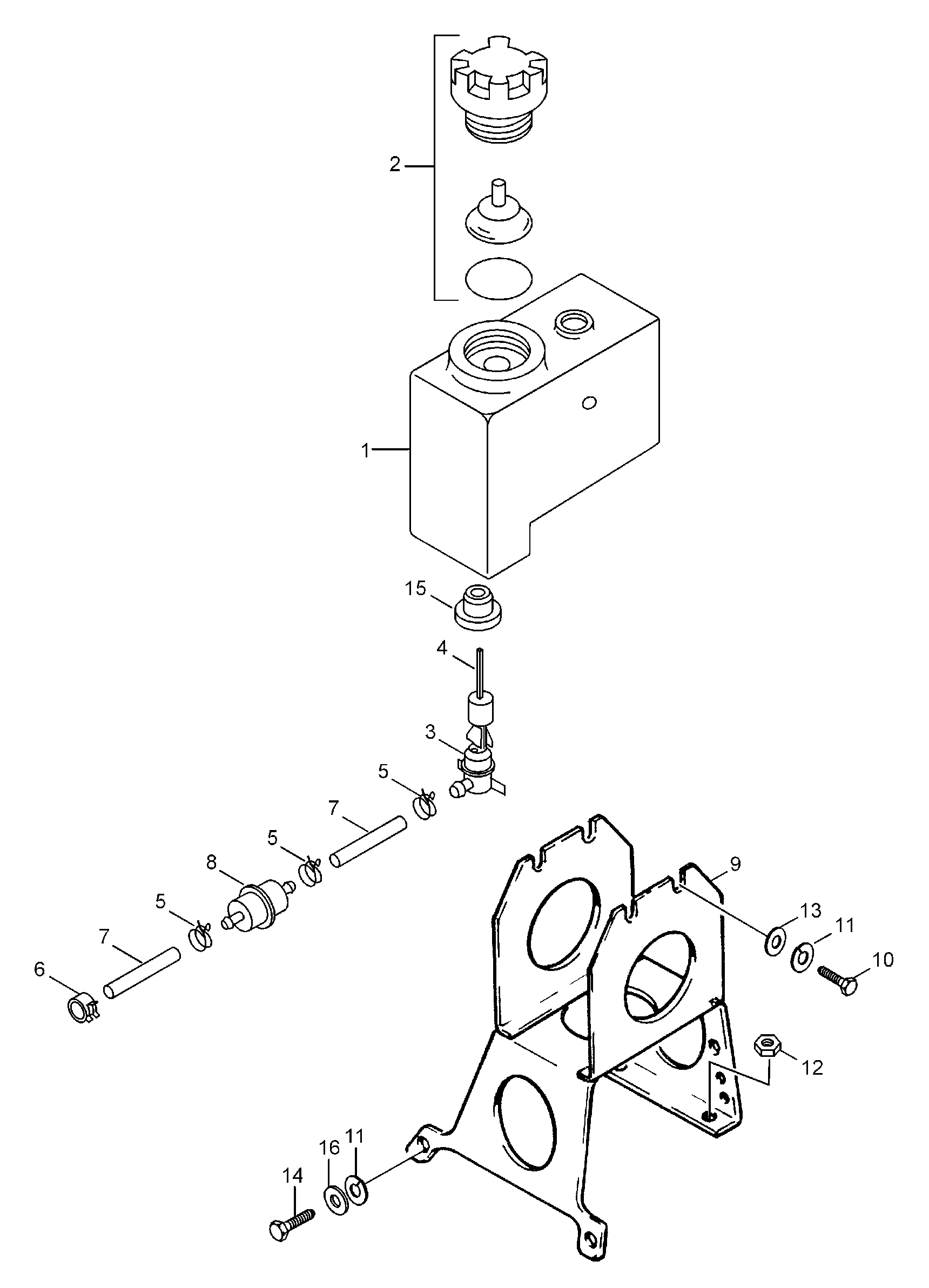
ДЕТАЛИРОВКА ДЛЯ МОДЕЛИ: LYNX Forest, 2001


Снегоход Lynx  - Карбюратор / Carburetor

Номер на
рисунке
АртикулНаименованиеКол-во
на складе
Цена
1404103700

Крышка (Cover)

под заказ2360 руб.
2404154800

Дроссель vale Пружина (Throttle vale spring)

под заказ1850 руб.
3404103800

Fitting Коннектор (Fitting connector)

под заказ700 руб.
4404158200

Уплотнительное кольцо (O-ring)

под заказ260 руб.
4270500025

(последний код) RONDELLE *WASHER

под заказ290 руб.
5404130000

Banjo-fitting (Banjo-fitting)

под заказ1210 руб.
6404161876

Игла жиклёра 6DGH10-4 (Jet needle 6DGH10-4)

под заказ2040 руб.
7404152400

Уплотнительное кольцо (E-ring)

под заказ580 руб.
8404117000

Прокладка (Packing)

под заказ290 руб.
9420963932

Клапан дросселя CA 3.0 (Throttle valve CA 3.0)

под заказ11030 руб.
9963932

(последний код) PISTON VALVE

под заказ6420 руб.
10404131000

Игла распылителя NJ159 O-6 (Needle jet NJ159 O-6)

под заказ1400 руб.
11404104200

Прокладка pan (Gasket pan)

под заказ490 руб.
11420831895

(последний код) GASKET

под заказпо запросу
12404109400

Pilot jet PJ 45 (Pilot jet PJ 45)

под заказ400 руб.
12963826

(последний код) TYHJAKAYNTISUUTIN 45

под заказ240 руб.
13404103300

Рычаг Штифт (Lever pin)

под заказ430 руб.
14404107600

Поплавок Рычаг (Float lever)

под заказ1780 руб.
15404107100

Поплавок (Float)

под заказ2140 руб.
15SM-07243

     (не оригинальная запчасть) Поплавок карбюратора BRP SM-07243

под заказ830 руб.
16404107300

Шайба (Washer)

под заказ590 руб.
17404107400

Drain Заглушка винта (Drain plug screw)

под заказ1780 руб.
18404149000

Air Винт (Air screw)

под заказ2320 руб.
19404139800

Пружина (Spring)

под заказ590 руб.
20404101700

Пружина (Spring)

под заказ300 руб.
20420938940

(последний код) SPRING

под заказ240 руб.
21404125200

Дроссель Стопорный винт (Throttle stop screw)

под заказ1060 руб.
22404109600

Baffle (Baffle)

под заказпо запросу
23404101600

Шайба-Седло (Washer-seat)

под заказ240 руб.
24404103200

Игольчатый клапан 1.5 (Needle valve 1.5)

под заказ4140 руб.
24963848

(последний код) NEULAVENTTIILI 1,5 VM34

под заказ2760 руб.
25404110900

Винт Направляющая (Screw guide)

под заказ3260 руб.
26404119400

Главный жиклёр MJ 195 (Main jet MJ 195)

под заказ400 руб.
27404103000

Трубка Фиксатор Пластина (Tube retainer plate)

под заказ800 руб.
28404102000

Винт и Шайба с блокировкой (Screw and lock washer)

под заказ240 руб.
29404161802

Air Vent Трубка (Air Vent tube)

под заказ3390 руб.
29404161880

(последний код) BOYAU *HOSE

под заказ4340 руб.
30404153400

Ниппель (Nipple)

под заказ860 руб.
30404159100

(последний код) RACCORD *NIPPLE

под заказ680 руб.
31404127400

Пружина (Spring)

под заказ800 руб.
32404105800

Колпачок (Cap)

под заказ490 руб.
32420960990

(последний код) FOAT FIXATION CAP

под заказпо запросу
32SM-07243

     (не оригинальная запчасть) Поплавок карбюратора BRP SM-07243

под заказ830 руб.
33404161000

Плунжер в сборе (Plunger assy)

под заказ1850 руб.
34404161100

Sвышеport Направляющая (Support guide)

под заказ2620 руб.
35420963960

Banjo-Винт (Banjo-screw)

под заказпо запросу
36404112000

Набор инструмента (Tool kit)

под заказ7330 руб.
36876960

(последний код) SPECIAL TOOL KIT

под заказ5730 руб.
lynx

 
 

данный сайт носит информационный характер и не является публичной офертой

склад запчастей для водомоторной техники