| |
Выбрать другую модель
вернуться к списку узлов и деталей ДЕТАЛИРОВКА ДЛЯ МОДЕЛИ: SKIDOO Touring SLE, 1998
Раздел: Электрика System | Electrical System
Номер на рисунке | Артикул | Наименование | Кол-во на складе | Цена |
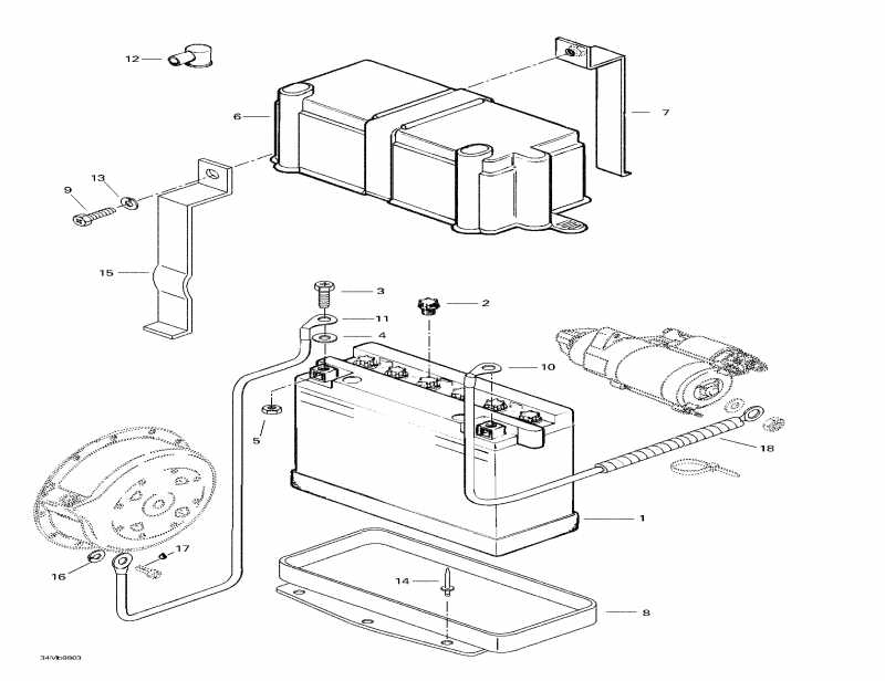
| 1 | 410301100 | Battery. Includes 1 - 5. (Battery. Includes 1 - 5.) | под заказ | 5730 руб. |
| 1 | 410301201 | BATTERY (DRY) Y50-N18L-A | под заказ | 8110 руб. |
| 1 | FTX24HL-BS | (не оригинальная запчасть) Аккумулятор FTX24HL-BS (YTX24HL-BS) | под заказ | 10 260 руб. |
| 1 | F50-N18L-A | (не оригинальная запчасть) Аккумулятор F50-N18L-A (Y50-N18L-A) | под заказ | 7 960 руб. |
| 2 | 410300800 | Battery Колпачок (Battery Cap) | под заказ | 315 руб. |
| 3 | 222061665 | Hex Винт M6 x 16 (Hex Screw M6 x 16) | под заказ | по запросу |
| 3 | 702000778 | VIS *BOLT | под заказ | по запросу |
| 4 | 391302100 | Шайба (Washer) | под заказ | 130 руб. |
| 4 | 399901500 | WASHER-FLAT | под заказ | 110 руб. |
| 5 | 228061045 | Гайка M6 (Nut M6) | под заказ | 222 руб. |
| 5 | 232061414 | NUT-HEXAGONAL DIN.934 | под заказ | 290 руб. |
| 6 | 570022000 | Battery Крышка (Battery Cover) | под заказ | по запросу |
| 7 | 517286000 | Steel Stip (Steel Stip) | под заказ | 834 руб. |
| 8 | 517286200 | Battery Седло (Battery Seat) | под заказ | по запросу |
| 9 | 222052065 | Винт Hex. M5 x 20 (Screw Hex. M5 x 20) | под заказ | 108 руб. |
| 9 | 207152044 | SCREW-HEX.CAP DIN.933 | под заказ | 140 руб. |
| 10 | 515166700 | Current Провод (Current Wire) | под заказ | по запросу |
| 11 | 515157000 | Провод заземления (Ground Wire) | под заказ | по запросу |
| 12 | 570151000 | Защита Колпачок (Protector Cap) | под заказ | 1350 руб. |
| 12 | 673580 | CAPUCHON PROT. *CAP-PROTECTION | под заказ | 810 руб. |
| 13 | 224751090 | Шайба с блокировкой 5 mm (чёрный) (Lock Washer 5 mm (Black)) | под заказ | 102 руб. |
| 13 | 234151401 | WASHER-LOCK HEL*ICAL DIN.127B | под заказ | 130 руб. |
| 14 | 390402200 | Заклёпка (Rivet) | под заказ | 138 руб. |
| 15 | 517286100 | Steel Strip (Steel Strip) | под заказ | по запросу |
| 16 | 394001900 | Шайба с блокировкой (Lock Washer) | под заказ | 130 руб. |
| 17 | 413707400 | Loctite 271, 10 cc (Loctite 271, 10 cc) | под заказ | 1680 руб. |
| 17 | 293800005 | LOCTITE 271 *LOCTITE-271 | под заказ | 2150 руб. |
| 18 | 414612400 | Трубопровод. TouКольцо LE. TouКольцо SLE. (Tubing. Touring LE. Touring SLE.) | под заказ | по запросу |
| 18 | 414524700 | GAINE *HOUSING | под заказ | по запросу |

Время выполнения запроса 0.52615284919739 сек.
|
|