вконтакте

Контактный телефон: +7 (981) 121-46-93, +7 (800) 200-90-76 , Email: parts-katalog@yandex.ru, где купить

 
 

  Логин:

Пароль:

Регистрация

www.partskatalog.ru Все каталоги Запчасти Mercury Запчасти Suzuki Запчасти Tohatsu Запчасти Honda Контакты



УВАЖАЕМЫЕ КЛИЕНТЫ!
C 19 ДЕКАБРЯ 2025 ПО 02 МАРТА 2026 ГОДА ОТДЕЛ ЗАПЧАСТЕЙ И СЕРВИС РАБОТАТЬ НЕ БУДУТ
ПРОДАЖА ЛОДОЧНЫХ МОТОРОВ В ШТАТНОМ РЕЖИМЕ
ОБ ИЗМЕНЕНИЯХ В ГРАФИКЕ РАБОТЫ ЧИТАЙТЕ НА САЙТА




Все разделы каталога запчастей на этот двигатель

назад Раздел:   вперёд

вернуться к списку узлов и деталей

ДЕТАЛИРОВКА ДЛЯ МОДЕЛИ: EVINRUDE E15HPSXAFA

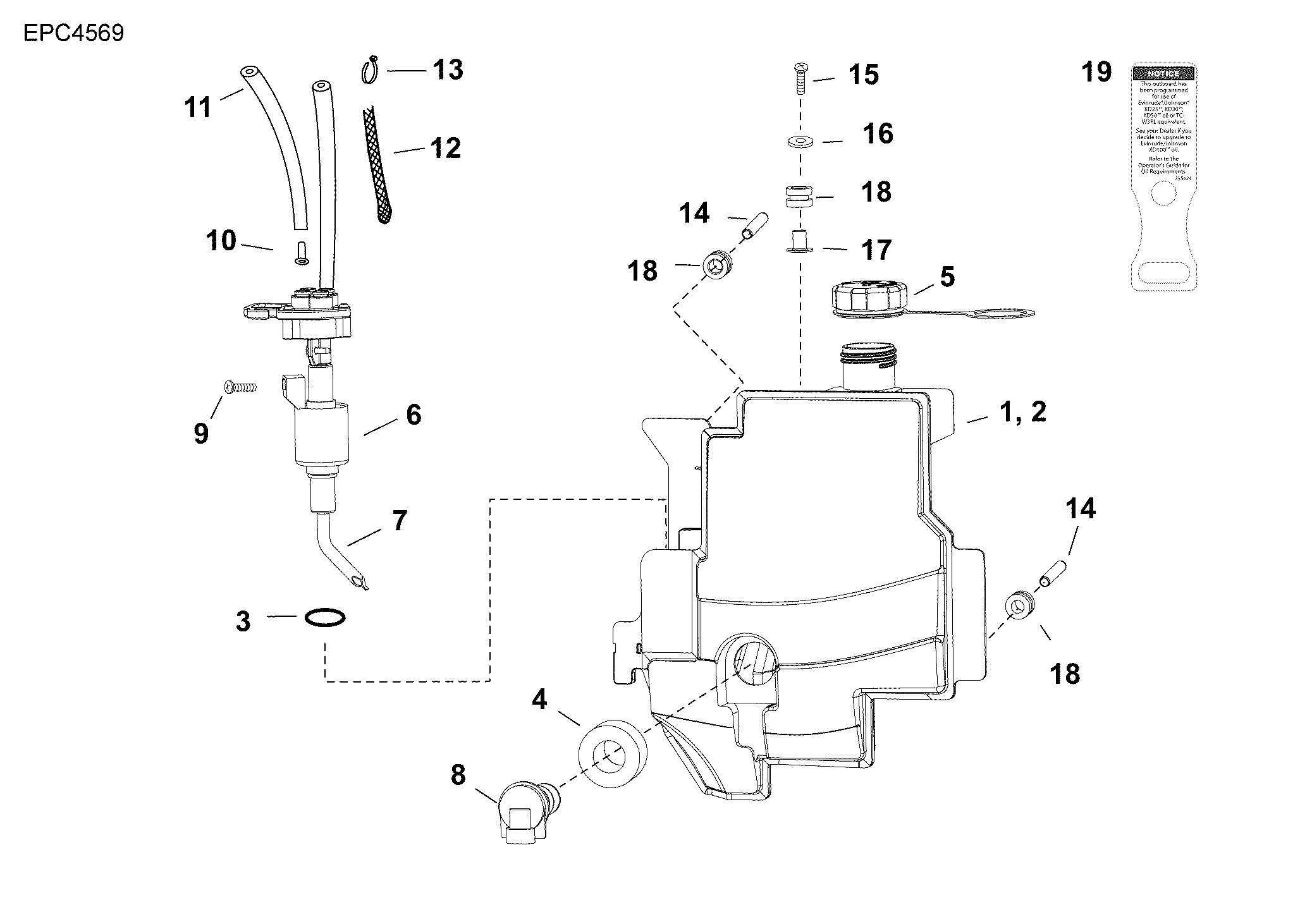
03-6 МАСЛЯНЫЙ БАК & ПОМПА | 03-6 OIL TANK & PUMP;


Подвесной мотор Эвинруд E15HPSXAFA  - Масляный бак & Помпа - oil Tank & Pump

Номер на
рисунке
АртикулНаименованиеКол-во
на складе
Цена
1 5008994

Масляный бак Assembly комплект (OIL TANK Assembly complete)

нет в наличии, поставок нет
2 5008995

*Масляный бак KIT (OIL TANK KIT)

нет в наличии, поставок нет
3 0338513

**Уплотнительное кольцо масляного насоса to Масляный бак (O-RING, Oil pump to oil tank)

нет в наличии, поставок нет
4 0353920

**Пыльник, Oil Переключатель (GROMMET, Oil switch)

нет в наличии, поставок нет
NS 0354365

**PUSH Гайка, Топливный насос to Масляный бак (PUSH NUT, Fuel pump to oil tank)

нет в наличии, поставок нет
5 5008406

*OIL Колпачок Assembly (OIL CAP Assembly)

нет в наличии, поставок нет
6 5009036

*Помпа & Коллектор Assembly (PUMP & MANIFOLD Assembly)

нет в наличии, поставок нет
7 5007719

**SCREEN Assembly (SCREEN Assembly)

нет в наличии, поставок нет
8 0352874

*Переключатель, Oil level (SWITCH, Oil level)

нет в наличии, поставок нет
9 0343245

*Винт Масляный насос Фиксатор (SCREW Oil pump retainer)

нет в наличии, поставок нет
10 0349898

*SвышеPORT, Шланг (SUPPORT, Hose)

нет в наличии, поставок нет
11 0778708

Масляный шланг. 0.093 дюйм (2.36 мм) diaПрибор. Bulk Roll 25 фут (7.62 m) (HOSE, Oil. 0.093 in. (2.36 mm) diameter. Bulk Roll 25 ft. (7.62 m))

нет в наличии, поставок нет
11 0776892

   (последний код) HOSE

нет в наличии, поставок нет
12 0508363

Гильза, Braided. 3 / 16 дюйм (4.76 мм) diaПрибор. Bulk Roll 25 фут (7.62 m) (SLEEVE, Braided. 3/16 in. (4.76 mm) diameter. Bulk Roll 25 ft. (7.62 m))

нет в наличии, поставок нет
13 0317893

Крепёжный хомут, Oil Шлангs to fittings (TIE STRAP, Oil hoses to fittings)

нет в наличии, поставок нет
13 3852149

   (последний код) TIE-STRAP

нет в наличии, поставок нет
14 0353642

Штифт, Масляный бак Креплениеing (PIN, Oil tank mounting)

нет в наличии, поставок нет
15 0353590

Винт, Масляный бак Креплениеing (SCREW, Oil tank mounting)

нет в наличии, поставок нет
16 0353761

Шайба, Масляный бак Крепление (WASHER, Oil tank mount)

нет в наличии, поставок нет
17 0338558

Проставка, Фланецd (SPACER, Flanged)

нет в наличии, поставок нет
18 0333040

ISOLATOR, Креплениеing (ISOLATOR, Mounting)

нет в наличии, поставок нет
19 0355625

EMM Oil program tag, XD100 oil (EMM Oil program tag, XD100 oil)

нет в наличии, поставок нет
20 0355624

EMM Oil program tag, TC-W3 oils (EMM Oil program tag, TC-W3 oils)

нет в наличии, поставок нет
21 0352927

EMM Oil program tag, XD100, large (EMM Oil program tag, XD100, large)

нет в наличии, поставок нет
NS 0333440

Струбцина, Loop - Oil Шланг to block. Шнур start models (CLAMP, Loop - Oil hose to block. Rope start models)

нет в наличии, поставок нет
NS 0317775

   (последний код) CLAMP

нет в наличии, поставок нет
NS 0353589

Винт, Loop Струбцина. Шнур start models (SCREW, Loop clamp. Rope start models)

нет в наличии, поставок нет
NS 0314254

Струбцина масляного шлангаs to Картер двигателя. Шнур start models (CLAMP, Oil hoses to crankcase. Rope start models)

нет в наличии, поставок нет
NS 0315254

   (последний код) CLAMP

нет в наличии, поставок нет
NS 0354818

Винт зажима. Шнур start models (SCREW, Clamp. Rope start models)

нет в наличии, поставок нет
NS 0320107

Крепёжный хомут, Oil level Переключатель lead (TIE STRAP, Oil level switch lead)

нет в наличии, поставок нет
NS 5035626

   (последний код) BAND,REM CON

нет в наличии, поставок нет
evinrude

Время выполнения запроса 0.45713806152344 сек.


 
 

данный сайт носит информационный характер и не является публичной офертой

склад запчастей для водомоторной техники