вконтакте

Контактный телефон: +7 (981) 121-46-93, +7 (800) 200-90-76 , Email: parts-katalog@yandex.ru, где купить

 
 

  Логин:

Пароль:

Регистрация

www.partskatalog.ru Все каталоги Запчасти Mercury Запчасти Suzuki Запчасти Tohatsu Запчасти Honda Контакты



УВАЖАЕМЫЕ КЛИЕНТЫ!
C 19 ДЕКАБРЯ 2025 ПО 02 МАРТА 2026 ГОДА ОТДЕЛ ЗАПЧАСТЕЙ И СЕРВИС РАБОТАТЬ НЕ БУДУТ
ПРОДАЖА ЛОДОЧНЫХ МОТОРОВ В ШТАТНОМ РЕЖИМЕ
ОБ ИЗМЕНЕНИЯХ В ГРАФИКЕ РАБОТЫ ЧИТАЙТЕ НА САЙТА




Все разделы каталога запчастей на этот двигатель

назад Раздел:   вперёд

вернуться к списку узлов и деталей

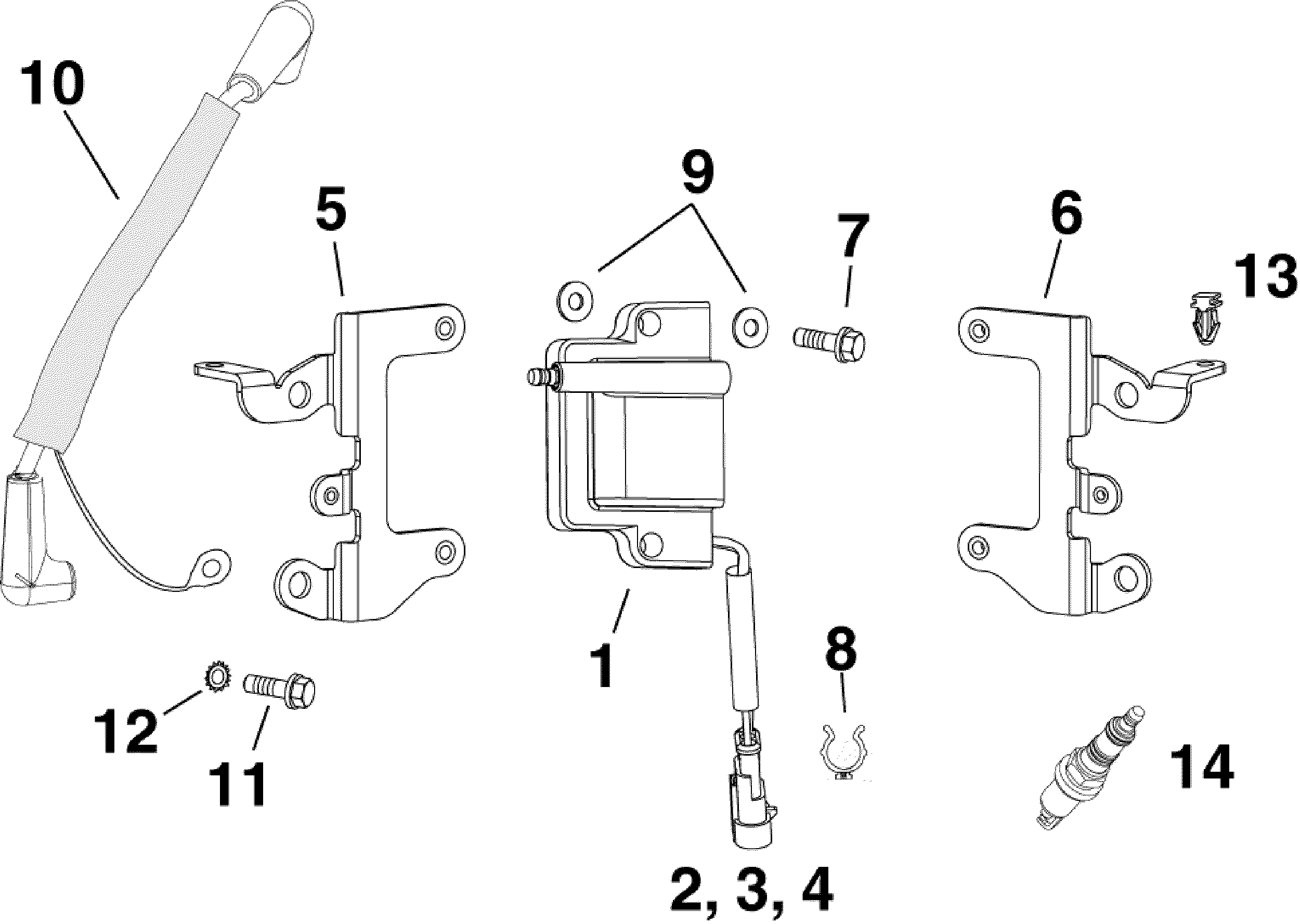
ДЕТАЛИРОВКА ДЛЯ МОДЕЛИ: EVINRUDE E150DBXAAA

02-5 КАТУШКА ЗАЖИГАНИЯS | 02-5 IGNITION COILS;


Подвесной двигатель Evinrude E150DBXAAA  - Катушка зажиганияs - ignition Coils

Номер на
рисунке
АртикулНаименованиеКол-во
на складе
Цена
1 0586980

Катушка зажигания (IGNITION COIL)

нет в наличии, поставок нет
1 0587275

   (последний код) COIL AY,IGNITION

нет в наличии, поставок нет
2 3011149

*Сальник, Lead (SEAL, Lead)

нет в наличии, поставок нет
3 3011148

*Клемма, Штифт (TERMINAL, Pin)

нет в наличии, поставок нет
4 3011156

*Коннектор, 3 Штифт Клемма (CONNECTOR, 3 pin terminal)

нет в наличии, поставок нет
5 0354055

Кронштейн катушки зажигания Крепление - Port (BRACKET, Ignition coil mount - Port)

нет в наличии, поставок нет
6 0354061

Кронштейн катушки зажигания Крепление - Starboard (BRACKET, Ignition coil mount - Starboard)

нет в наличии, поставок нет
7 0353545

Винт, Coil to Кронштейн (SCREW, Coil to bracket)

нет в наличии, поставок нет
8 3011450

Зажим, Коннектор to Топливная магистраль (CLIP, Connector to fuel rail)

нет в наличии, поставок нет
9 0353540

Шайба, Rubber, Катушка зажигания (WASHER, Rubber, Ignition coil)

нет в наличии, поставок нет
10 5007636

Свеча зажигания LEAD (SPARK PLUG LEAD)

нет в наличии, поставок нет
10 5006759

   (последний код) LEAD AY,H/T-RFI

нет в наличии, поставок нет
11 0315287

Винт, Заземление (SCREW, Ground)

нет в наличии, поставок нет
12 0327283

Шайба, Заземление Винт (WASHER, Ground screw)

нет в наличии, поставок нет
13 3011292

ANCHOR, инжектор Коннектор to Кронштейн (ANCHOR, Injector connector to bracket)

нет в наличии, поставок нет
14 5007419

Свеча зажигания - QC10WEP. Refer to Emission Управление Inдляmation Наклейки (SPARK PLUG - QC10WEP. Refer to Emission Control Information Label)

нет в наличии, поставок нет
14 5007120

   (последний код) Champion 5/14/07 OBSOLETE, REPLACED BY

нет в наличии, поставок нет
evinrude

Время выполнения запроса 0.3318190574646 сек.


 
 

данный сайт носит информационный характер и не является публичной офертой

склад запчастей для водомоторной техники