вконтакте

Контактный телефон: +7 (981) 121-46-93, +7 (800) 200-90-76 , Email: parts-katalog@yandex.ru, где купить

 
 

  Логин:

Пароль:

Регистрация

www.partskatalog.ru Все каталоги Запчасти Mercury Запчасти Suzuki Запчасти Tohatsu Запчасти Honda Контакты



УВАЖАЕМЫЕ КЛИЕНТЫ!
C 31 ОКТЯБРЯ 2025 ПО 10 НОЯБРЯ 2025 ГОДА РАБОТАТЬ НЕ БУДЕМ




Все разделы каталога запчастей на этот двигатель

назад Раздел:   вперёд

вернуться к списку узлов и деталей

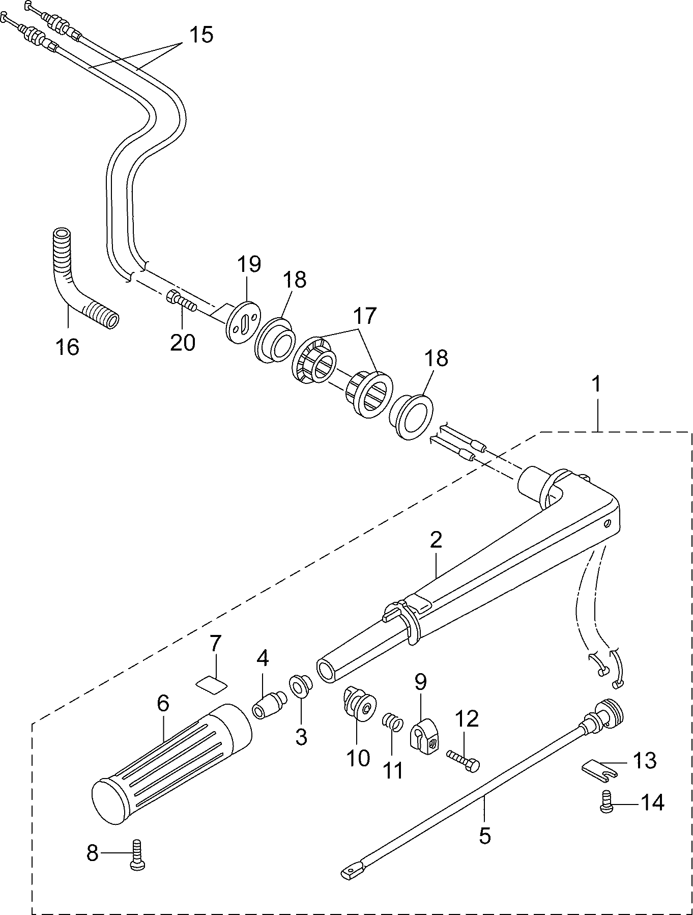
ДЕТАЛИРОВКА ДЛЯ МОДЕЛИ: EVINRUDE E3R4AAA

16-6 РУМПЕЛЬ ASSEMBLY | 16-6 TILLER HANDLE ASSEMBLY;


Подвесной двигатель Evinrude E3R4AAA  - Румпель Assembly

Номер на
рисунке
АртикулНаименованиеКол-во
на складе
Цена
1 5041421

Румпель ASSEMBLY (TILLER HANDLE ASSEMBLY)

нет в наличии, поставок нет
2 5041422

* Румпель ( TILLER HANDLE)

нет в наличии, поставок нет
3 5041026

* Втулка 14-15.8-7 ( Bushing 14-15.8-7)

нет в наличии, поставок нет
4 5041023

* Демфер вала дросселя ( THROTTLE SHAFT DAMPER)

нет в наличии, поставок нет
5 5041339

* Вал дросселя ( THROTTLE SHAFT)

нет в наличии, поставок нет
6 5041217

* Рукоятка ( GRIP)

нет в наличии, поставок нет
7 5041467

* Наклейка дросселя ( THROTTLE DECAL)

нет в наличии, поставок нет
8 5041599

* Винт ( SCREW)

нет в наличии, поставок нет
9 5041337

* Трущаяся деталька ( FRICTION PIECE)

нет в наличии, поставок нет
10 5041340

* Регулировочная гайка ( ADJUSTING NUT)

нет в наличии, поставок нет
11 5041338

* Пружина ( SPRING)

нет в наличии, поставок нет
12 5041525

* Болт ( BOLT)

нет в наличии, поставок нет
13 5040508

* Опора вала дросселя ( THROTTLE SHAFT SUPPORT)

нет в наличии, поставок нет
14 5041612

* Винт ( SCREW)

нет в наличии, поставок нет
15 5041345

Тросик дросселя (THROTTLE CABLE)

нет в наличии, поставок нет
16 5041094

Защита топливного шланга (FUEL HOSE PROTECTOR)

нет в наличии, поставок нет
17 5040413

Врулка румпеля (Bushing Handle)

нет в наличии, поставок нет
18 5040754

Handle Воротник (Handle Collar)

нет в наличии, поставок нет
19 5040414

Крышка (COVER)

нет в наличии, поставок нет
20 5041547

Болт (BOLT)

нет в наличии, поставок нет
evinrude

Время выполнения запроса 0.67800402641296 сек.


 
 

данный сайт носит информационный характер и не является публичной офертой

склад запчастей для водомоторной техники