вконтакте

Контактный телефон: +7 (981) 121-46-93, +7 (800) 200-90-76 , Email: parts-katalog@yandex.ru, где купить

 
 

  Логин:

Пароль:

Регистрация

www.partskatalog.ru Все каталоги Запчасти Mercury Запчасти Suzuki Запчасти Tohatsu Запчасти Honda Контакты



УВАЖАЕМЫЕ КЛИЕНТЫ!
C 31 ОКТЯБРЯ 2025 ПО 10 НОЯБРЯ 2025 ГОДА РАБОТАТЬ НЕ БУДЕМ




Все разделы каталога запчастей на этот двигатель

назад Раздел:  

вернуться к списку узлов и деталей

ДЕТАЛИРОВКА ДЛЯ МОДЕЛИ: EVINRUDE E135FSLSRM

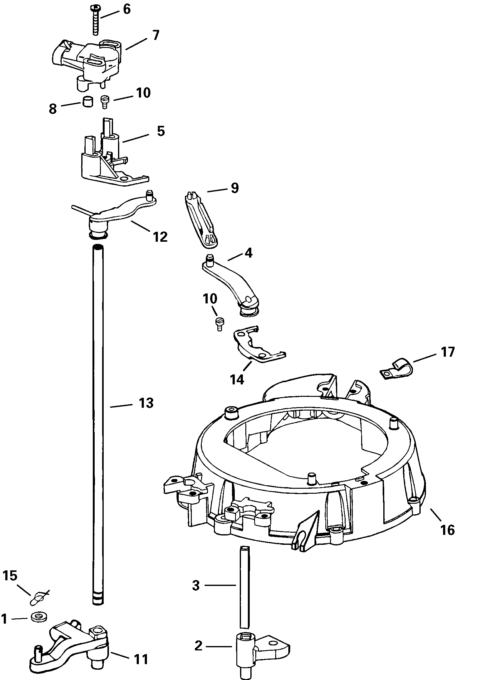
СОЕДИНИТЕЛЬ ДРОССЕЛЯAGE | THROTTLE LINKAGE;


 EVINRUDE E135FSLSRM  - rottle Подъемный механизм / rottle Linkage

Номер на
рисунке
АртикулНаименованиеКол-во
на складе
Цена
1 0328702

Шайба, Зажим (WASHER, Clip)

нет в наличии, поставок нет
1 3852183

   (последний код) WASHER

нет в наличии, поставок нет
2 0346838

Кулачок дросселя (CAM, Throttle)

нет в наличии, поставок нет
2 0346130

   (последний код) CAM,THROTTLE

нет в наличии, поставок нет
3 0335544

Вал, Ролик Рычаг (SHAFT, Roller arm)

нет в наличии, поставок нет
4 0343749

Рычаг, Рычаг дросселя (LEVER, Throttle arm)

нет в наличии, поставок нет
5 0343086

Фиксатор, Дроссель Датчик (RETAINER, Throttle sensor)

нет в наличии, поставок нет
6 0343877

Винт дросселя Датчик (SCREW, Throttle sensor)

нет в наличии, поставок нет
7 5001793

Датчик, Дроссель (SENSOR, Throttle)

нет в наличии, поставок нет
7 5001792

   (последний код) SENSOR AY,TH

нет в наличии, поставок нет
8 0344191

*Колпачок, Дроссель Датчик (CAP, Throttle sensor)

нет в наличии, поставок нет
9 0335595

Тяга дросселя (LINK, Throttle)

нет в наличии, поставок нет
10 0315656

Винт зажима Подъемный механизм (SCREW, Clamp linkage)

нет в наличии, поставок нет
11 5001722

Рычаг дросселя & Штифт (THROTTLE ARM & PIN)

нет в наличии, поставок нет
12 0438255

Рычаг дросселя (THROTTLE LEVER)

нет в наличии, поставок нет
13 0335548

Вал, Рычаг дросселя (SHAFT, Throttle arm)

нет в наличии, поставок нет
14 0335717

Фиксатор, Подъемный механизм to Крышка (RETAINER, Linkage to cover)

нет в наличии, поставок нет
15 0333774

Зажим, Тросик дросселя (CLIP, Throttle cable)

нет в наличии, поставок нет
16 5004519

Маховик, Крышка (FLYWHEEL, Cover)

нет в наличии, поставок нет
16 0439751

   (последний код) COVER AY,FLYWHEEL

нет в наличии, поставок нет
17 0330151

Струбцина (CLAMP)

нет в наличии, поставок нет
17 3852199

   (последний код) CLAMP,"J"

нет в наличии, поставок нет
evinrude

Время выполнения запроса 0.99820518493652 сек.


 
 

данный сайт носит информационный характер и не является публичной офертой

склад запчастей для водомоторной техники