| |
Все разделы каталога запчастей на этот двигатель
вернуться к списку узлов и деталей ДЕТАЛИРОВКА ДЛЯ МОДЕЛИ: EVINRUDE E150FPLSNF Ficht Fuel Injection, 20 in.
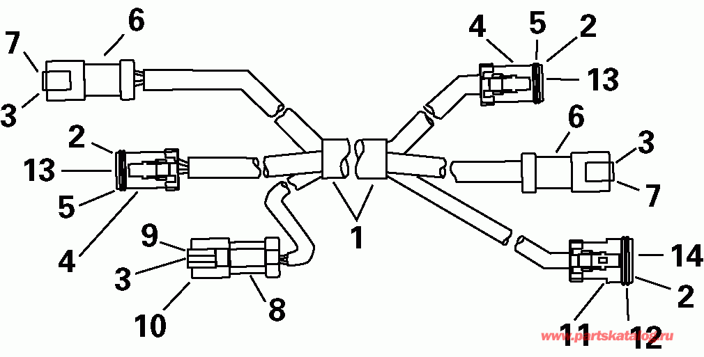
УДЛИНИТЕЛЬ КАБЕЛИ | EXTENSION CABLE;
Номер на рисунке | Артикул | Наименование | Кол-во на складе | Цена |
| 1 | 0176334 | Удлинитель Жгут проводов, 10 фут (3m) (EXTENSION HARNESS, 10 ft. (3m)) | нет в наличии, поставок нет |
| 2 | 0514680 | *Клемма, Socket (TERMINAL, Socket) | нет в наличии, поставок нет |
| 3 | 0514679 | *Клемма, Штифт (TERMINAL, Pin) | нет в наличии, поставок нет |
| 4 | 0514687 | *Коннектор, 6 socket (CONNECTOR, 6 socket) | нет в наличии, поставок нет |
| 5 | 0514790 | **Сальник, 6 socket (SEAL, 6 socket) | нет в наличии, поставок нет |
| 6 | 0514688 | *Коннектор, 6 Штифт (CONNECTOR, 6 pin) | нет в наличии, поставок нет |
| 7 | 0514684 | *LOCK WEDGE, 6 Штифт (LOCK WEDGE, 6 pin) | нет в наличии, поставок нет |
| 8 | 0514685 | Коннектор, 3 socket (CONNECTOR, 3 socket) | нет в наличии, поставок нет |
| 9 | 0514789 | **Сальник, 3 socket (SEAL, 3 socket) | нет в наличии, поставок нет |
| 10 | 0514682 | *LOCK WEDGE, 3 Штифт (LOCK WEDGE, 3 pin) | нет в наличии, поставок нет |
| 11 | 0514686 | *Коннектор, 3 socket (CONNECTOR, 3 socket) | нет в наличии, поставок нет |
| 12 | 0514789 | *Сальник, 3 socket (SEAL, 3 socket) | нет в наличии, поставок нет |
| 13 | 0514683 | *LOCK WEDGE, 6 socket (LOCK WEDGE, 6 socket) | нет в наличии, поставок нет |
| 14 | 0514681 | *LOCK WEDGE, 3 socket (LOCK WEDGE, 3 socket) | нет в наличии, поставок нет |

Время выполнения запроса 0.42586207389832 сек.
|
|