вконтакте

Контактный телефон: +7 (981) 121-46-93, +7 (800) 200-90-76 , Email: parts-katalog@yandex.ru, где купить

 
 

  Логин:

Пароль:

Регистрация

www.partskatalog.ru Все каталоги Запчасти Mercury Запчасти Suzuki Запчасти Tohatsu Запчасти Honda Контакты



УВАЖАЕМЫЕ КЛИЕНТЫ!
C 31 ОКТЯБРЯ 2025 ПО 10 НОЯБРЯ 2025 ГОДА РАБОТАТЬ НЕ БУДЕМ




Все разделы каталога запчастей на этот двигатель

назад Раздел:   вперёд

вернуться к списку узлов и деталей

ДЕТАЛИРОВКА ДЛЯ МОДЕЛИ: EVINRUDE E15WRLSIR commercial, rope start, tiller

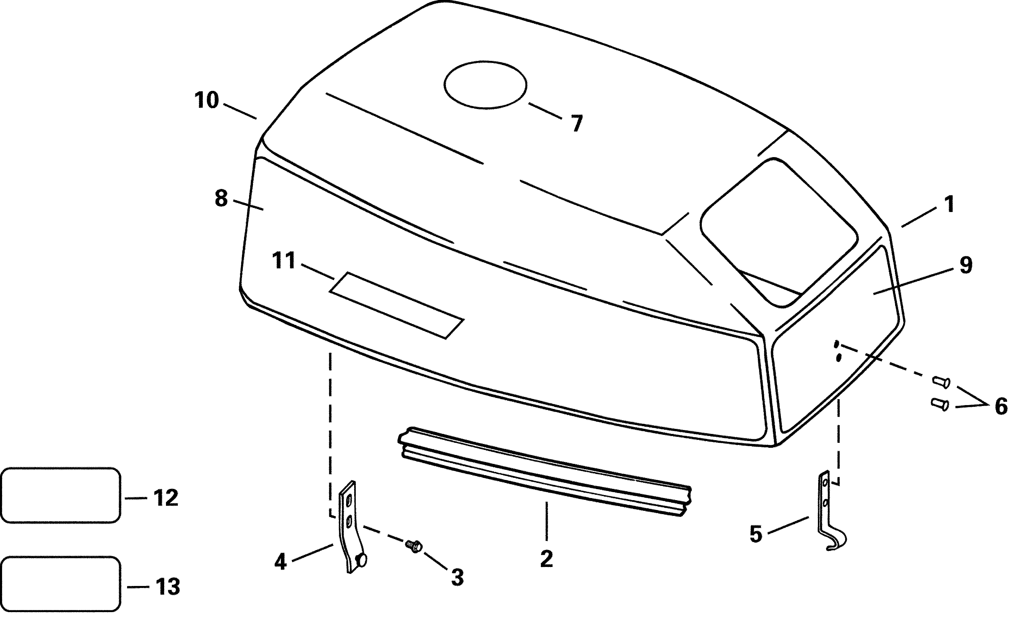
КРЫШКА ДВИГАТЕЛЯ (КАПОТ) - JOHNSON | ENGINE COVER - JOHNSON;


Подвесной мотор Evinrude E15WRLSIR commercial, rope start, tiller  - Johnson / Johnson

Номер на
рисунке
АртикулНаименованиеКол-во
на складе
Цена
1 5004400

Крышка двигателя (капот) в сборе. (ENGINE COVER ASSY.)

нет в наличии, поставок нет
2 0339204

*Сальник (SEAL)

нет в наличии, поставок нет
3 0329217

*Винт, Rear Крючок (SCREW, Rear hook)

нет в наличии, поставок нет
3 0333707

   (последний код) SCREW

нет в наличии, поставок нет
4 0438947

*Крючок, Rear (HOOK, Rear)

нет в наличии, поставок нет
5 0436301

*Крючок спереди (HOOK, Front)

нет в наличии, поставок нет
6 0339068

*Заклёпка, Front Крючок (RIVET, Front hook)

нет в наличии, поставок нет
7 0345056

*LENS (LENS)

нет в наличии, поставок нет
8 0349011

*Наклейка, Wrap (DECAL, Wrap)

нет в наличии, поставок нет
9 0349012

*Наклейка, Front (DECAL, Front)

нет в наличии, поставок нет
10 0349014

*Наклейка, Rear (DECAL, Rear)

нет в наличии, поставок нет
11 0348615

*Наклейка, Stbd. & Port (Commercial) (DECAL, Stbd. & Port (Commercial))

нет в наличии, поставок нет
12 0333978

Наклейка, Start warning (DECAL, Start warning)

нет в наличии, поставок нет
13 0334435

Наклейка, Owner attn. (DECAL, Owner attn.)

нет в наличии, поставок нет
13 0911902

   (последний код) DECAL

нет в наличии, поставок нет
evinrude

Время выполнения запроса 0.25108003616333 сек.


 
 

данный сайт носит информационный характер и не является публичной офертой

склад запчастей для водомоторной техники