вконтакте

Контактный телефон: +7 (981) 121-46-93, +7 (800) 200-90-76 , Email: parts-katalog@yandex.ru, где купить

 
 

  Логин:

Пароль:

Регистрация

www.partskatalog.ru Все каталоги Запчасти Mercury Запчасти Suzuki Запчасти Tohatsu Запчасти Honda Контакты



УВАЖАЕМЫЕ КЛИЕНТЫ!
C 31 ОКТЯБРЯ 2025 ПО 10 НОЯБРЯ 2025 ГОДА РАБОТАТЬ НЕ БУДЕМ




Все разделы каталога запчастей на этот двигатель

назад Раздел:   вперёд

вернуться к списку узлов и деталей

ДЕТАЛИРОВКА ДЛЯ МОДЕЛИ: EVINRUDE E25RL4SSS 4-Stroke, Rope Start, Tiller,

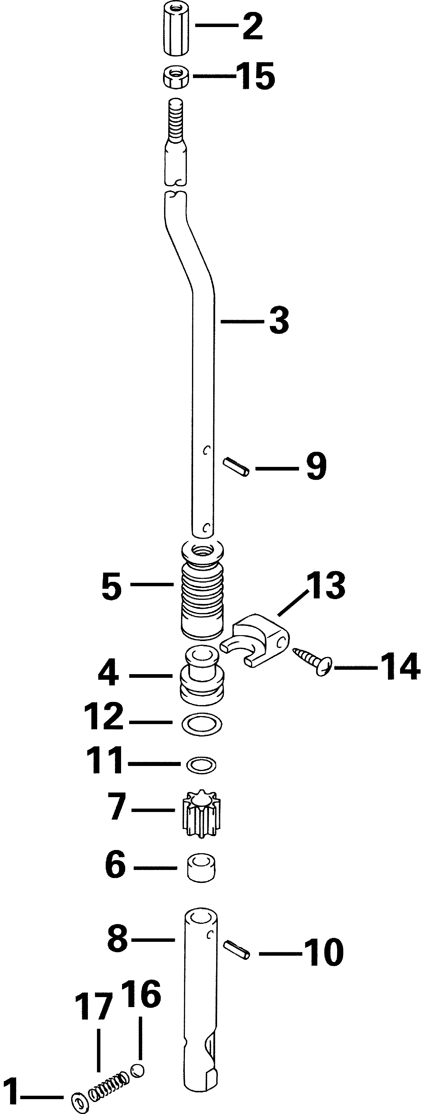
ПЕРЕКЛЮЧАЮЩАЯ ТЯГА | SHIFT ROD;


Подвесной лодочный мотор Эвинруд E25RL4SSS 4-Stroke, Rope Start, Tiller,   - ift Тяга

Номер на
рисунке
АртикулНаименованиеКол-во
на складе
Цена
1 5032335

Пластина, Пружина, cam (PLATE, Spring, cam)

нет в наличии, поставок нет
2 5031449

Коннектор переключающей тяги (CONNECTOR, Shift rod)

нет в наличии, поставок нет
3 5032019

Переключающая тяга - Z. 15" Models Only (SHIFT ROD - Z. 15" Models Only)

нет в наличии, поставок нет
3 5032018

Переключающая тяга - Y. 20" Models Only (SHIFT ROD - Y. 20" Models Only)

нет в наличии, поставок нет
4 5032020

Направляющая переключающей тяги (GUIDE, Shift rod)

нет в наличии, поставок нет
5 5032022

Башмак переключающей тяги (BOOT, Shift rod)

нет в наличии, поставок нет
6 5032023

Проставка, Magnet (SPACER, Magnet)

нет в наличии, поставок нет
7 5032024

MAGNET, Редуктор (MAGNET, Gearcase)

нет в наличии, поставок нет
8 5032025

CAM, Переключающая тяга (CAM, Shift rod)

нет в наличии, поставок нет
9 5030513

Штифт, Переключающая тяга (PIN, Shift rod)

нет в наличии, поставок нет
10 5030514

Штифт, Cam (PIN, Cam)

нет в наличии, поставок нет
11 5031260

Уплотнительное кольцо, Переключающая тяга (O-RING, Shift rod)

нет в наличии, поставок нет
12 5030536

Уплотнительное кольцо, Направляющая (O-RING, Guide)

нет в наличии, поставок нет
13 5032021

STOP, Переключающая тяга Направляющая (STOP, Shift rod guide)

нет в наличии, поставок нет
14 5031825

Винт стопора (SCREW, Stop)

нет в наличии, поставок нет
15 5030051

Гайка, Переключающая тяга (NUT, Shift rod)

нет в наличии, поставок нет
16 5032336

Шарик, Cam (BALL, Cam)

нет в наличии, поставок нет
17 5032337

Пружина, Cam (SPRING, Cam)

нет в наличии, поставок нет
evinrude

Время выполнения запроса 0.93454194068909 сек.


 
 

данный сайт носит информационный характер и не является публичной офертой

склад запчастей для водомоторной техники