вконтакте

Контактный телефон: +7 (981) 121-46-93, +7 (800) 200-90-76 , Email: parts-katalog@yandex.ru, где купить

 
 

  Логин:

Пароль:

Регистрация

www.partskatalog.ru Все каталоги Запчасти Mercury Запчасти Suzuki Запчасти Tohatsu Запчасти Honda Контакты



УВАЖАЕМЫЕ КЛИЕНТЫ!
C 31 ОКТЯБРЯ 2025 ПО 10 НОЯБРЯ 2025 ГОДА РАБОТАТЬ НЕ БУДЕМ




Все разделы каталога запчастей на этот двигатель

назад Раздел:   вперёд

вернуться к списку узлов и деталей

ДЕТАЛИРОВКА ДЛЯ МОДЕЛИ: EVINRUDE E3WRSSC Commercial, Rope Start, Tiller,

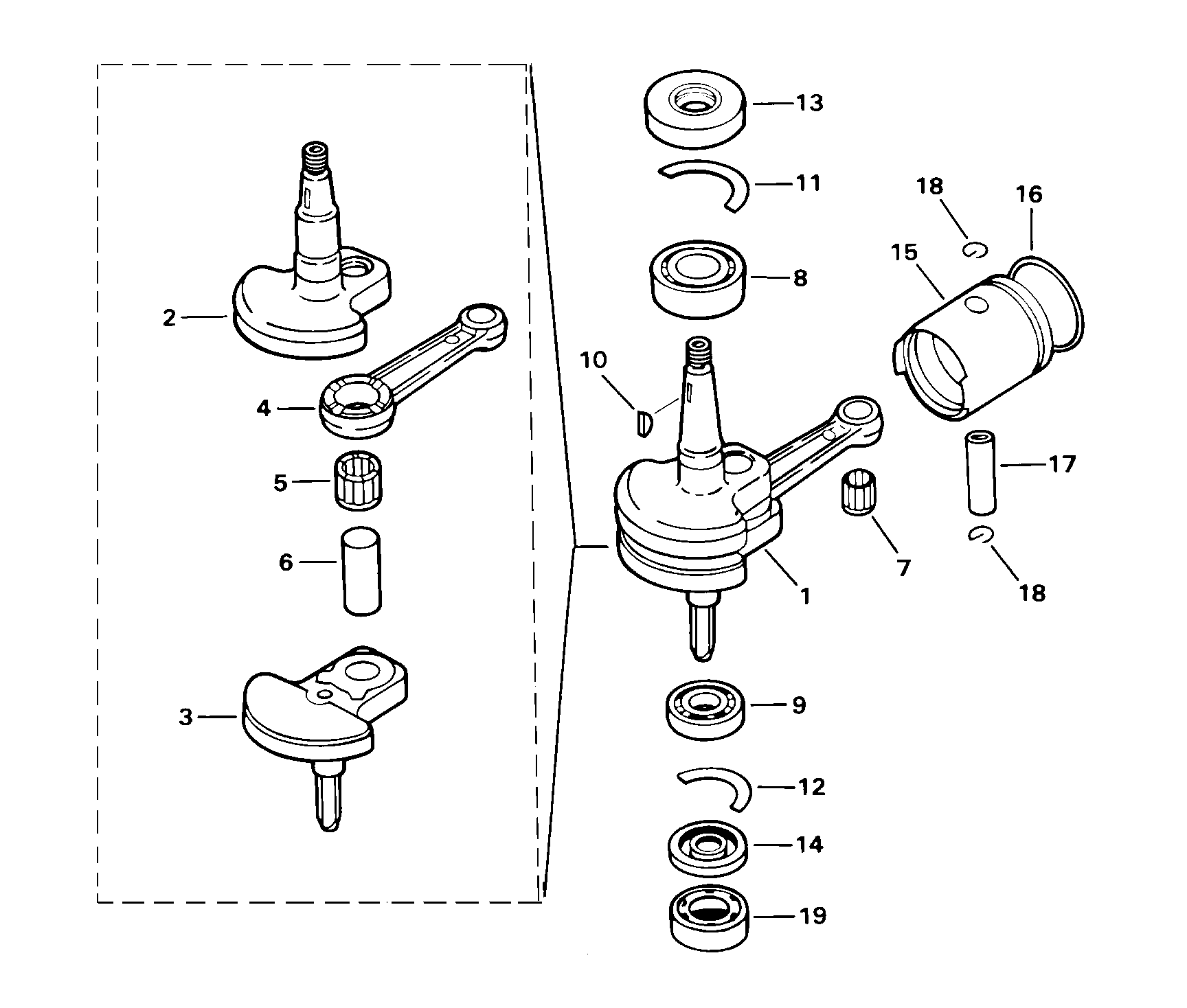
ПОРШЕНЬ & КОЛЕНВАЛ | PISTON & CRANKSHAFT;


Двигатель Evinrude E3WRSSC Commercial, Rope Start, Tiller,   - ston & Crankshaft - ston & Коленвал

Номер на
рисунке
АртикулНаименованиеКол-во
на складе
Цена
1 0114819

Коленвал & Шатун в сборе. (CRANKSHAFT & CONNECTING ROD ASSY.)

нет в наличии, поставок нет
2 0115520

*Коленвал, верхний (CRANKSHAFT, Upper)

нет в наличии, поставок нет
3 0115521

*Коленвал, нижний (CRANKSHAFT, Lower)

нет в наличии, поставок нет
4 0115512

*Шатун (CONNECTING ROD)

нет в наличии, поставок нет
5 0115516

*Подшипник шатуна (BEARING, Connecting rod)

нет в наличии, поставок нет
6 0115522

*Палец коленвала (CRANK PIN)

нет в наличии, поставок нет
7 0115514

Подшипник, Wrist Штифт (BEARING, Wrist pin)

1 шт3540 руб.
8 0115517

Подшипник коленвала, верхний (BEARING, Crankshaft, upper)

1 шт8240 руб.
9 0115518

Подшипник коленвала, нижний (BEARING, Crankshaft, lower)

нет в наличии, поставок нет
10 0115519

Ключ маховика (KEY, Flywheel)

нет в наличии, поставок нет
11 0115507

Фиксатор, верхний Подшипник (RETAINER, Upper bearing)

1 шт760 руб.
12 0115508

Фиксатор, нижний Подшипник (RETAINER, Lower bearing)

1 шт570 руб.
13 0115500

Коленвал Сальник, верхний (CRANKSHAFT SEAL, Upper)

нет в наличии, поставок нет
14 0115604

Коленвал Сальник, нижний (CRANKSHAFT SEAL, Lower)

нет в наличии, поставок нет
15 0114822

Поршень & DOWEL в сборе. (PISTON & DOWEL ASSY.)

нет в наличии, поставок нет
16 0115506

Кольцо, Поршень (RING, Piston)

нет в наличии, поставок нет
17 0115513

WRIST Штифт (WRIST PIN)

нет в наличии, поставок нет
18 0115515

Зажим, Wrist Штифт (CLIP, Wrist pin)

9 шт510 руб.
19 0115605

Сальник, Трубка, Трансмиссия Вал (SEAL, Tube, transmission shaft)

2 шт870 руб.
evinrude

Время выполнения запроса 0.98343396186829 сек.


 
 

данный сайт носит информационный характер и не является публичной офертой

склад запчастей для водомоторной техники