| |
Все разделы каталога запчастей на этот двигатель
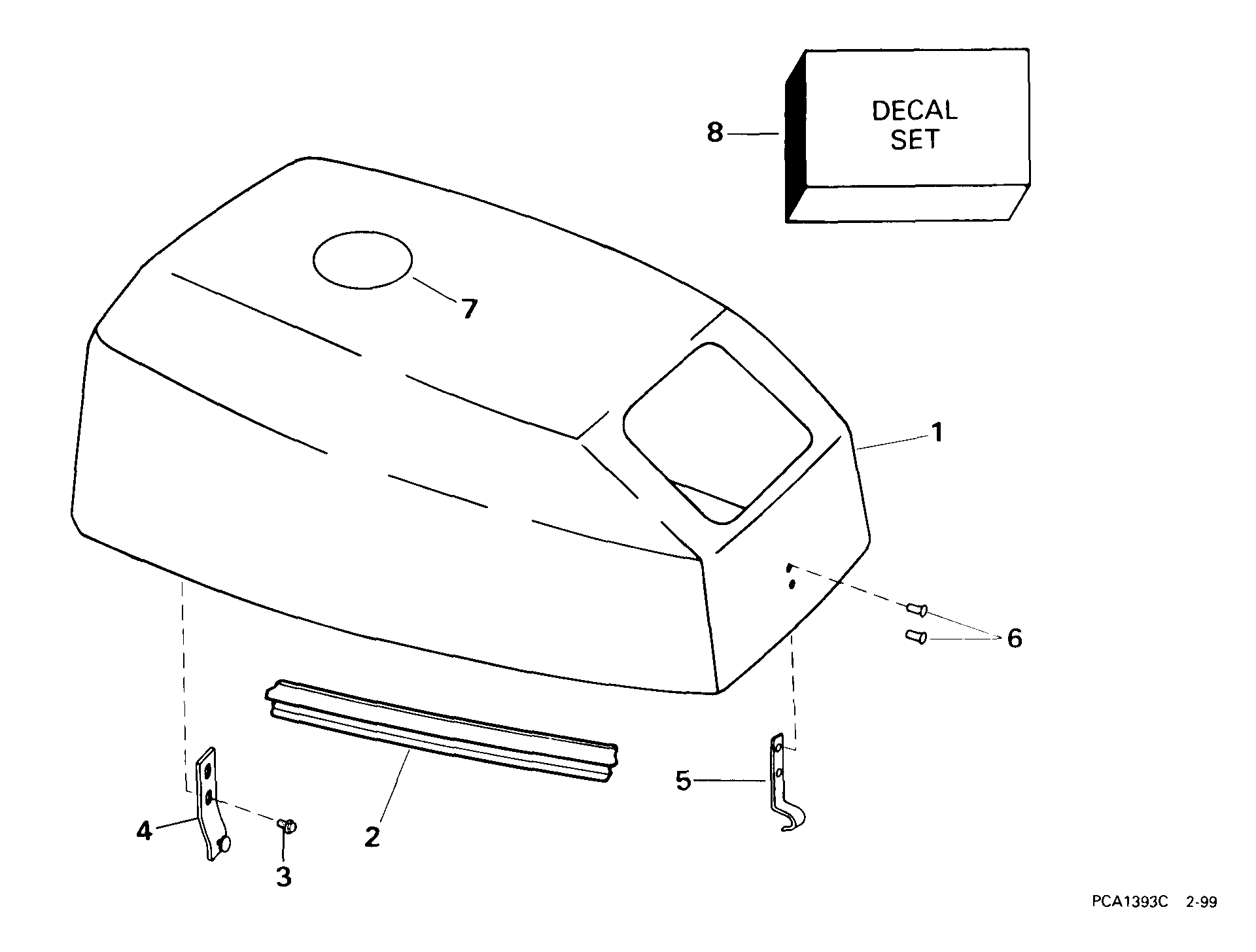
вернуться к списку узлов и деталей ДЕТАЛИРОВКА ДЛЯ МОДЕЛИ: EVINRUDE E15WRLEES 1999
КРЫШКА ДВИГАТЕЛЯ (КАПОТ) -- EVINRUDE | ENGINE COVER -- EVINRUDE;
Номер на рисунке | Артикул | Наименование | Кол-во на складе | Цена |
| 1 | 0285073 | Крышка двигателя (капот) в сборе. (ENGINE COVER ASSY.) | нет в наличии, поставок нет |
| 2 | 0339204 | Сальник (SEAL) | нет в наличии, поставок нет |
| 3 | 0329217 | Винт, Rear Крючок (SCREW, Rear hook) | нет в наличии, поставок нет |
| 3 | 0333707 | (последний код) SCREW | нет в наличии, поставок нет |
| 4 | 0438947 | Крючок, Rear (HOOK, Rear) | нет в наличии, поставок нет |
| 5 | 0436301 | Крючок спереди (HOOK, Front) | нет в наличии, поставок нет |
| 6 | 0339068 | Заклёпка, Front Крючок (RIVET, Front hook) | нет в наличии, поставок нет |
| 7 | 0213238 | LENS (LENS) | нет в наличии, поставок нет |
| 8 | 0285088 | Комплект наклеек (DECAL SET) | нет в наличии, поставок нет |

Время выполнения запроса 1.2041800022125 сек.
|
|