вконтакте

Контактный телефон: +7 (981) 121-46-93, +7 (800) 200-90-76 , Email: parts-katalog@yandex.ru, где купить

 
 

  Логин:

Пароль:

Регистрация

www.partskatalog.ru Все каталоги Запчасти Mercury Запчасти Suzuki Запчасти Tohatsu Запчасти Honda Контакты



УВАЖАЕМЫЕ КЛИЕНТЫ!
C 31 ОКТЯБРЯ 2025 ПО 10 НОЯБРЯ 2025 ГОДА РАБОТАТЬ НЕ БУДЕМ




Все разделы каталога запчастей на этот двигатель

назад Раздел:   вперёд

вернуться к списку узлов и деталей

ДЕТАЛИРОВКА ДЛЯ МОДЕЛИ: EVINRUDE SE15BAEEM 1999

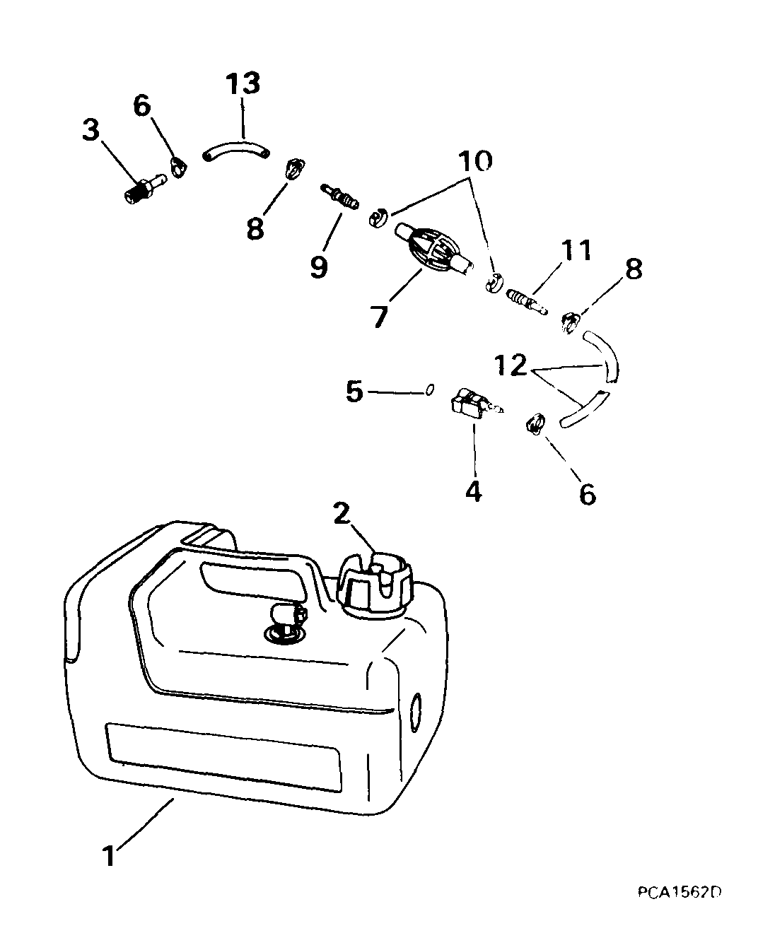
ТОПЛИВНЫЙ БАК | FUEL TANK;


Лодочный подвесной мотор EVINRUDE SE15BAEEM 1999  - el Tank / el Tank

Номер на
рисунке
АртикулНаименованиеКол-во
на складе
Цена
1 0176997

Топливный бак (FUEL TANK)

нет в наличии, поставок нет
1 0502365

   (последний код) GAS TK 3.2#00012

нет в наличии, поставок нет
2 0502936

Колпачок, Gas (CAP, Gas)

нет в наличии, поставок нет
2 0177004

   (последний код) CAP AY

нет в наличии, поставок нет
3 0173311

Ниппель (NIPPLE)

нет в наличии, поставок нет
3 0387121

   (последний код) NIPPLE KIT

нет в наличии, поставок нет
0176998 0176998

Топливный шланг & Топливная груша. Not Shown (FUEL HOSE & PRIMER BULB. Not Shown .)

нет в наличии, поставок нет
4 0176745

Топливный шланг Коннектор KIT (FUEL HOSE CONNECTOR KIT)

нет в наличии, поставок нет
4 0775640

   (последний код) FUEL CONN KIT 5/16

нет в наличии, поставок нет
5 0334913

Уплотнительное кольцо (O-RING)

нет в наличии, поставок нет
5 0331380

   (последний код) O-RING-10PK

нет в наличии, поставок нет
6 0331384

Струбцина (CLAMP)

нет в наличии, поставок нет
7 0174511

Топливная груша KIT (PRIMER BULB KIT)

нет в наличии, поставок нет
7 0775638

   (последний код) PRIM BULB KIT 5/16

нет в наличии, поставок нет
8 0322652

Струбцина, Защелка (CLAMP, Snap)

нет в наличии, поставок нет
8 3852170

   (последний код) CLAMP,SNAP

нет в наличии, поставок нет
9 0397525

Ниппель & Клапан в сборе. (NIPPLE & VALVE ASSY.)

нет в наличии, поставок нет
9 0393511

   (последний код) NIPPLE&VALVE AY

нет в наличии, поставок нет
10 0553166

Струбцина, Ремешок, large (CLAMP, Band, large)

нет в наличии, поставок нет
11 0396462

Ниппель & Клапан в сборе. (NIPPLE & VALVE ASSY.)

нет в наличии, поставок нет
11 0383720

   (последний код) NIPPLE & VLVE

нет в наличии, поставок нет
12 0

Шланг, Long, 72 дюйм (1830 мм) сокращёная длина from P / N 333341 -- 5 / 16 дюйм I.D., 25 фут (7, 6m) Roll (HOSE, Long, 72 in. (1830mm). Cut to Length from P/N 333341 -- 5/16 in. I.D., 25 ft. (7,6m) Roll .)

нет в наличии, поставок нет
13 0

Шланг, Short, 19 1 / 2 дюйм (495 мм) сокращёная длина from P / N 333341 -- 5 / 16 дюйм I.D., 25 фут (7, 6m) Roll (HOSE, Short, 19 1/2 in. (495mm). Cut to Length from P/N 333341 -- 5/16 in. I.D., 25 ft. (7,6m) Roll .)

нет в наличии, поставок нет
evinrude

Время выполнения запроса 0.77301979064941 сек.


 
 

данный сайт носит информационный характер и не является публичной офертой

склад запчастей для водомоторной техники