| |
Все разделы каталога запчастей на этот двигатель
вернуться к списку узлов и деталей ДЕТАЛИРОВКА ДЛЯ МОДЕЛИ: EVINRUDE BE200TXECM 1998
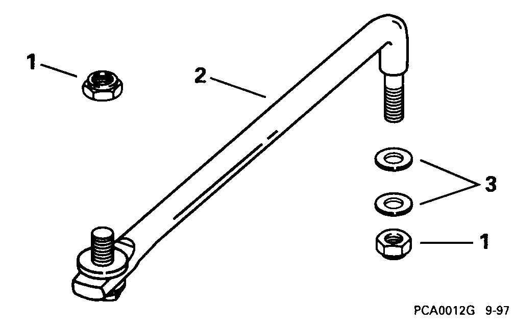
РУЛЕВАЯ СИСТЕМА СОЕДИНИТЕЛЬ KIT | STEERING LINK KIT;
Номер на рисунке | Артикул | Наименование | Кол-во на складе | Цена |
| 0175125 | 0175125 | Рулевая система Соединитель KIT. Not Shown (STEERING LINK KIT. Not Shown) | нет в наличии, поставок нет |
| 0175125 | 0175110 | (последний код) ROD AY, CONNECTOR | нет в наличии, поставок нет |
| 1 | 0315077 | LOCKГайка (LOCKNUT) | нет в наличии, поставок нет |
| 1 | 3852132 | (последний код) NUT,LOCK | нет в наличии, поставок нет |
| 2 | 0175110 | Тяга в сборе. (ROD ASSY.) | нет в наличии, поставок нет |
| 3 | 0319453 | Шайба (WASHER) | нет в наличии, поставок нет |
| 3 | 3852155 | (последний код) WASHER | нет в наличии, поставок нет |

Время выполнения запроса 0.59777092933655 сек.
|
|