вконтакте

Контактный телефон: +7 (981) 121-46-93, +7 (800) 200-90-76 , Email: parts-katalog@yandex.ru, где купить

 
 

  Логин:

Пароль:

Регистрация

www.partskatalog.ru Все каталоги Запчасти Mercury Запчасти Suzuki Запчасти Tohatsu Запчасти Honda Контакты



УВАЖАЕМЫЕ КЛИЕНТЫ!
C 19 ДЕКАБРЯ 2025 ПО 02 МАРТА 2026 ГОДА ОТДЕЛ ЗАПЧАСТЕЙ И СЕРВИС РАБОТАТЬ НЕ БУДУТ
ПРОДАЖА ЛОДОЧНЫХ МОТОРОВ В ШТАТНОМ РЕЖИМЕ
ОБ ИЗМЕНЕНИЯХ В ГРАФИКЕ РАБОТЫ ЧИТАЙТЕ НА САЙТА




Все разделы каталога запчастей на этот двигатель

назад Раздел:   вперёд

вернуться к списку узлов и деталей

ДЕТАЛИРОВКА ДЛЯ МОДЕЛИ: EVINRUDE E150NXECD 1998

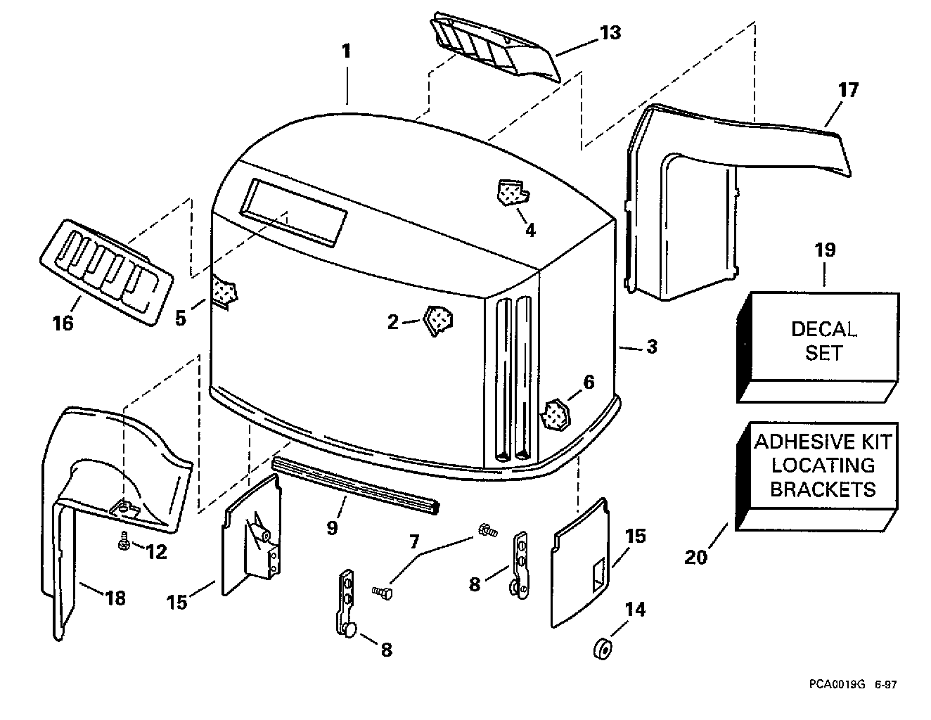
КРЫШКА ДВИГАТЕЛЯ (КАПОТ) -- EVINRUDE | ENGINE COVER -- EVINRUDE;


 Evinrude E150NXECD 1998  - Evinrude -  Evinrude

Номер на
рисунке
АртикулНаименованиеКол-во
на складе
Цена
1 0285016

Крышка двигателя (капот) в сборе.. 150EL (ENGINE COVER ASSY.. 150EL)

нет в наличии, поставок нет
1 0284440

Крышка двигателя (капот) в сборе.. 150EX, 150NX, 150SL (ENGINE COVER ASSY.. 150EX, 150NX, 150SL)

нет в наличии, поставок нет
1 0285019

Крышка двигателя (капот) в сборе.. 150JL (ENGINE COVER ASSY.. 150JL)

нет в наличии, поставок нет
1 0285017

Крышка двигателя (капот) в сборе.. 150GL (ENGINE COVER ASSY.. 150GL)

нет в наличии, поставок нет
1 0285018

Крышка двигателя (капот) в сборе.. 175GL (ENGINE COVER ASSY.. 175GL)

нет в наличии, поставок нет
1 0284441

Крышка двигателя (капот) в сборе.. 175EX, 175NX, 175SL (ENGINE COVER ASSY.. 175EX, 175NX, 175SL)

нет в наличии, поставок нет
1 0284954

Крышка двигателя (капот) в сборе.. L150GL красный (ENGINE COVER ASSY.. L150GL Red)

нет в наличии, поставок нет
1 0284856

Крышка двигателя (капот) в сборе.. L150GL зелёный (ENGINE COVER ASSY.. L150GL Green)

нет в наличии, поставок нет
1 0284955

Крышка двигателя (капот) в сборе.. L150GL голубой (ENGINE COVER ASSY.. L150GL Blue)

нет в наличии, поставок нет
1 0285102

Крышка двигателя (капот) в сборе.. L150GL Beige (ENGINE COVER ASSY.. L150GL Beige)

нет в наличии, поставок нет
2 0341489

SOUND BLANKET, Stbd. (SOUND BLANKET, Stbd.)

нет в наличии, поставок нет
3 0341488

SOUND BLANKET, Port (SOUND BLANKET, Port)

нет в наличии, поставок нет
3 0335929

   (последний код) BLANKET,SOUND-S

нет в наличии, поставок нет
4 0341490

SOUND BLANKET, Top (SOUND BLANKET, Top)

нет в наличии, поставок нет
4 0335930

   (последний код) BLANKET,SOUND-T

нет в наличии, поставок нет
5 0341487

SOUND BLANKET, Rear (SOUND BLANKET, Rear)

нет в наличии, поставок нет
5 0335928

   (последний код) BLANKET,SOUND-R

нет в наличии, поставок нет
6 0341486

SOUND BLANKET, Front (SOUND BLANKET, Front)

нет в наличии, поставок нет
6 0335927

   (последний код) BLANKET,SOUND-F

нет в наличии, поставок нет
7 0342191

Винт, Крючок (SCREW, Hook)

нет в наличии, поставок нет
7 0336753

   (последний код) SCREW

нет в наличии, поставок нет
8 0435445

Крючок в сборе. (HOOK ASSY.)

нет в наличии, поставок нет
8 0433513

   (последний код) HOOK-AY,LCT-BRK

нет в наличии, поставок нет
9 0335843

Сальник (SEAL)

нет в наличии, поставок нет
12 0323937

Винт, Baffle to louver (SCREW, Baffle to louver)

нет в наличии, поставок нет
13 0335301

LOUVER, Port (LOUVER, Port)

нет в наличии, поставок нет
13 T-0335301

   (не оригинальный аналог) Насос осушительный 1500GPH, 12В, модель R18

под заказ шт5450 руб.
14 0336747

Бампер, Кронштейн (BUMPER, Bracket)

нет в наличии, поставок нет
15 0435391

LOCATING Кронштейн (LOCATING BRACKET)

нет в наличии, поставок нет
16 0335302

LOUVER, Starboard (LOUVER, Starboard)

нет в наличии, поставок нет
17 0335357

BAFFLE, Port (BAFFLE, Port)

нет в наличии, поставок нет
18 0335358

BAFFLE, Starboard (BAFFLE, Starboard)

нет в наличии, поставок нет
19 0285063

Комплект наклеек. 150GL (DECAL SET. 150GL)

нет в наличии, поставок нет
19 0284536

Комплект наклеек. 150EX, 150NX, 150SL (DECAL SET. 150EX, 150NX, 150SL)

нет в наличии, поставок нет
19 0285065

Комплект наклеек. 150JL (DECAL SET. 150JL)

нет в наличии, поставок нет
19 0285063

Комплект наклеек. 150GL (DECAL SET. 150GL)

нет в наличии, поставок нет
19 0285064

Комплект наклеек. 175GL (DECAL SET. 175GL)

нет в наличии, поставок нет
19 0284537

Комплект наклеек. 175EX, 175NX, 175SL (DECAL SET. 175EX, 175NX, 175SL)

нет в наличии, поставок нет
19 0284964

Комплект наклеек. L150GL красный (DECAL SET. L150GL Red)

нет в наличии, поставок нет
19 0284865

Комплект наклеек. L150GL зелёный (DECAL SET. L150GL Green)

нет в наличии, поставок нет
19 0284965

Комплект наклеек. L150GL голубой (DECAL SET. L150GL Blue)

нет в наличии, поставок нет
19 0284966

Комплект наклеек. L150GL Beige (DECAL SET. L150GL Beige)

нет в наличии, поставок нет
20 0431929

ADHESIVE KIT, Locating Кронштейнs (ADHESIVE KIT, Locating brackets)

нет в наличии, поставок нет
evinrude

Время выполнения запроса 5.7442479133606 сек.


 
 

данный сайт носит информационный характер и не является публичной офертой

склад запчастей для водомоторной техники