вконтакте

Контактный телефон: +7 (981) 121-46-93, +7 (800) 200-90-76 , Email: parts-katalog@yandex.ru, где купить

 
 

  Логин:

Пароль:

Регистрация

www.partskatalog.ru Все каталоги Запчасти Mercury Запчасти Suzuki Запчасти Tohatsu Запчасти Honda Контакты



УВАЖАЕМЫЕ КЛИЕНТЫ!
C 19 ДЕКАБРЯ 2025 ПО 02 МАРТА 2026 ГОДА ОТДЕЛ ЗАПЧАСТЕЙ И СЕРВИС РАБОТАТЬ НЕ БУДУТ
ПРОДАЖА ЛОДОЧНЫХ МОТОРОВ В ШТАТНОМ РЕЖИМЕ
ОБ ИЗМЕНЕНИЯХ В ГРАФИКЕ РАБОТЫ ЧИТАЙТЕ НА САЙТА




Все разделы каталога запчастей на этот двигатель

назад Раздел:   вперёд

вернуться к списку узлов и деталей

ДЕТАЛИРОВКА ДЛЯ МОДЕЛИ: EVINRUDE SE35RWLECS 1998

ВПУСКНОЙ КОЛЛЕКТОР & AIR ГЛУШИТЕЛЬ | INTAKE MANIFOLD & AIR SILENCER;


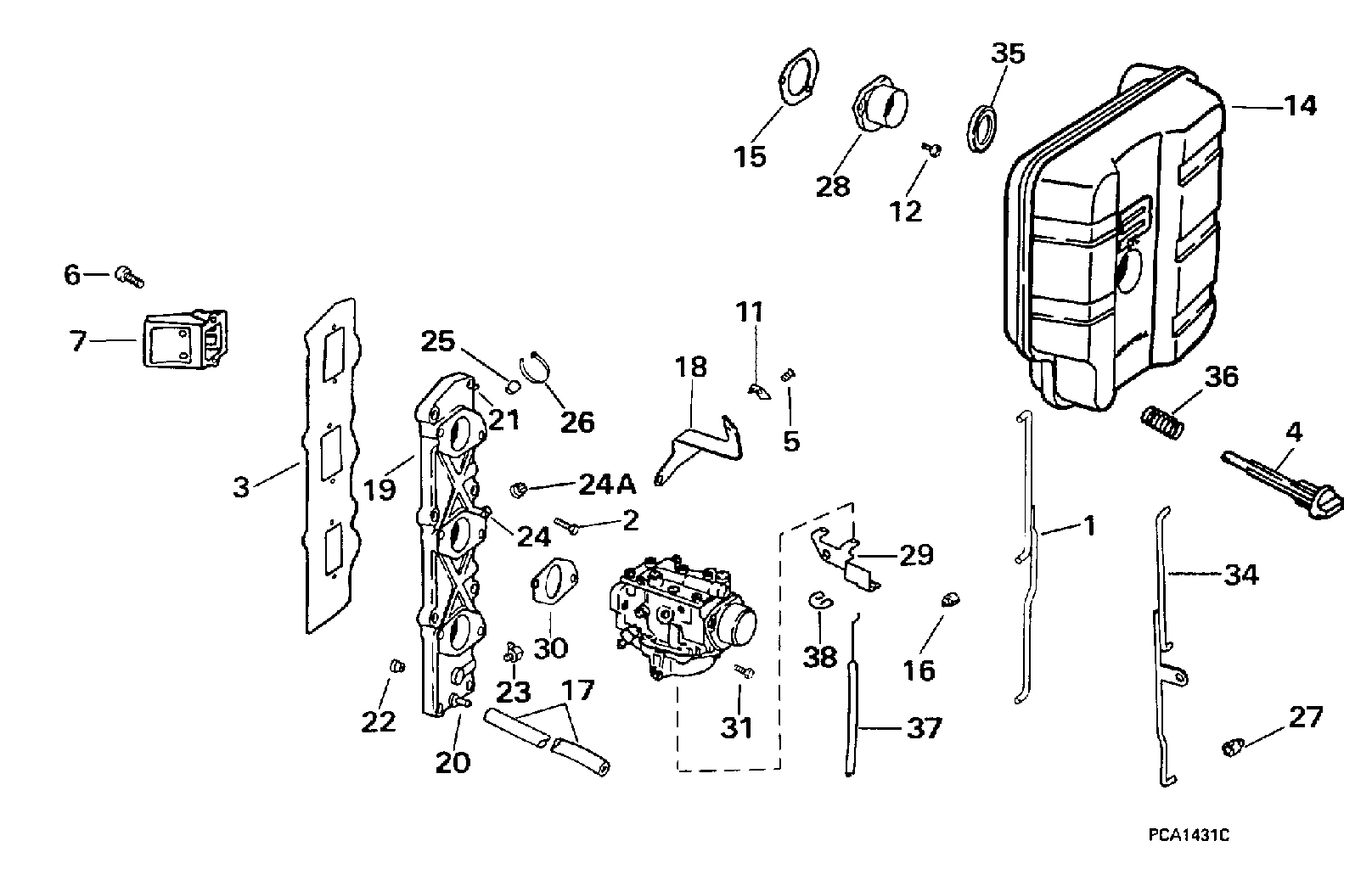
Лодочный мотор EVINRUDE SE35RWLECS 1998  - take Manifold & Air Silencer

Номер на
рисунке
АртикулНаименованиеКол-во
на складе
Цена
1 0438231

Тяга дросселя (LINK, Throttle)

нет в наличии, поставок нет
2 0337244

Винт, Коллектор to Картер двигателя, M6 (SCREW, Manifold to crankcase, M6)

нет в наличии, поставок нет
3 0339427

Прокладка, Block to Коллектор. Included in Powerhead Комплект прокладок (GASKET, Block to manifold. Included in Powerhead Gasket Set)

нет в наличии, поставок нет
4 0340130

Ручка (KNOB)

нет в наличии, поставок нет
5 0327074

Винт, Timing pointer (SCREW, Timing pointer)

нет в наличии, поставок нет
5 0307129

   (последний код) SCREW

нет в наличии, поставок нет
6 0339432

Винт, Reed box to Система впуска, M5 (SCREW, Reed box to intake, M5)

нет в наличии, поставок нет
7 0438610

REED BOX ASSEMBLY (REED BOX ASSEMBLY)

нет в наличии, поставок нет
7 0438505

   (последний код) BOX AY,REED 35HP

нет в наличии, поставок нет
11 0340055

TIMING POINTER (TIMING POINTER)

нет в наличии, поставок нет
12 0343107

Винт, Adapter to Карбюратор (SCREW, Adapter to carburetor)

нет в наличии, поставок нет
14 0436673

AIR Глушитель в сборе. (AIR SILENCER ASSY.)

нет в наличии, поставок нет
15 0341055

Прокладка, Adapter (GASKET, Adapter)

нет в наличии, поставок нет
16 0318165

Фиксатор, Соединитель to Карбюратор (RETAINER, Link to carburetor)

нет в наличии, поставок нет
17 0

Шланг, Air Глушитель drain, 5 1 / 2 дюйм (140 мм) сокращёная длина from P / N 335738, 0.156 дюйм I.D. (HOSE, Air silencer drain, 5 1/2 in. (140mm). Cut to Length from P/N 335738, 0.156 in. I.D.)

нет в наличии, поставок нет
18 0342282

Кронштейн, Timing pointer (BRACKET, Timing pointer)

нет в наличии, поставок нет
19 0438077

Впускной коллектор в сборе. (INTAKE MANIFOLD ASSY.)

нет в наличии, поставок нет
19 0437000

   (последний код) MANIFOLD AY,INTAKE

нет в наличии, поставок нет
20 0325659

Ниппель, Коллектор (NIPPLE, Manifold)

нет в наличии, поставок нет
21 0327706

Ниппель, Primer (NIPPLE, Primer)

нет в наличии, поставок нет
22 0437773

Обратный клапан, Recirc., #3 (CHECK VALVE, Recirc., #3)

нет в наличии, поставок нет
22 0437613

   (последний код) VALVE AY,CHECK

нет в наличии, поставок нет
23 0339094

ELBOW, #3 Коллектор drain (ELBOW, #3 Manifold drain)

нет в наличии, поставок нет
24 0437708

MAINTENANCE Клапан в сборе. (MAINTENANCE VALVE ASSY.)

нет в наличии, поставок нет
24A 0126341

Колпачок, Maintenance Клапан (CAP, Maintenance valve)

нет в наличии, поставок нет
25 0327227

Колпачок, Primer Ниппель (CAP, Primer nipple)

нет в наличии, поставок нет
26 0317893

Крепёжный хомут (TIE STRAP)

нет в наличии, поставок нет
26 3852149

   (последний код) TIE-STRAP

нет в наличии, поставок нет
27 0318165

Фиксатор, Choke Соединитель (RETAINER, Choke link)

нет в наличии, поставок нет
28 0341054

ADAPTER (ADAPTER)

нет в наличии, поставок нет
29 0341059

CHOKE Кабели Кронштейн (CHOKE CABLE BRACKET)

нет в наличии, поставок нет
30 0340461

Прокладка карбюратора. Included in Powerhead Комплект прокладок (GASKET, Carburetor. Included in Powerhead Gasket Set)

нет в наличии, поставок нет
31 0340002

Винт, Карбюратор Креплениеing, M6 (SCREW, Carburetor mounting, M6)

нет в наличии, поставок нет
34 0437028

Соединитель, Choke (LINK, Choke)

нет в наличии, поставок нет
35 0340384

Сальник, Air Глушитель (SEAL, Air silencer)

нет в наличии, поставок нет
36 0340129

Пружина, Ручка (SPRING, Knob)

нет в наличии, поставок нет
37 0437011

CHOKE Кабели (CHOKE CABLE)

нет в наличии, поставок нет
38 0336417

Фиксатор, Кабели to Кронштейн (RETAINER, Cable to bracket)

нет в наличии, поставок нет
evinrude

Время выполнения запроса 0.64150714874268 сек.


 
 

данный сайт носит информационный характер и не является публичной офертой

склад запчастей для водомоторной техники