| |
Все разделы каталога запчастей на этот двигатель
вернуться к списку узлов и деталей ДЕТАЛИРОВКА ДЛЯ МОДЕЛИ: EVINRUDE BE35KECA 1998
КРЫШКА ДВИГАТЕЛЯ (КАПОТ) -- EVINRUDE | ENGINE COVER -- EVINRUDE;
Номер на рисунке | Артикул | Наименование | Кол-во на складе | Цена |
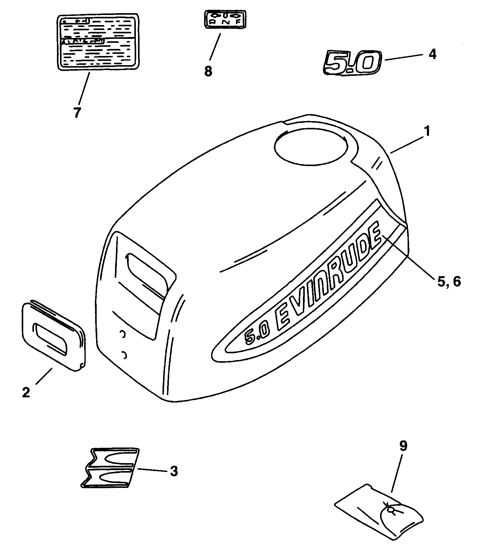
| 1 | 0284992 | MOTOR Крышка в сборе. 25RM, 25RML, 25AR, 25ARL, 25TK, 25TKL (MOTOR COVER ASSY.. 25RM, 25RML, 25AR, 25ARL, 25TK, 25TKL) | нет в наличии, поставок нет |
| 1 | 0284993 | MOTOR Крышка в сборе. 25K, 25KL, 25QL (MOTOR COVER ASSY.. 25K, 25KL, 25QL) | нет в наличии, поставок нет |
| 1 | 0284994 | MOTOR Крышка в сборе. 35AR, 35ARL, 35TKL (MOTOR COVER ASSY.. 35AR, 35ARL, 35TKL) | нет в наличии, поставок нет |
| 1 | 0284995 | MOTOR Крышка в сборе. 35K, 35KL, 35QL (MOTOR COVER ASSY.. 35K, 35KL, 35QL) | нет в наличии, поставок нет |
| 2 | 0334432 | Бампер (BUMPER) | нет в наличии, поставок нет |
| 3 | 0339801 | Сальник, Крышка (SEAL, Cover) | нет в наличии, поставок нет |
| 4 | 0436245 | Крючок в сборе. (HOOK ASSY.) | нет в наличии, поставок нет |
| 5 | 0212921 | LENS, Ev. logo (LENS, Ev. logo) | нет в наличии, поставок нет |
| 6 | 0439052 | Кронштейн, Locating (BRACKET, Locating) | нет в наличии, поставок нет |
| 6 | 0436246 | (последний код) BRACKET,LOCATING | нет в наличии, поставок нет |
| 7 | 0328744 | Винт, Крючок to Кронштейн (SCREW, Hook to bracket) | нет в наличии, поставок нет |
| 7 | 0308741 | (последний код) SCREW | нет в наличии, поставок нет |
| 8 | 0285047 | Комплект наклеек. 25RM, 25RML, 25AR, 25ARL, 25TK, 25TKL 25K, 25KL, 25QL (DECAL SET. 25RM, 25RML, 25AR, 25ARL, 25TK, 25TKL 25K, 25KL, 25QL) | нет в наличии, поставок нет |
| 8 | 0285048 | Комплект наклеек. 35AR, 35ARL, 35TKL 35K, 35KL, 35QL (DECAL SET. 35AR, 35ARL, 35TKL 35K, 35KL, 35QL) | нет в наличии, поставок нет |
| 9 | 0378347 | EMERGENCY Шнур стартера. 25K, 25KL, 25QL 35K, 35KL, 35QL (EMERGENCY START ROPE. 25K, 25KL, 25QL 35K, 35KL, 35QL) | нет в наличии, поставок нет |
| 10 | 0431929 | ADHESIVE KIT, Locating Кронштейнs (ADHESIVE KIT, Locating brackets) | нет в наличии, поставок нет |

Время выполнения запроса 0.68731498718262 сек.
|
|