вконтакте

Контактный телефон: +7 (981) 121-46-93, +7 (800) 200-90-76 , Email: parts-katalog@yandex.ru, где купить

 
 

  Логин:

Пароль:

Регистрация

www.partskatalog.ru Все каталоги Запчасти Mercury Запчасти Suzuki Запчасти Tohatsu Запчасти Honda Контакты



УВАЖАЕМЫЕ КЛИЕНТЫ!
C 31 ОКТЯБРЯ 2025 ПО 10 НОЯБРЯ 2025 ГОДА РАБОТАТЬ НЕ БУДЕМ




Все разделы каталога запчастей на этот двигатель

назад Раздел:   вперёд

вернуться к списку узлов и деталей

ДЕТАЛИРОВКА ДЛЯ МОДЕЛИ: EVINRUDE SE15RPC 1998

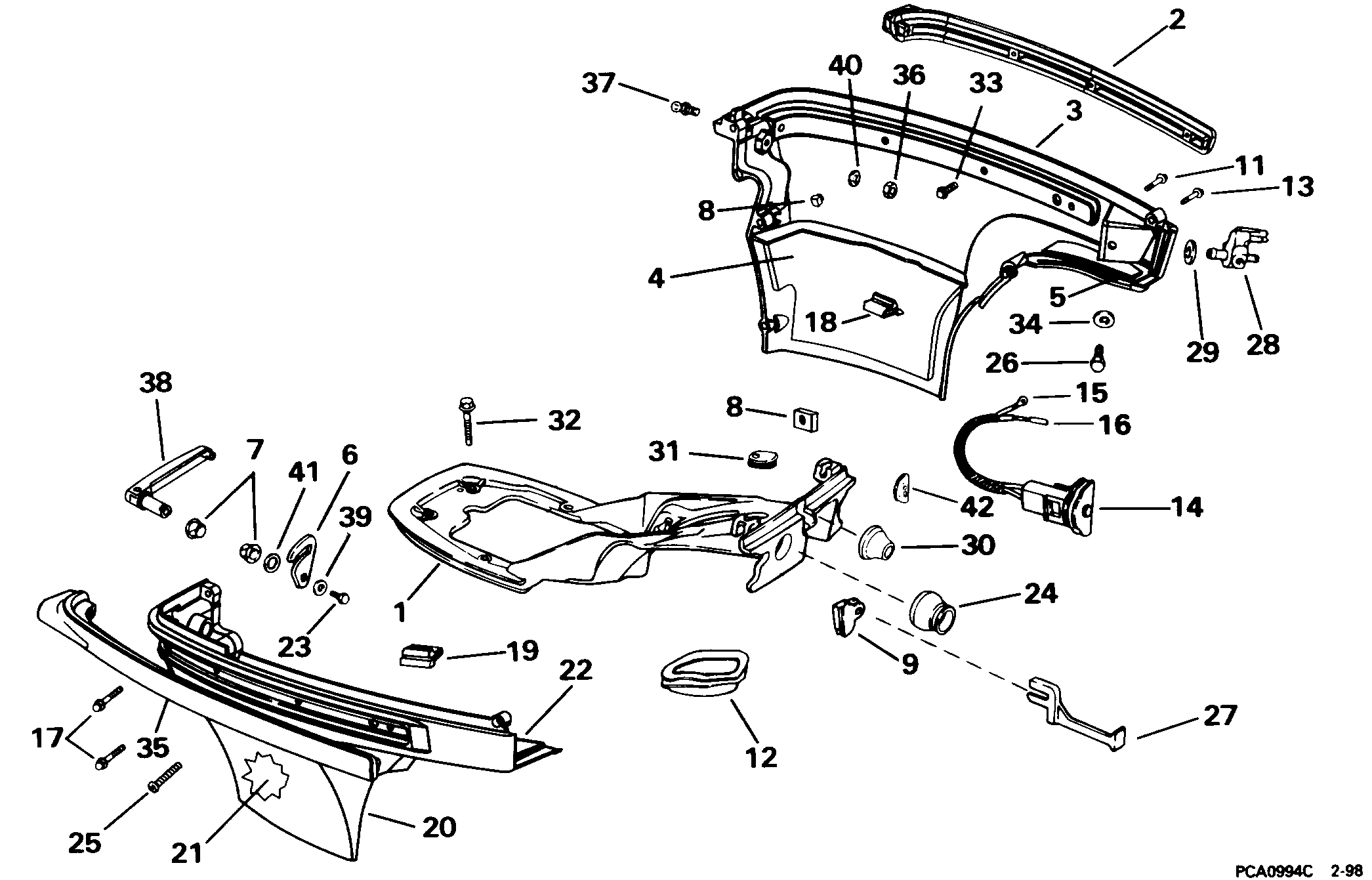
НИЖНЯЯ КРЫШКА ДВИГАТЕЛЯ | LOWER ENGINE COVER;


Мотор EVINRUDE SE15RPC 1998  - wer Engine Cover - wer Крышка двигателя (капот)

Номер на
рисунке
АртикулНаименованиеКол-во
на складе
Цена
1 0343745

Кронштейн, Panel (BRACKET, Panel)

нет в наличии, поставок нет
2 0342292

Бампер, Крышка, port (BUMPER, Cover, port)

нет в наличии, поставок нет
3 0438024

Крышка двигателя (капот), нижний , port. 10-15RP Models Only (ENGINE COVER, Lower, port. 10-15RP Models Only)

нет в наличии, поставок нет
3 0343483

Крышка двигателя (капот), нижний , port. 15KC Models Only (ENGINE COVER, Lower, port. 15KC Models Only)

нет в наличии, поставок нет
4 0339997

SOUND BLANKET, Rear, port (SOUND BLANKET, Rear, port)

нет в наличии, поставок нет
5 0339999

SOUND BLANKET, Front, port (SOUND BLANKET, Front, port)

нет в наличии, поставок нет
6 0335570

LATCH, верхний to Нижняя часть корпуса (LATCH, Upper to lower cover)

нет в наличии, поставок нет
7 0308532

Втулка (BUSHING)

нет в наличии, поставок нет
7 0122475

   (последний код) BUSHING

нет в наличии, поставок нет
8 0308824

Гайка, Винт (NUT, Screw)

нет в наличии, поставок нет
8 0306542

   (последний код) NUT

нет в наличии, поставок нет
9 0338213

Пыльник ручки заслонки. 10-15RP Models Only (GROMMET, Choke knob. 10-15RP Models Only)

нет в наличии, поставок нет
9 0450223

Кронштейн, Primer Помпа. 15KC Models Only (BRACKET, Primer pump. 15KC Models Only)

нет в наличии, поставок нет
11 0340071

Винт, Крышка, middle (SCREW, Cover, middle)

нет в наличии, поставок нет
12 0338242

Пыльник, Переключающая тяга, bottom (GROMMET, Shift rod, bottom)

нет в наличии, поставок нет
13 0340071

Винт, Крышка to Кронштейн, front (SCREW, Cover to bracket, front)

нет в наличии, поставок нет
14 0585101

Выключатель двигателя в сборе. (STOP SWITCH ASSY.)

нет в наличии, поставок нет
14 0584838

   (последний код) SWITCH AY,STOP

нет в наличии, поставок нет
15 0510818

Клемма, Кольцо (TERMINAL, Ring)

нет в наличии, поставок нет
15 3854243

   (последний код) TERMINAL,RIN

нет в наличии, поставок нет
16 0581656

Клемма, Socket (TERMINAL, Socket)

нет в наличии, поставок нет
16 3852257

   (последний код) TERMINAL AY,SCKT

нет в наличии, поставок нет
17 0340071

Винт, Крышка, rear, верхний & middle (SCREW, Cover, rear, upper & middle)

нет в наличии, поставок нет
18 0338202

Сальник, Крышка to Кронштейн, port (SEAL, Cover to bracket, port)

нет в наличии, поставок нет
19 0338286

Сальник, Крышка to Кронштейн, starboard (SEAL, Cover to bracket, starboard)

нет в наличии, поставок нет
20 0438025

Крышка двигателя (капот), нижний , starboard (ENGINE COVER, Lower, starboard)

нет в наличии, поставок нет
21 0339998

SOUND BLANKET, Rear, stbd. (SOUND BLANKET, Rear, stbd.)

нет в наличии, поставок нет
22 0340000

SOUND BLANKET, Front, stbd. (SOUND BLANKET, Front, stbd.)

нет в наличии, поставок нет
23 0335200

Винт, Latch to handle (SCREW, Latch to handle)

нет в наличии, поставок нет
23 3852212

   (последний код) SCREW

нет в наличии, поставок нет
24 0338300

Пыльник, Переключающая тяга, front (GROMMET, Shift rod, front)

нет в наличии, поставок нет
25 0343562

Винт, Крышка, rear, нижний (SCREW, Cover, rear, lower)

нет в наличии, поставок нет
26 0336165

Винт, Топливный коннектор (SCREW, Fuel connector)

нет в наличии, поставок нет
26 5030329

   (последний код) BOLT,FUEL CONN PL

нет в наличии, поставок нет
27 0338241

CHOKE Рычаг. 10-15RP Models Only (CHOKE LEVER. 10-15RP Models Only)

нет в наличии, поставок нет
28 0438793

Топливный коннектор в сборе.. 10-15RP Models Only (FUEL CONNECTOR ASSY.. 10-15RP Models Only)

нет в наличии, поставок нет
28 5030328

   (последний код) PLUG,FUEL CONN

нет в наличии, поставок нет
28 0450004

Топливный коннектор в сборе.. 15KC Models Only (FUEL CONNECTOR ASSY.. 15KC Models Only)

нет в наличии, поставок нет
29 0343736

Сальник, Топливный коннектор. 10-15RP Models Only (SEAL, Fuel connector. 10-15RP Models Only)

нет в наличии, поставок нет
29 0331533

Сальник, Топливный коннектор. 15KC Models Only (SEAL, Fuel connector. 15KC Models Only)

нет в наличии, поставок нет
30 0339287

Пыльник тросика дросселя (GROMMET, Throttle cable)

нет в наличии, поставок нет
31 0338290

Пыльник, Переключатель Провод hole (GROMMET, Switch wire hole)

нет в наличии, поставок нет
32 0335687

Винт, Кронштейн to Удлинитель корпуса (SCREW, Bracket to exhaust housing)

нет в наличии, поставок нет
32 3852213

   (последний код) SCREW

нет в наличии, поставок нет
33 0512731

Винт, Бампер (SCREW, Bumper)

нет в наличии, поставок нет
34 0328703

Шайба, Топливный коннектор Винт. 10-15RP Models Only (WASHER, Fuel connector screw. 10-15RP Models Only)

нет в наличии, поставок нет
34 3852184

   (последний код) WASHER

нет в наличии, поставок нет
35 0342136

Бампер, Крышка, stbd. (BUMPER, Cover, stbd.)

нет в наличии, поставок нет
36 0309485

Гайка, Шаровое соединение (NUT, Ball joint)

нет в наличии, поставок нет
36 0132520

   (последний код) NUT

нет в наличии, поставок нет
37 0339575

Шаровое соединение (BALL JOINT)

нет в наличии, поставок нет
38 0437780

HANDLE & Вал в сборе. (HANDLE & SHAFT ASSY.)

нет в наличии, поставок нет
39 0328703

Шайба (WASHER)

нет в наличии, поставок нет
39 3852184

   (последний код) WASHER

нет в наличии, поставок нет
40 0328735

Шайба, Шаровое соединение (WASHER, Ball joint)

нет в наличии, поставок нет
40 3852188

   (последний код) WASHER

нет в наличии, поставок нет
41 0330234

Пружинная шайба (SPRING WASHER)

нет в наличии, поставок нет
42 0338246

Пыльник, Заглушка (GROMMET, Plug)

нет в наличии, поставок нет
evinrude

Время выполнения запроса 2.7239010334015 сек.


 
 

данный сайт носит информационный характер и не является публичной офертой

склад запчастей для водомоторной техники