вконтакте

Контактный телефон: +7 (981) 121-46-93, +7 (800) 200-90-76 , Email: parts-katalog@yandex.ru, где купить

 
 

  Логин:

Пароль:

Регистрация

www.partskatalog.ru Все каталоги Запчасти Mercury Запчасти Suzuki Запчасти Tohatsu Запчасти Honda Контакты



УВАЖАЕМЫЕ КЛИЕНТЫ!
C 31 ОКТЯБРЯ 2025 ПО 10 НОЯБРЯ 2025 ГОДА РАБОТАТЬ НЕ БУДЕМ




Все разделы каталога запчастей на этот двигатель

назад Раздел:   вперёд

вернуться к списку узлов и деталей

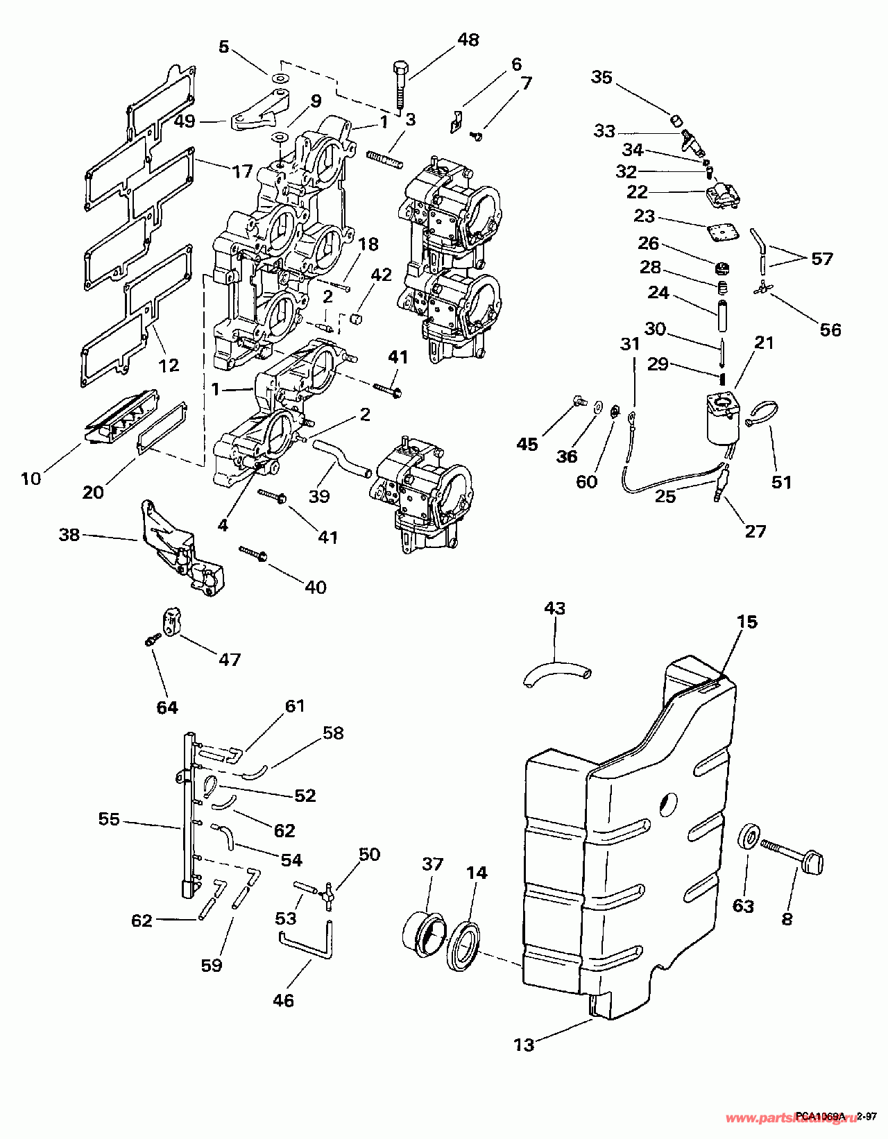
ДЕТАЛИРОВКА ДЛЯ МОДЕЛИ: EVINRUDE SE200WTPXS 1997

ВПУСКНОЙ КОЛЛЕКТОР | INTAKE MANIFOLD;


Мотор Эвинруд SE200WTPXS 1997  - take Коллектор - take Manifold

Номер на
рисунке
АртикулНаименованиеКол-во
на складе
Цена
1 0437340

Впускной коллектор в сборе., верхний (INTAKE MANIFOLD ASSY., Upper)

нет в наличии, поставок нет
1 0437338

Впускной коллектор в сборе., нижний (INTAKE MANIFOLD ASSY., Lower)

нет в наличии, поставок нет
2 0325659

FITTING, Drain (FITTING, Drain)

нет в наличии, поставок нет
3 0314616

Шпилька (STUD)

нет в наличии, поставок нет
3 0324811

   (последний код) STUD-CYL

нет в наличии, поставок нет
4 0328789

FITTING, Primer (FITTING, Primer)

нет в наличии, поставок нет
5 0320744

Шайба, Винт (WASHER, Screw)

нет в наличии, поставок нет
5 0306124

   (последний код) WASHER

нет в наличии, поставок нет
6 0343985

TIMING POINTER, Коллектор (TIMING POINTER, Manifold)

нет в наличии, поставок нет
6 0341513

   (последний код) POINTER,TIMI

нет в наличии, поставок нет
7 0310379

Винт, Timing pointer (SCREW, Timing pointer)

нет в наличии, поставок нет
8 0436547

Ручка в сборе., Крышка to Карбюратор (KNOB ASSY., Cover to carburetor)

нет в наличии, поставок нет
8 0439922

   (последний код) KNOB & SCREW AY.

нет в наличии, поставок нет
9 0341381

Шайба, Кулачок дросселя (WASHER, Throttle cam)

нет в наличии, поставок нет
9 0127386

   (последний код) WASHER

нет в наличии, поставок нет
10 0397336

REED BOX в сборе. (REED BOX ASSY.)

нет в наличии, поставок нет
10 0439042

   (последний код) BOX AY,REED

нет в наличии, поставок нет
12 0341476

Прокладка, Система впуска, нижний Included in Powerhead Комплект прокладок (GASKET, Intake, lower. Included in Powerhead Gasket Set)

нет в наличии, поставок нет
13 0436998

AIR Глушитель & Сальник (AIR SILENCER & SEAL)

нет в наличии, поставок нет
13 0439767

   (последний код) AIR SIL & SEAL AY

нет в наличии, поставок нет
14 0339581

Сальник, Air Глушитель to Карбюратор (SEAL, Air silencer to carburetor)

нет в наличии, поставок нет
15 0335026

Наклейка, Timing (DECAL, Timing)

нет в наличии, поставок нет
17 0328622

Прокладка коллектора to Картер двигателя. Included in Powerhead Комплект прокладок (GASKET, Manifold to crankcase. Included in Powerhead Gasket Set)

нет в наличии, поставок нет
18 0332265

Винт, Reed box (SCREW, Reed box)

нет в наличии, поставок нет
20 0332266

Прокладка, Leaf Пластина. Included in Powerhead Комплект прокладок (GASKET, Leaf plate. Included in Powerhead Gasket Set)

нет в наличии, поставок нет
21 0437234

Соленоид, в сборе., Primer (SOLENOID ASSY., Primer)

нет в наличии, поставок нет
21 5007355

   (последний код) KIT AY,PRMR SOL

нет в наличии, поставок нет
22 0341071

Крышка, Primer solenoid (COVER, Primer solenoid)

нет в наличии, поставок нет
23 0341297

Прокладка, Solenoid (GASKET, Solenoid)

нет в наличии, поставок нет
24 0511809

Плунжер (PLUNGER)

нет в наличии, поставок нет
25 0513185

Гильза (SLEEVE)

нет в наличии, поставок нет
25 0512948

   (последний код) SLEEVE

нет в наличии, поставок нет
26 0332365

Фильтр, Клапан Корпус (FILTER, Valve housing)

нет в наличии, поставок нет
26 0511811

   (последний код) FILTER

нет в наличии, поставок нет
27 0512947

Клемма (TERMINAL)

нет в наличии, поставок нет
27 0910462

   (последний код) TERM.-60766-

нет в наличии, поставок нет
28 0511986

Пружина клапана (SPRING, Valve)

нет в наличии, поставок нет
29 0511987

Пружина, Плунжер (SPRING, Plunger)

нет в наличии, поставок нет
30 0333447

Клапан, Плунжер (VALVE, Plunger)

нет в наличии, поставок нет
30 0511988

   (последний код) VALVE

нет в наличии, поставок нет
31 0510818

Клемма (TERMINAL)

нет в наличии, поставок нет
31 3854243

   (последний код) TERMINAL,RIN

нет в наличии, поставок нет
32 0330121

Винт, Крышка to Корпус (SCREW, Cover to housing)

нет в наличии, поставок нет
32 0326186

   (последний код) SCREW

нет в наличии, поставок нет
33 0175158

Клапан, Maintenance (VALVE, Maintenance)

нет в наличии, поставок нет
34 0331365

Уплотнительное кольцо, Клапан (O-RING, Valve)

нет в наличии, поставок нет
34 0326721

   (последний код) O-RING

нет в наличии, поставок нет
35 0126341

Колпачок (CAP)

нет в наличии, поставок нет
36 0328735

Шайба, Primer solenoid (WASHER, Primer solenoid)

нет в наличии, поставок нет
36 3852188

   (последний код) WASHER

нет в наличии, поставок нет
37 0339842

Гильза, Air Глушитель (SLEEVE, Air silencer)

нет в наличии, поставок нет
38 0341898

TRUNNION BLOCK (TRUNNION BLOCK)

нет в наличии, поставок нет
38 5007027

   (последний код) KIT AY,TRUNNION

нет в наличии, поставок нет
39 0340716

Шланг, Air Глушитель drain (HOSE, Air silencer drain)

нет в наличии, поставок нет
39 0344783

   (последний код) HOSE

нет в наличии, поставок нет
40 0324430

Винт, Block to Коллектор (SCREW, Block to manifold)

нет в наличии, поставок нет
40 0316658

   (последний код) SCREW

нет в наличии, поставок нет
41 0307471

Винт, Коллектор, short (SCREW, Manifold, short)

нет в наличии, поставок нет
42 0322892

Колпачок, Верхний фиттинг (CAP, Fitting, upper)

нет в наличии, поставок нет
43 0

Шланг, Air Глушитель to Картер двигателя, 23 дюйм (584 мм) сокращёная длина from 25 фут (7, 6m) Roll, 335802 (HOSE, Air silencer to crankcase, 23 in. (584 mm). Cut to Length from 25 ft. (7,6m) Roll, 335802)

нет в наличии, поставок нет
45 0308825

Винт (SCREW)

нет в наличии, поставок нет
45 3852081

   (последний код) SCREW

нет в наличии, поставок нет
46 0339335

Топливный шланг tee to Коллектор (HOSE, Fuel tee to manifold)

нет в наличии, поставок нет
47 0329271

Крышка, Trunnion (COVER, Trunnion)

нет в наличии, поставок нет
48 0332353

Винт дросселя cam (SCREW, Throttle cam)

нет в наличии, поставок нет
48 0347338

   (последний код) SCREW,SHOULDER

нет в наличии, поставок нет
49 0339440

Кулачок дросселя (THROTTLE CAM)

нет в наличии, поставок нет
50 0338896

TEE, Fuel (TEE, Fuel)

нет в наличии, поставок нет
51 0317893

Крепёжный хомут, Primer Шлангs (TIE STRAP, Primer hoses)

нет в наличии, поставок нет
51 3852149

   (последний код) TIE-STRAP

нет в наличии, поставок нет
52 0320107

Крепёжный хомут (TIE STRAP)

нет в наличии, поставок нет
52 5035626

   (последний код) BAND,REM CON

нет в наличии, поставок нет
53 0331674

Шланг, Tee to primer (HOSE, Tee to primer)

нет в наличии, поставок нет
53 0332117

   (последний код) HOSE-PRIMER

нет в наличии, поставок нет
54 0338961

Шланг, Коллектор to #5 Карбюратор (HOSE, Manifold to #5 carburetor)

нет в наличии, поставок нет
55 0435732

FUEL Коллектор (FUEL MANIFOLD)

нет в наличии, поставок нет
56 0325569

TEE, Primer Шланг (TEE, Primer hose)

нет в наличии, поставок нет
57 0

Шланг, Primer. сокращёная длина from 25 фут (7, 6m) Roll, 327229 (HOSE, Primer. Cut to Length from 25 ft. (7,6m) Roll, 327229)

нет в наличии, поставок нет
58 0339332

Шланг, Коллектор to #1 Карбюратор (HOSE, Manifold to #1 carburetor)

нет в наличии, поставок нет
59 0339334

Шланг, Коллектор to #4 Карбюратор (HOSE, Manifold to #4 carburetor)

нет в наличии, поставок нет
60 0303701

Шайба (WASHER)

нет в наличии, поставок нет
61 0331674

Шланг, Коллектор to #2 Карбюратор (HOSE, Manifold to #2 carburetor)

нет в наличии, поставок нет
61 0332117

   (последний код) HOSE-PRIMER

нет в наличии, поставок нет
62 0339333

Шланг, Коллектор to #3 & #6 carbs. (HOSE, Manifold to #3 & #6 carbs.)

нет в наличии, поставок нет
63 0340840

Сальник, Ручка to air Глушитель (SEAL, Knob to air silencer)

нет в наличии, поставок нет
64 0328725

Винт, Trunnion Крышка (SCREW, Trunnion cover)

нет в наличии, поставок нет
64 3852187

   (последний код) SCREW

нет в наличии, поставок нет
evinrude

Время выполнения запроса 2.6482870578766 сек.


 
 

данный сайт носит информационный характер и не является публичной офертой

склад запчастей для водомоторной техники