| |
Все разделы каталога запчастей на этот двигатель
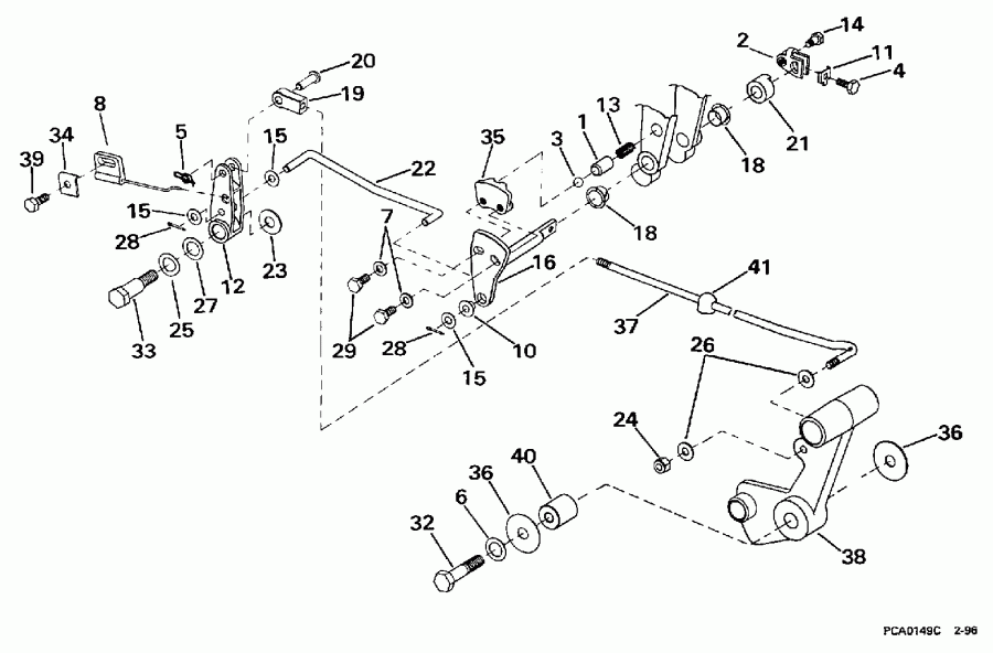
вернуться к списку узлов и деталей ДЕТАЛИРОВКА ДЛЯ МОДЕЛИ: EVINRUDE E40TTLEUC 1997
ПЕРЕКЛЮЧАТЕЛЬ СЦЕПЛЕНИЯ | SHIFT LINKAGE;
Номер на рисунке | Артикул | Наименование | Кол-во на складе | Цена |
| 1 | 0334241 | Направляющая, Шарик detent (GUIDE, Ball detent) | нет в наличии, поставок нет |
| 2 | 0332482 | Рычаг переключения (SHIFT LEVER) | нет в наличии, поставок нет |
| 3 | 0315164 | Шарик, Detent (BALL, Detent) | нет в наличии, поставок нет |
| 4 | 0321532 | Винт, Зажим (SCREW, Clip) | нет в наличии, поставок нет |
| 5 | 0333774 | Зажим, Соединитель (CLIP, LINK) | нет в наличии, поставок нет |
| 6 | 0303913 | Шайба, Винт to Рычаг. RE, RL, TE, TEL, TTL (WASHER, Screw to lever. RE, RL, TE, TEL, TTL) | нет в наличии, поставок нет |
| 7 | 0329241 | Шайба (WASHER) | нет в наличии, поставок нет |
| 7 | 3852193 | (последний код) WASHER | нет в наличии, поставок нет |
| 8 | 0436201 | Кабели LOCKOUT, Шнур only (CABLE LOCKOUT, Rope only) | нет в наличии, поставок нет |
| 8 | 0395008 | (последний код) CABLE ASSY | нет в наличии, поставок нет |
| 10 | 0334135 | Втулка, Переключатель Соединитель (BUSHING, Shift link) | нет в наличии, поставок нет |
| 11 | 0319537 | Зажим, Переключающая тяга (CLIP, Shift rod) | нет в наличии, поставок нет |
| 12 | 0334058 | Рычаг переключателя (LEVER, Shift) | нет в наличии, поставок нет |
| 13 | 0334338 | Пружина переключателя detent (SPRING, Shift detent) | нет в наличии, поставок нет |
| 14 | 0332486 | Винт, Рычаг to Переключающая тяга (SCREW, Lever to shift rod) | нет в наличии, поставок нет |
| 15 | 0328702 | Шайба (WASHER) | нет в наличии, поставок нет |
| 15 | 3852183 | (последний код) WASHER | нет в наличии, поставок нет |
| 16 | 0432014 | Вал в сборе., Переключатель (SHAFT ASSY., Shift) | нет в наличии, поставок нет |
| 18 | 0312708 | Втулка, Переключающий вал (BUSHING, Shift shaft) | нет в наличии, поставок нет |
| 19 | 0334119 | Коннектор переключающей тяги. RE, RL, TE, TEL, TTL (CONNECTOR, Shift rod. RE, RL, TE, TEL, TTL) | нет в наличии, поставок нет |
| 20 | 0334063 | Штифт. RE, RL, TE, TEL, TTL (PIN. RE, RL, TE, TEL, TTL) | нет в наличии, поставок нет |
| 21 | 0334246 | Проставка, Переключающий вал (SPACER, Shift shaft) | нет в наличии, поставок нет |
| 22 | 0334057 | Переключающая тяга Вал to Рычаг переключения (LINK, Shift shaft to shift lever) | нет в наличии, поставок нет |
| 23 | 0908398 | Шайба, Рычаг to Цилиндр (WASHER, Lever to cylinder) | нет в наличии, поставок нет |
| 24 | 0313022 | Гайка, Переключающая тяга to Рычаг. RE, RL, TE, TEL, TTL (NUT, Shift rod to lever. RE, RL, TE, TEL, TTL) | нет в наличии, поставок нет |
| 24 | 3852118 | (последний код) NUT,LOCK | нет в наличии, поставок нет |
| 25 | 0330234 | Шайба, Рычаг переключения (WASHER, Shift lever) | нет в наличии, поставок нет |
| 26 | 0304051 | Шайба, Переключающая тяга to Рычаг. RE, RL, TE, TEL, TTL (WASHER, Shift rod to lever. RE, RL, TE, TEL, TTL) | нет в наличии, поставок нет |
| 26 | 0328703 | (последний код) WASHER | нет в наличии, поставок нет |
| 27 | 0303913 | Шайба, Рычаг переключения Винт (WASHER, Shift lever screw) | нет в наличии, поставок нет |
| 28 | 0305650 | Шплинт (COTTER PIN) | нет в наличии, поставок нет |
| 28 | 3852052 | (последний код) PIN,COTTER | нет в наличии, поставок нет |
| 29 | 0304027 | Винт, Переключающий вал (SCREW, Shift shaft) | нет в наличии, поставок нет |
| 29 | 0330154 | (последний код) SCREW | нет в наличии, поставок нет |
| 32 | 0318611 | Винт, Рычаг to Кронштейн. RE, RL, TE, TEL, TTL (SCREW, Lever to bracket. RE, RL, TE, TEL, TTL) | нет в наличии, поставок нет |
| 33 | 0331109 | Винт, Рычаг (SCREW, Lever) | нет в наличии, поставок нет |
| 34 | 0328456 | Струбцина, Lockout Кабели, Шнур only (CLAMP, Lockout cable, rope only) | нет в наличии, поставок нет |
| 35 | 0334248 | DETENT, Рычаг переключения (DETENT, Shift lever) | нет в наличии, поставок нет |
| 36 | 0327400 | Шайба, Рычаг переключения. RE, RL, TE, TEL, TTL (WASHER, Shift lever. RE, RL, TE, TEL, TTL) | нет в наличии, поставок нет |
| 37 | 0333787 | Переключающая тяга. RE, RL, TE, TEL, TTL (SHIFT ROD. RE, RL, TE, TEL, TTL) | нет в наличии, поставок нет |
| 38 | 0334814 | Рычаг переключения. RE, RL, TE, TEL, TTL (SHIFT LEVER. RE, RL, TE, TEL, TTL) | нет в наличии, поставок нет |
| 39 | 0328731 | Винт, Lockout Кабели, Шнур only (SCREW, Lockout cable, rope only) | нет в наличии, поставок нет |
| 39 | 0329265 | (последний код) SCREW | нет в наличии, поставок нет |
| 40 | 0334815 | Втулка, Рычаг переключения Винт. RE, RL, TE, TEL, TTL (BUSHING, Shift lever screw. RE, RL, TE, TEL, TTL) | нет в наличии, поставок нет |
| 41 | 0334373 | Втулка, Переключающая тяга. RE, RL, TE, TEL, TTL (BUSHING, Shift rod. RE, RL, TE, TEL, TTL) | нет в наличии, поставок нет |

Время выполнения запроса 1.8947529792786 сек.
|
|