вконтакте

Контактный телефон: +7 (981) 121-46-93, +7 (800) 200-90-76 , Email: parts-katalog@yandex.ru, где купить

 
 

  Логин:

Пароль:

Регистрация

www.partskatalog.ru Все каталоги Запчасти Mercury Запчасти Suzuki Запчасти Tohatsu Запчасти Honda Контакты



УВАЖАЕМЫЕ КЛИЕНТЫ!
C 19 ДЕКАБРЯ 2025 ПО 02 МАРТА 2026 ГОДА ОТДЕЛ ЗАПЧАСТЕЙ И СЕРВИС РАБОТАТЬ НЕ БУДУТ
ПРОДАЖА ЛОДОЧНЫХ МОТОРОВ В ШТАТНОМ РЕЖИМЕ
ОБ ИЗМЕНЕНИЯХ В ГРАФИКЕ РАБОТЫ ЧИТАЙТЕ НА САЙТА




Все разделы каталога запчастей на этот двигатель

назад Раздел:   вперёд

вернуться к списку узлов и деталей

ДЕТАЛИРОВКА ДЛЯ МОДЕЛИ: EVINRUDE E8REUC 1997

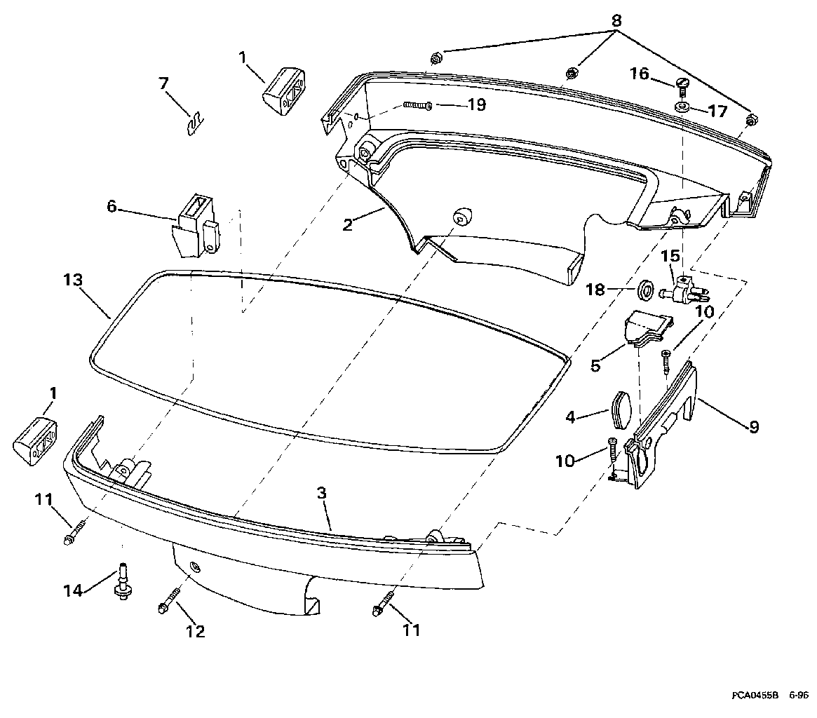
НИЖНЯЯ КРЫШКА ДВИГАТЕЛЯ | LOWER ENGINE COVER;


Лодочный подвесной мотор Эвинруд E8REUC 1997  - wer Крышка двигателя (капот) / wer Engine Cover

Номер на
рисунке
АртикулНаименованиеКол-во
на складе
Цена
1 0341653

Бампер, Крышка (BUMPER, Cover)

нет в наличии, поставок нет
2 0335957

Крышка, Port (COVER, Port)

нет в наличии, поставок нет
3 0335958

Крышка, Starboard (COVER, Starboard)

нет в наличии, поставок нет
4 0335322

Пыльник, Панель управления (GROMMET, Control panel)

нет в наличии, поставок нет
4 0336302

Пыльник, Панель управления, 8 Sail (GROMMET, Control panel, 8 Sail)

нет в наличии, поставок нет
5 0336594

Пыльник, Переключатель Соединитель (GROMMET, Shift link)

нет в наличии, поставок нет
6 0435818

LATCH, верхний to Нижняя часть корпуса (LATCH, Upper to lower cover)

нет в наличии, поставок нет
6 0434730

   (последний код) LATCH-AY

нет в наличии, поставок нет
7 0335966

Пружина, Нижняя часть корпуса (SPRING, Lower cover)

нет в наличии, поставок нет
8 0328712

Гайка, нижний motor Крышка (NUT, Lower motor cover)

нет в наличии, поставок нет
8 3852185

   (последний код) NUT

нет в наличии, поставок нет
9 0336192

Панель управления (CONTROL PANEL)

нет в наличии, поставок нет
10 0330838

Винт, Панель управления (SCREW, Control panel)

нет в наличии, поставок нет
10 0329268

   (последний код) SCREW

нет в наличии, поставок нет
11 0333675

Винт, Крышка, front & rear (SCREW, Cover, front & rear)

нет в наличии, поставок нет
12 0333228

Винт, нижний (SCREW, Lower)

нет в наличии, поставок нет
13 0336219

Сальник, Motor Крышка (SEAL, Motor cover)

нет в наличии, поставок нет
14 0336597

Индикатор, Overboard Помпа (INDICATOR, Overboard pump)

нет в наличии, поставок нет
15 0438793

Топливный коннектор в сборе. (FUEL CONNECTOR ASSY.)

нет в наличии, поставок нет
15 5030328

   (последний код) PLUG,FUEL CONN

нет в наличии, поставок нет
16 0336165

Винт, Топливный коннектор (SCREW, Fuel connector)

нет в наличии, поставок нет
16 5030329

   (последний код) BOLT,FUEL CONN PL

нет в наличии, поставок нет
17 0328703

Шайба, Винт (WASHER, Screw)

нет в наличии, поставок нет
17 3852184

   (последний код) WASHER

нет в наличии, поставок нет
18 0343736

Сальник, Топливный коннектор (SEAL, Fuel connector)

нет в наличии, поставок нет
19 0512731

Винт, Бампер (SCREW, Bumper)

нет в наличии, поставок нет
evinrude

Время выполнения запроса 0.52417707443237 сек.


 
 

данный сайт носит информационный характер и не является публичной офертой

склад запчастей для водомоторной техники