| |
Все разделы каталога запчастей на этот двигатель
вернуться к списку узлов и деталей ДЕТАЛИРОВКА ДЛЯ МОДЕЛИ: EVINRUDE E225TXEDE 1996
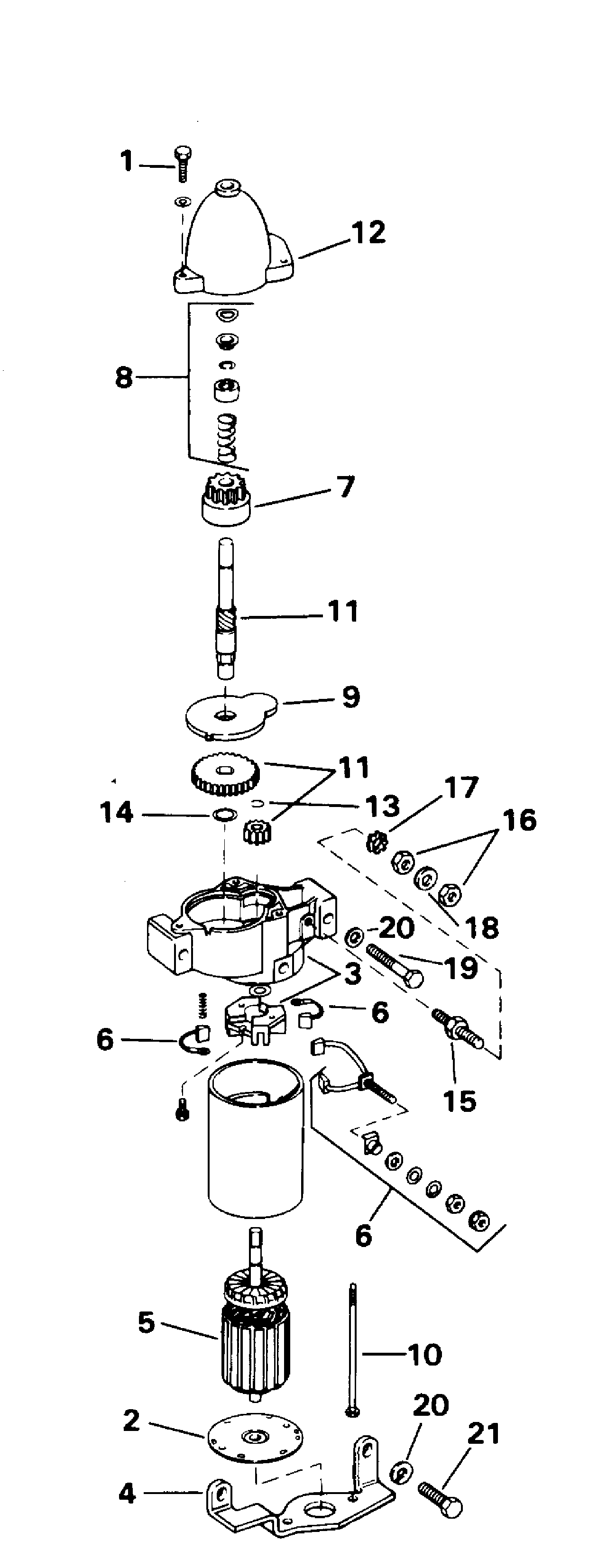
ДВИГАТЕЛЬ СТАРТЕРА | STARTER MOTOR;
Номер на рисунке | Артикул | Наименование | Кол-во на складе | Цена |
| 0584799 | 0584799 | Двигатель стартера ASSEMBLY. Not Shown (STARTER MOTOR ASSEMBLY. Not Shown) | нет в наличии, поставок нет |
| 0584799 | 0586890 | (последний код) MOTOR AY,STARTER | 1 шт | 47900 руб. |
| 1 | 0302325 | Винт, Drive Корпус (SCREW, Drive housing) | нет в наличии, поставок нет |
| 2 | 0332274 | END Колпачок (END CAP) | нет в наличии, поставок нет |
| 3 | 0332275 | Колпачок, Drive и commutator (CAP, Drive and commutator) | нет в наличии, поставок нет |
| 4 | 0332895 | Кронштейн, Tail sвышеport (BRACKET, Tail support) | нет в наличии, поставок нет |
| 5 | 0397371 | Якорь в сборе (ARMATURE ASSEMBLY) | нет в наличии, поставок нет |
| 6 | 0433850 | Щётка & Пружина SET (BRUSH & SPRING SET) | 2 шт | 3900 руб. |
| 6 | 0397373 | (последний код) BRUSH&SPRING SET | 2 шт | 2990 руб. |
| 7 | 0397374 | DRIVE ASSEMBLY (DRIVE ASSEMBLY) | нет в наличии, поставок нет |
| 7 | 5000333 | (последний код) KIT AY,DRIVE GEAR | нет в наличии, поставок нет |
| 8 | 0397375 | DRIVE KIT (DRIVE KIT) | нет в наличии, поставок нет |
| 9 | 0397376 | Крышка ASSEMBLY (COVER ASSEMBLY) | нет в наличии, поставок нет |
| 10 | 0342515 | THRU Болт PACKAGE (THRU BOLT PACKAGE) | нет в наличии, поставок нет |
| 11 | 0584800 | Шестерня & Вал KIT (GEAR & SHAFT KIT) | нет в наличии, поставок нет |
| 11 | 5000333 | (последний код) KIT AY,DRIVE GEAR | нет в наличии, поставок нет |
| 12 | 0432939 | Корпус, Drive end (HOUSING, Drive end) | нет в наличии, поставок нет |
| 13 | 0513398 | Стопорное кольцо (RETAINING RING) | нет в наличии, поставок нет |
| 14 | 0336975 | Шайба (WASHER) | нет в наличии, поставок нет |
| 15 | 0331540 | Болт, Double end (BOLT, Double end) | нет в наличии, поставок нет |
| 16 | 0328740 | Гайка, Заземление (NUT, Ground) | нет в наличии, поставок нет |
| 16 | 0306375 | (последний код) NUT | нет в наличии, поставок нет |
| 17 | 0328701 | Шайба с блокировкой, Заземление (LOCK WASHER, Ground) | нет в наличии, поставок нет |
| 17 | 3852182 | (последний код) WASHER,LOCK | нет в наличии, поставок нет |
| 18 | 0302290 | Шайба, Заземление (WASHER, Ground) | нет в наличии, поставок нет |
| 18 | 0338307 | (последний код) WASHER,LOCK | нет в наличии, поставок нет |
| 19 | 0331644 | Винт, Стартер, Креплениеing (SCREW, Starter, mounting) | нет в наличии, поставок нет |
| 19 | 0326697 | (последний код) SCREW | нет в наличии, поставок нет |
| 20 | 0309543 | Шайба с блокировкой, Sвышеport Кронштейн & Стартер (LOCK WASHER, Support bracket & starter) | нет в наличии, поставок нет |
| 21 | 0552940 | Винт, Sвышеport Кронштейн (SCREW, Support bracket) | нет в наличии, поставок нет |
| 21 | 0313699 | (последний код) SCREW | нет в наличии, поставок нет |

Время выполнения запроса 0.65048599243164 сек.
|
|