вконтакте

Контактный телефон: +7 (981) 121-46-93, +7 (800) 200-90-76 , Email: parts-katalog@yandex.ru, где купить

 
 

  Логин:

Пароль:

Регистрация

www.partskatalog.ru Все каталоги Запчасти Mercury Запчасти Suzuki Запчасти Tohatsu Запчасти Honda Контакты



УВАЖАЕМЫЕ КЛИЕНТЫ!
C 31 ОКТЯБРЯ 2025 ПО 10 НОЯБРЯ 2025 ГОДА РАБОТАТЬ НЕ БУДЕМ




Все разделы каталога запчастей на этот двигатель

назад Раздел:   вперёд

вернуться к списку узлов и деталей

ДЕТАЛИРОВКА ДЛЯ МОДЕЛИ: EVINRUDE BE30BALEDE 1996

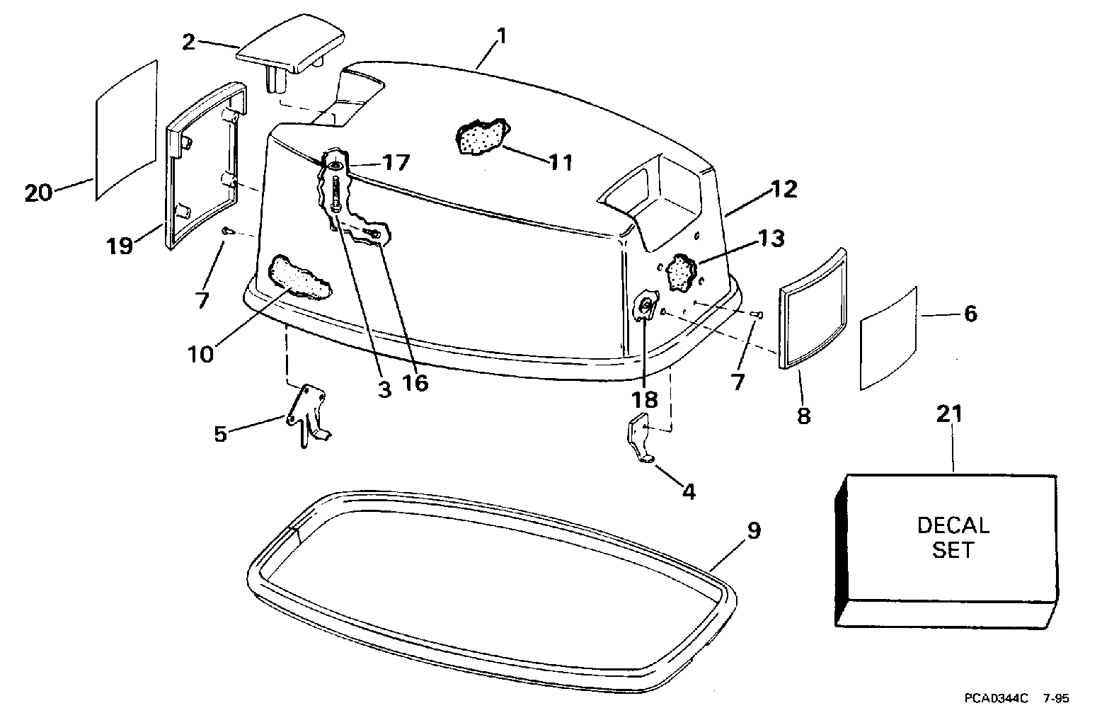
КРЫШКА ДВИГАТЕЛЯ (КАПОТ) - JOHNSON | ENGINE COVER - JOHNSON;


Лодочный мотор Evinrude BE30BALEDE 1996  - Johnson - Johnson

Номер на
рисунке
АртикулНаименованиеКол-во
на складе
Цена
1 0435819

Крышка двигателя (капот) в сборе.. 20SR - 20SRL белый (ENGINE COVER ASSY.. 20SR - 20SRL White)

нет в наличии, поставок нет
1 5000796

   (последний код) UMC SVC AY, JO/WHT

нет в наличии, поставок нет
1 0435151

Крышка двигателя (капот) в сборе.. 25RA - 25RAL - 25BA - 25BAL 25BR - 25BRL белый (ENGINE COVER ASSY.. 25RA - 25RAL - 25BA - 25BAL 25BR - 25BRL White)

нет в наличии, поставок нет
1 5000796

   (последний код) UMC SVC AY, JO/WHT

нет в наличии, поставок нет
1 0435154

Крышка двигателя (капот) в сборе.. 30BA - 30BAL белый (ENGINE COVER ASSY.. 30BA - 30BAL White)

нет в наличии, поставок нет
1 5000796

   (последний код) UMC SVC AY, JO/WHT

нет в наличии, поставок нет
1 0437184

Крышка двигателя (капот) в сборе.. 25RD Smoke (ENGINE COVER ASSY.. 25RD Smoke)

нет в наличии, поставок нет
1 5000792

   (последний код) COVER AY,MOTOR-

нет в наличии, поставок нет
2 0208399

Рукоятка наклона (TILT HANDLE)

нет в наличии, поставок нет
3 0330838

Винт, Рукоятка наклона (SCREW, Tilt handle)

нет в наличии, поставок нет
3 0329268

   (последний код) SCREW

нет в наличии, поставок нет
4 0207482

Крючок капота двигателя, front (HOOK, Engine cover, front)

нет в наличии, поставок нет
4 0206656

   (последний код) HOOK

нет в наличии, поставок нет
5 0329635

Крючок капота двигателя, rear (HOOK, Engine cover, rear)

нет в наличии, поставок нет
5 0316171

   (последний код) ANCHOR BLOCK

нет в наличии, поставок нет
6 0337606

Пластина, Рама, front, 20. 20SR - 20SRL (PLATE, Frame, front, 20. 20SR - 20SRL)

нет в наличии, поставок нет
6 0337610

Пластина, Рама, front. 25RA - 25RAL - 25BA - 25BAL (PLATE, Frame, front. 25RA - 25RAL - 25BA - 25BAL)

нет в наличии, поставок нет
6 0337614

Пластина, Рама, front. 30BA - 30BAL (PLATE, Frame, front. 30BA - 30BAL)

нет в наличии, поставок нет
6 0341132

Пластина, Рама, front. 25RD (PLATE, Frame, front. 25RD)

нет в наличии, поставок нет
6 0340229

   (последний код) PLATE

нет в наличии, поставок нет
7 0554355

Заклёпка (RIVET)

нет в наличии, поставок нет
7 0544355

   (последний код) RIVET

нет в наличии, поставок нет
8 0207863

Рама, Front. 20SR - 20SRL 25RA - 25RAL - 25BA - 25BAL 30BA - 30BAL (FRAME, Front. 20SR - 20SRL 25RA - 25RAL - 25BA - 25BAL 30BA - 30BAL)

нет в наличии, поставок нет
8 0206660

   (последний код) APPLIQUE

нет в наличии, поставок нет
8 0335032

Рама, Front. 25RD (FRAME, Front. 25RD)

нет в наличии, поставок нет
9 0316225

Резинка капота двигателя (SEAL, Engine cover)

нет в наличии, поставок нет
9 0326487

   (последний код) SEAL

нет в наличии, поставок нет
10 0341529

SOUND BLANKET, Stbd. (SOUND BLANKET, Stbd.)

нет в наличии, поставок нет
10 0211279

   (последний код) SOUND-BLANKE

нет в наличии, поставок нет
11 0341527

SOUND BLANKET, Top (SOUND BLANKET, Top)

нет в наличии, поставок нет
11 0211277

   (последний код) SOUND-BLANKE

нет в наличии, поставок нет
12 0341528

SOUND BLANKET, Port (SOUND BLANKET, Port)

нет в наличии, поставок нет
12 0211278

   (последний код) SOUND BLANKET

нет в наличии, поставок нет
13 0341530

SOUND BLANKET, Front (SOUND BLANKET, Front)

нет в наличии, поставок нет
13 0211280

   (последний код) SOUND-BLANKE

нет в наличии, поставок нет
16 0334528

Винт, Рама Креплениеing, rear (SCREW, Frame mounting, rear)

нет в наличии, поставок нет
17 0202150

Шайба, Рукоятка наклона (WASHER, Tilt handle)

нет в наличии, поставок нет
18 0317223

Гайка, Push-on (NUT, Push-on)

нет в наличии, поставок нет
19 0338054

Рама, Rear. 20SR - 20SRL 25RA - 25RAL - 25BA - 25BAL 30BA - 30BAL (FRAME, Rear. 20SR - 20SRL 25RA - 25RAL - 25BA - 25BAL 30BA - 30BAL)

нет в наличии, поставок нет
19 0335041

Рама, Rear. 25RD (FRAME, Rear. 25RD)

нет в наличии, поставок нет
20 0337607

Пластина, Рама, rear, 20. 20SR - 20SRL (PLATE, Frame, rear, 20. 20SR - 20SRL)

нет в наличии, поставок нет
20 0337611

Пластина, Рама, rear, 25. 25RA - 25RAL - 25BA - 25BAL (PLATE, Frame, rear, 25. 25RA - 25RAL - 25BA - 25BAL)

нет в наличии, поставок нет
20 0337615

Пластина, Рама, rear, 30. 30BA - 30BAL (PLATE, Frame, rear, 30. 30BA - 30BAL)

нет в наличии, поставок нет
20 0341340

Пластина, Рама, rear. 25RD (PLATE, Frame, rear. 25RD)

нет в наличии, поставок нет
20 0340233

   (последний код) PLATE

нет в наличии, поставок нет
21 0435961

Комплект наклеек. 20SR - 20SRL (DECAL SET. 20SR - 20SRL)

нет в наличии, поставок нет
21 0435618

Комплект наклеек. 25RA - 25RAL - 25BA - 25BAL (DECAL SET. 25RA - 25RAL - 25BA - 25BAL)

нет в наличии, поставок нет
21 0435619

   (последний код) DECAL AY,SET

нет в наличии, поставок нет
21 0435622

Комплект наклеек. 30BA - 30BAL (DECAL SET. 30BA - 30BAL)

нет в наличии, поставок нет
21 0437039

Комплект наклеек. 25RD 25BR - 25BRL (DECAL SET. 25RD 25BR - 25BRL)

нет в наличии, поставок нет
evinrude

Время выполнения запроса 2.4614119529724 сек.


 
 

данный сайт носит информационный характер и не является публичной офертой

склад запчастей для водомоторной техники