вконтакте

Контактный телефон: +7 (981) 121-46-93, +7 (800) 200-90-76 , Email: parts-katalog@yandex.ru, где купить

 
 

  Логин:

Пароль:

Регистрация

www.partskatalog.ru Все каталоги Запчасти Mercury Запчасти Suzuki Запчасти Tohatsu Запчасти Honda Контакты



УВАЖАЕМЫЕ КЛИЕНТЫ!
C 31 ОКТЯБРЯ 2025 ПО 10 НОЯБРЯ 2025 ГОДА РАБОТАТЬ НЕ БУДЕМ




Все разделы каталога запчастей на этот двигатель

назад Раздел:   вперёд

вернуться к списку узлов и деталей

ДЕТАЛИРОВКА ДЛЯ МОДЕЛИ: EVINRUDE E10FEXEDR 1996

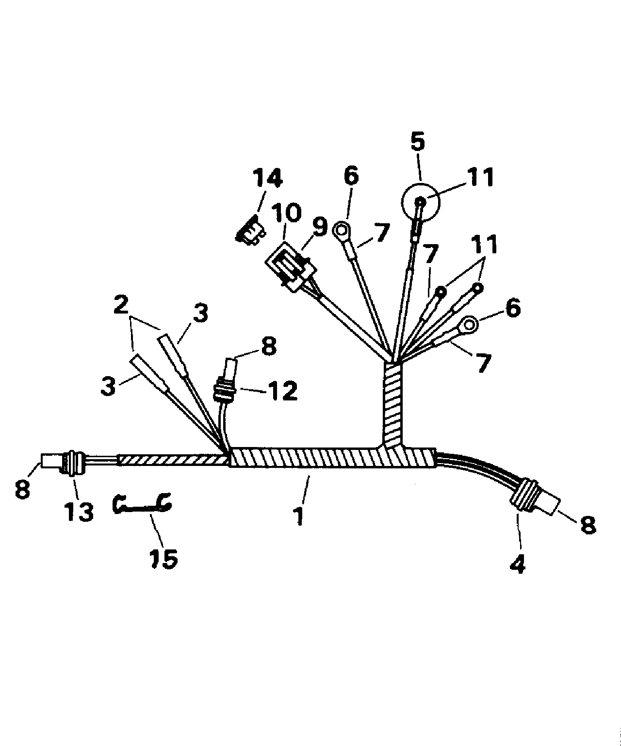
MOTOR КАБЕЛИ - TE MODELS | MOTOR CABLE - TE MODELS;


Лодочный мотор Эвинруд E10FEXEDR 1996  - Te Models

Номер на
рисунке
АртикулНаименованиеКол-во
на складе
Цена
1 0585193

MOTOR Кабели. 15 TE Models (MOTOR CABLE. 15 TE Models)

нет в наличии, поставок нет
1 0585235

MOTOR Кабели. 9.9 TE Models (MOTOR CABLE. 9.9 TE Models)

нет в наличии, поставок нет
2 0512876

Клемма, Socket (TERMINAL, Socket)

нет в наличии, поставок нет
2 3852244

   (последний код) TERMINAL,SOC

нет в наличии, поставок нет
3 0126664

Гильза (SLEEVE)

нет в наличии, поставок нет
4 0512749

Коннектор, 4-socket. 9.9 TE Models (CONNECTOR, 4-socket. 9.9 TE Models)

нет в наличии, поставок нет
4 3852241

   (последний код) CONN,4-SKT-P

нет в наличии, поставок нет
5 0446166

Крышка (COVER)

нет в наличии, поставок нет
6 0510818

Клемма, Кольцо (TERMINAL, Ring)

нет в наличии, поставок нет
6 3854243

   (последний код) TERMINAL,RIN

нет в наличии, поставок нет
7 0510781

Трубопровод (TUBING)

нет в наличии, поставок нет
8 0581656

Клемма, Socket (TERMINAL, Socket)

нет в наличии, поставок нет
8 3852257

   (последний код) TERMINAL AY,SCKT

нет в наличии, поставок нет
9 0514033

Коннектор (CONNECTOR)

нет в наличии, поставок нет
10 0514035

Клемма (TERMINAL)

нет в наличии, поставок нет
10 3858186

   (последний код) TERMINAL

нет в наличии, поставок нет
11 0510904

Клемма, Кольцо (TERMINAL, Ring)

нет в наличии, поставок нет
12 0512745

Коннектор, 2-socket (CONNECTOR, 2-socket)

нет в наличии, поставок нет
13 0512747

Коннектор, 3-socket (CONNECTOR, 3-socket)

нет в наличии, поставок нет
13 3852239

   (последний код) CONN,3-SKT-P

нет в наличии, поставок нет
14 0514021

Предохранитель, 20 Amp (FUSE, 20 Amp)

нет в наличии, поставок нет
15 0512741

Фиксатор, Start Переключатель to Кабели (RETAINER, Start switch to cable)

нет в наличии, поставок нет
evinrude

Время выполнения запроса 0.58042597770691 сек.


 
 

данный сайт носит информационный характер и не является публичной офертой

склад запчастей для водомоторной техники