вконтакте

Контактный телефон: +7 (981) 121-46-93, +7 (800) 200-90-76 , Email: parts-katalog@yandex.ru, где купить

 
 

  Логин:

Пароль:

Регистрация

www.partskatalog.ru Все каталоги Запчасти Mercury Запчасти Suzuki Запчасти Tohatsu Запчасти Honda Контакты



УВАЖАЕМЫЕ КЛИЕНТЫ!
C 31 ОКТЯБРЯ 2025 ПО 10 НОЯБРЯ 2025 ГОДА РАБОТАТЬ НЕ БУДЕМ




Все разделы каталога запчастей на этот двигатель

назад Раздел:   вперёд

вернуться к списку узлов и деталей

ДЕТАЛИРОВКА ДЛЯ МОДЕЛИ: EVINRUDE E88TSLEOC 1995

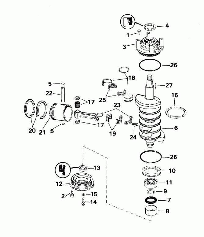
КОЛЕНВАЛ & ПОРШЕНЬ | CRANKSHAFT & PISTON;


Лодочный мотор Эвинруд E88TSLEOC 1995  - ankshaft & Piston / ankВал & Поршень

Номер на
рисунке
АртикулНаименованиеКол-во
на складе
Цена
1 0553556

Винт, Головка картера двигателя, верхний (SCREW, Crankcase head, upper)

нет в наличии, поставок нет
2 0553556

Винт, Головка картера двигателя (SCREW, Crankcase head)

нет в наличии, поставок нет
3 0387432

Головка картера двигателя и Подшипник в сборе. (CRANKCASE HEAD AND BEARING ASSY.)

нет в наличии, поставок нет
3 0385504

   (последний код) CRANKCASE HEAD

нет в наличии, поставок нет
4 0339620

Сальник, верхний (SEAL, Upper)

нет в наличии, поставок нет
4 0322575

   (последний код) SEAL-CCASE-H

нет в наличии, поставок нет
5 0317831

Стопорное кольцо (RETAINING RING)

2 шт220 руб.
6 0434769

Коленвал в сборе. (CRANKSHAFT ASSY.)

нет в наличии, поставок нет
7 0337087

Уплотнительное кольцо, Гильза (O-RING, Sleeve)

нет в наличии, поставок нет
8 0337030

Гильза (SLEEVE)

нет в наличии, поставок нет
9 0308213

Удерживающие кольцо подшипника (RING, Retaining, bearing)

нет в наличии, поставок нет
10 0317762

Пластина, нижний Подшипник (PLATE, Lower bearing)

нет в наличии, поставок нет
11 0385503

Шариковый подшипник (BEARING, Ball)

нет в наличии, поставок нет
12 0434793

Головка картера двигателя в сборе. (CRANKCASE HEAD ASSY.)

нет в наличии, поставок нет
13 0337085

Сальник (SEAL)

нет в наличии, поставок нет
14 0317763

Винт, Пластина (SCREW, Plate)

нет в наличии, поставок нет
15 0332585

Сальник (SEAL)

нет в наличии, поставок нет
16 0319244

Кольцевой сальник (SEAL RING)

нет в наличии, поставок нет
16 0319250

   (последний код) RING

нет в наличии, поставок нет
17 0395627

Подшипник, Wrist Штифт (BEARING, Wrist pin)

1 шт2860 руб.
17 0394226

   (последний код) ROLLER-BRG.C

нет в наличии, поставок нет
18 0320499

SPLIT Гильза, Center Подшипник (SPLIT SLEEVE, Center bearing)

нет в наличии, поставок нет
18 0352960

   (последний код) LINER,SPLIT-BRG

нет в наличии, поставок нет
19 0387787

Фиксатор SET (RETAINER SET)

нет в наличии, поставок нет
19 0390824

   (последний код) NEEDLE-&-RET

нет в наличии, поставок нет
20 0394930

Кольцо SET, стандарт (RING SET, Standard)

нет в наличии, поставок нет
20 0385661

   (последний код) PSTN-RING-SE

нет в наличии, поставок нет
20 0396504

Кольцо SET, 0.030 дюйм O.S. (RING SET, 0.030 in. O.S.)

нет в наличии, поставок нет
20 0385663

   (последний код) RINGSET-030

нет в наличии, поставок нет
21 0393271

Поршень, стандарт (PISTON, Standard)

нет в наличии, поставок нет
21 5006658

   (последний код) PSTN&RING KIT,STD

нет в наличии, поставок нет
21 0396588

Поршень & Кольцо в сборе., 0.030 дюйм O.S. (PISTON & RING ASSY., 0.030 in. O.S.)

нет в наличии, поставок нет
21 5006669

   (последний код) PSTN&RING KIT .030

нет в наличии, поставок нет
22 0327861

WRIST Штифт (WRIST PIN)

нет в наличии, поставок нет
22 0317818

   (последний код) WRIST PIN

нет в наличии, поставок нет
23 0392591

Шатун в сборе. (CONNECTING ROD ASSY.)

нет в наличии, поставок нет
24 0308186

Винт, Тяга Колпачок (SCREW, Rod cap)

нет в наличии, поставок нет
24 0318760

   (последний код) SCREW

нет в наличии, поставок нет
25 0387041

Фиксатор & иголка SET (RETAINER & NEEDLE SET)

нет в наличии, поставок нет
25 5007190

   (последний код) NEEDLE&RETAINER AY

2 шт1710 руб.
26 0305123

Уплотнительное кольцо (O-RING)

нет в наличии, поставок нет
26 0321119

   (последний код) O-RING,-DLR

нет в наличии, поставок нет
27 0307480

Ключ маховика (KEY, Flywheel)

нет в наличии, поставок нет
evinrude

Время выполнения запроса 0.53635597229004 сек.


 
 

данный сайт носит информационный характер и не является публичной офертой

склад запчастей для водомоторной техники