вконтакте

Контактный телефон: +7 (981) 121-46-93, +7 (800) 200-90-76 , Email: parts-katalog@yandex.ru, где купить

 
 

  Логин:

Пароль:

Регистрация

www.partskatalog.ru Все каталоги Запчасти Mercury Запчасти Suzuki Запчасти Tohatsu Запчасти Honda Контакты



УВАЖАЕМЫЕ КЛИЕНТЫ!
C 31 ОКТЯБРЯ 2025 ПО 10 НОЯБРЯ 2025 ГОДА РАБОТАТЬ НЕ БУДЕМ




Все разделы каталога запчастей на этот двигатель

назад Раздел:   вперёд

вернуться к списку узлов и деталей

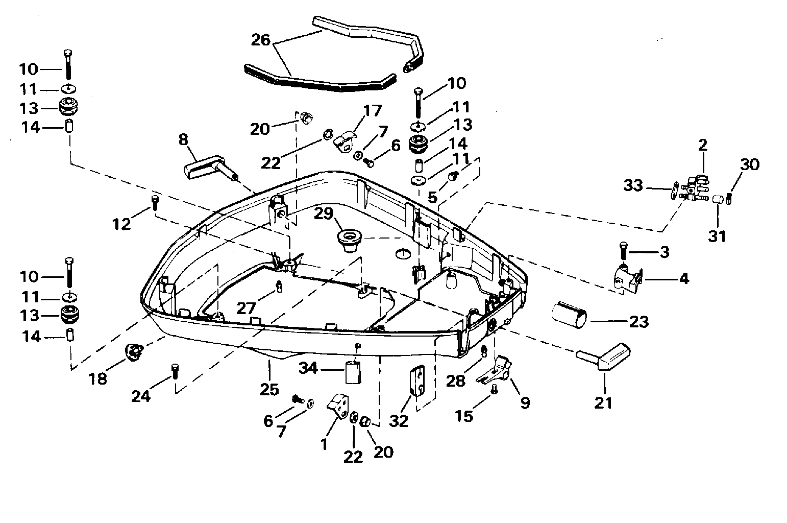
ДЕТАЛИРОВКА ДЛЯ МОДЕЛИ: EVINRUDE E115JKLEOC 1995

НИЖНЯЯ КРЫШКА ДВИГАТЕЛЯ | LOWER ENGINE COVER;


Подвесной двигатель Evinrude E115JKLEOC 1995  - wer Engine Cover

Номер на
рисунке
АртикулНаименованиеКол-во
на складе
Цена
1 0323170

Крючок спереди и stbd. rear (HOOK, Front and stbd. rear)

нет в наличии, поставок нет
1 0315178

   (последний код) HOOK

нет в наличии, поставок нет
2 0394313

Топливный коннектор (FUEL CONNECTOR)

нет в наличии, поставок нет
3 0302325

Винт зажима (SCREW, Clamp)

нет в наличии, поставок нет
4 0318849

Струбцина, Instrument Кабели (CLAMP, Instrument cable)

нет в наличии, поставок нет
4 0206318

   (последний код) CLAMP

нет в наличии, поставок нет
5 0908159

Винт, Топливный коннектор (SCREW, Fuel connector)

нет в наличии, поставок нет
5 0328728

   (последний код) SCREW

нет в наличии, поставок нет
6 0912127

Винт, Handle to latch (SCREW, Handle to latch)

нет в наличии, поставок нет
7 0328703

Шайба, Винт (WASHER, Screw)

нет в наличии, поставок нет
7 3852184

   (последний код) WASHER

нет в наличии, поставок нет
8 0395758

LATCH HANDLE в сборе., Rear (LATCH HANDLE ASSY., Rear)

нет в наличии, поставок нет
8 0383685

   (последний код) LATCH & SHAFT

нет в наличии, поставок нет
9 0333739

Фиксатор, Fuel line (RETAINER, Fuel line)

нет в наличии, поставок нет
9 0329610

   (последний код) RETAINER-FUE

нет в наличии, поставок нет
10 0303398

Винт, Креплениеs (SCREW, Mounts)

нет в наличии, поставок нет
10 0330119

   (последний код) SCREW

нет в наличии, поставок нет
11 0328700

Шайба, Крепление large (WASHER, Mount large)

нет в наличии, поставок нет
11 0331250

   (последний код) WASHER

нет в наличии, поставок нет
12 0328694

Винт, Нижняя часть корпуса (SCREW, Lower cover)

нет в наличии, поставок нет
12 0911122

   (последний код) SCREW

нет в наличии, поставок нет
13 0316354

Пыльник, Крышка (GROMMET, Cover)

нет в наличии, поставок нет
13 0302405

   (последний код) GROMMET

нет в наличии, поставок нет
14 0302406

Гильза, Крепление (SLEEVE, Mount)

нет в наличии, поставок нет
15 0310359

Винт, Фиксатор (SCREW, Retainer)

нет в наличии, поставок нет
17 0323169

Крючок, Rear port (HOOK, Rear port)

нет в наличии, поставок нет
17 0315177

   (последний код) HOOK

нет в наличии, поставок нет
18 0321885

Ниппель, Индикатор (NIPPLE, Indicator)

нет в наличии, поставок нет
20 0308532

Втулка, Latch Рычаг (BUSHING, Latch lever)

нет в наличии, поставок нет
20 0122475

   (последний код) BUSHING

нет в наличии, поставок нет
21 0395757

LATCH HANDLE, Front (LATCH HANDLE, Front)

нет в наличии, поставок нет
22 0330234

Пружинистая шайба (WASHER, Spring)

нет в наличии, поставок нет
23 0512423

Гильза (SLEEVE)

нет в наличии, поставок нет
24 0328694

Винт, Нижняя часть корпуса, front (SCREW, Lower cover, front)

нет в наличии, поставок нет
24 0911122

   (последний код) SCREW

нет в наличии, поставок нет
25 0434289

Крышка, нижний 85 Models (COVER, Lower. 85 Models)

нет в наличии, поставок нет
25 0432923

   (последний код) COVER AY,MOTOR-LWR

нет в наличии, поставок нет
25 0340456

Крышка, нижний 80 Jet Models (COVER, Lower. 80 Jet Models)

нет в наличии, поставок нет
26 0318258

Сальник, Рама (SEAL, Frame)

нет в наличии, поставок нет
27 0313607

LUBE FITTING (LUBE FITTING)

нет в наличии, поставок нет
27 3852121

   (последний код) FITTING,LUB

нет в наличии, поставок нет
28 0319253

LUBE FITTING, Front (LUBE FITTING, Front)

нет в наличии, поставок нет
28 0909517

   (последний код) LUBE-FITTING

нет в наличии, поставок нет
29 0336526

Заглушка, Motor Крышка. 80 Jet Models (PLUG, Motor cover. 80 Jet Models)

нет в наличии, поставок нет
30 0320107

Шланг Струбцина (HOSE CLAMP)

нет в наличии, поставок нет
30 5035626

   (последний код) BAND,REM CON

нет в наличии, поставок нет
31 0315391

Заглушка, Oil Коннектор (PLUG, Oil connector)

нет в наличии, поставок нет
32 0330904

Пыльник (GROMMET)

нет в наличии, поставок нет
33 0331533

Сальник, Топливный коннектор (SEAL, Fuel connector)

нет в наличии, поставок нет
34 0335694

Заглушка, Tilt & Переключатель трима. 80 Jet Models (PLUG, Tilt & trim switch. 80 Jet Models)

нет в наличии, поставок нет
34 0334833

   (последний код) PLUG

нет в наличии, поставок нет
evinrude

Время выполнения запроса 0.99006199836731 сек.


 
 

данный сайт носит информационный характер и не является публичной офертой

склад запчастей для водомоторной техники