вконтакте

Контактный телефон: +7 (981) 121-46-93, +7 (800) 200-90-76 , Email: parts-katalog@yandex.ru, где купить

 
 

  Логин:

Пароль:

Регистрация

www.partskatalog.ru Все каталоги Запчасти Mercury Запчасти Suzuki Запчасти Tohatsu Запчасти Honda Контакты



УВАЖАЕМЫЕ КЛИЕНТЫ!
C 19 ДЕКАБРЯ 2025 ПО 02 МАРТА 2026 ГОДА ОТДЕЛ ЗАПЧАСТЕЙ И СЕРВИС РАБОТАТЬ НЕ БУДУТ
ПРОДАЖА ЛОДОЧНЫХ МОТОРОВ В ШТАТНОМ РЕЖИМЕ
ОБ ИЗМЕНЕНИЯХ В ГРАФИКЕ РАБОТЫ ЧИТАЙТЕ НА САЙТА




Все разделы каталога запчастей на этот двигатель

назад Раздел:   вперёд

вернуться к списку узлов и деталей

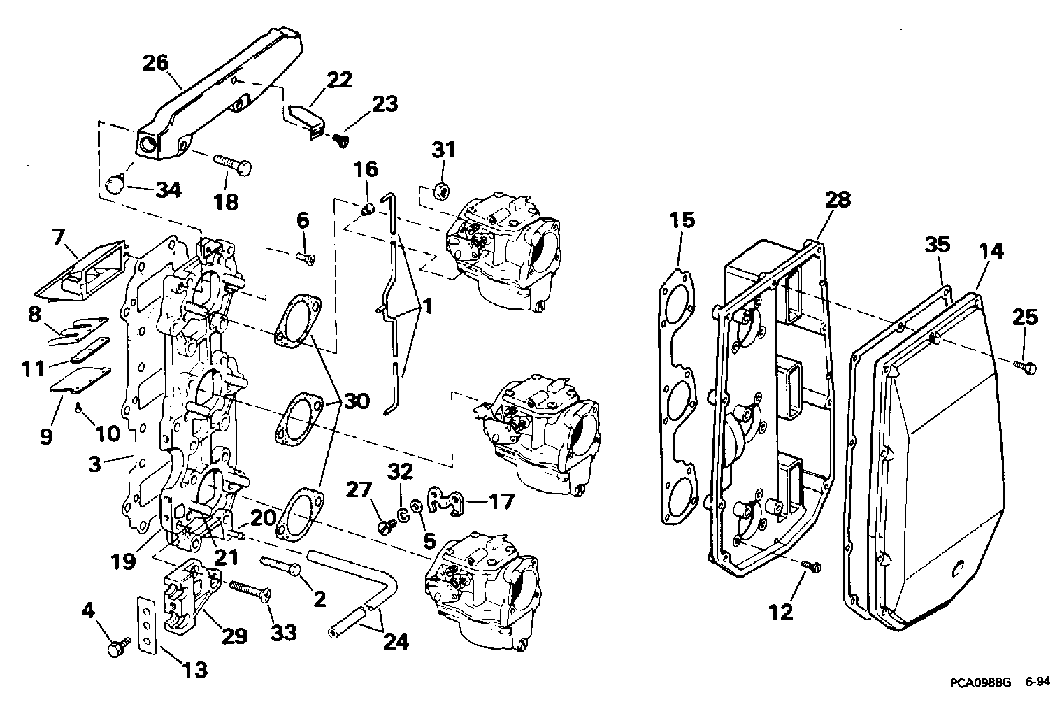
ДЕТАЛИРОВКА ДЛЯ МОДЕЛИ: EVINRUDE E70ELEOR 1995

ВПУСКНОЙ КОЛЛЕКТОР | INTAKE MANIFOLD;


 Эвинруд E70ELEOR 1995  - take Коллектор

Номер на
рисунке
АртикулНаименованиеКол-во
на складе
Цена
1 0432271

Соединитель и Штифт, Middle Рычаг (LINK AND PIN, Middle arm)

нет в наличии, поставок нет
1 0394733

   (последний код) LINK&PIN AY

нет в наличии, поставок нет
2 0554306

Винт, Коллектор to Картер двигателя (SCREW, Manifold to crankcase)

нет в наличии, поставок нет
3 0326926

Прокладка, Пластина to Коллектор (GASKET, Plate to manifold)

нет в наличии, поставок нет
3 0317307

   (последний код) GASKET

нет в наличии, поставок нет
4 0335200

Винт, Фиксатор to anchor block (SCREW, Retainer to anchor block)

нет в наличии, поставок нет
4 3852212

   (последний код) SCREW

нет в наличии, поставок нет
5 0328735

Шайба, Дроссель adj. Винт (WASHER, Throttle adj. screw)

нет в наличии, поставок нет
5 3852188

   (последний код) WASHER

нет в наличии, поставок нет
6 0316116

Винт, Пластина to Основание (SCREW, Plate to base)

нет в наличии, поставок нет
7 0389731

LEAF Пластина ASSEMBLY (LEAF PLATE ASSEMBLY)

нет в наличии, поставок нет
7 0389553

   (последний код) LEAF-PLATE-A

нет в наличии, поставок нет
8 0313420

LEAF Клапан (LEAF VALVE)

нет в наличии, поставок нет
9 0323688

LEAF STOP (LEAF STOP)

нет в наличии, поставок нет
10 0327074

Винт, Leaf stop (SCREW, Leaf stop)

нет в наличии, поставок нет
10 0307129

   (последний код) SCREW

нет в наличии, поставок нет
11 0324090

Регулировочная шайба, Leaf Клапан (SHIM, Leaf valve)

нет в наличии, поставок нет
12 0328694

Винт, Основание to Карбюратор (SCREW, Base to carburetor)

нет в наличии, поставок нет
12 0911122

   (последний код) SCREW

нет в наличии, поставок нет
13 0319967

Фиксатор, Кабели (RETAINER, Cable)

нет в наличии, поставок нет
14 0388264

Крышка, Air Глушитель (COVER, Air silencer)

нет в наличии, поставок нет
15 0333008

Прокладка, Air Глушитель (GASKET, Air silencer)

нет в наличии, поставок нет
15 0321793

   (последний код) GASKET-AIR-S

нет в наличии, поставок нет
16 0318165

Фиксатор, Дроссель (RETAINER, Throttle)

нет в наличии, поставок нет
17 0329418

Рычаг дросселя adjustment (LEVER, Throttle adjustment)

нет в наличии, поставок нет
18 0909533

Винт, Кронштейн to Коллектор (SCREW, Bracket to manifold)

нет в наличии, поставок нет
18 0324429

   (последний код) SCREW,IMP HSG

нет в наличии, поставок нет
19 0437138

Впускной коллектор, 25SI Models (MANIFOLD, Intake, 25SI Models)

нет в наличии, поставок нет
19 0434126

Впускной коллектор, 50, 60, 70 Models (MANIFOLD, Intake, 50, 60, 70 Models)

нет в наличии, поставок нет
20 0325659

Ниппель, Коллектор (NIPPLE, Manifold)

нет в наличии, поставок нет
21 0314497

Шпилька, Карбюратор Креплениеing (STUD, Carburetor mounting)

нет в наличии, поставок нет
22 0339775

TIMING POINTER (TIMING POINTER)

нет в наличии, поставок нет
23 0306014

Винт, Pointer to Коллектор (SCREW, Pointer to manifold)

нет в наличии, поставок нет
24 0

Шланг, Air Глушитель to Коллектор, 5 дюйм (125 мм) сокращёная длина from 336317 25 фут (7, 6m) Roll (HOSE, Air silencer to manifold, 5 in. (125mm). Cut to Length from 336317 25 ft. (7,6m) Roll)

нет в наличии, поставок нет
25 0330838

Винт, Крышка to Основание (SCREW, Cover to base)

нет в наличии, поставок нет
25 0329268

   (последний код) SCREW

нет в наличии, поставок нет
26 0339776

КреплениеING Кронштейн (MOUNTING BRACKET)

нет в наличии, поставок нет
26 0337912

   (последний код) BRACKET

нет в наличии, поставок нет
27 0306014

Винт дросселя adjustment (SCREW, Throttle adjustment)

нет в наличии, поставок нет
28 0333009

Основание ASSEMBLY (BASE ASSEMBLY)

нет в наличии, поставок нет
28 0329243

   (последний код) BASE-AIR-SIL

нет в наличии, поставок нет
29 0332683

ANCHOR BLOCK, Trunnion (ANCHOR BLOCK, Trunnion)

нет в наличии, поставок нет
30 0325092

Прокладка карбюратора (GASKET, Carburetor)

нет в наличии, поставок нет
30 0314477

   (последний код) GASKET

нет в наличии, поставок нет
31 0315204

Гайка, Карбюратор Креплениеing (NUT, Carburetor mounting)

нет в наличии, поставок нет
31 0316355

   (последний код) NUT

нет в наличии, поставок нет
32 0303701

Шайба с блокировкой, Винт (LOCK WASHER, Screw)

нет в наличии, поставок нет
33 0324315

Винт, Anchor block to Коллектор (SCREW, Anchor block to manifold)

нет в наличии, поставок нет
34 0314021

Бампер, Креплениеing Кронштейн (BUMPER, Mounting bracket)

нет в наличии, поставок нет
35 0321794

Прокладка, Air Корпус глушителя (GASKET, Air silencer cover)

нет в наличии, поставок нет
evinrude

Время выполнения запроса 1.584233045578 сек.


 
 

данный сайт носит информационный характер и не является публичной офертой

склад запчастей для водомоторной техники