вконтакте

Контактный телефон: +7 (981) 121-46-93, +7 (800) 200-90-76 , Email: parts-katalog@yandex.ru, где купить

 
 

  Логин:

Пароль:

Регистрация

www.partskatalog.ru Все каталоги Запчасти Mercury Запчасти Suzuki Запчасти Tohatsu Запчасти Honda Контакты



УВАЖАЕМЫЕ КЛИЕНТЫ!
C 19 ДЕКАБРЯ 2025 ПО 02 МАРТА 2026 ГОДА ОТДЕЛ ЗАПЧАСТЕЙ И СЕРВИС РАБОТАТЬ НЕ БУДУТ
ПРОДАЖА ЛОДОЧНЫХ МОТОРОВ В ШТАТНОМ РЕЖИМЕ
ОБ ИЗМЕНЕНИЯХ В ГРАФИКЕ РАБОТЫ ЧИТАЙТЕ НА САЙТА




Все разделы каталога запчастей на этот двигатель

назад Раздел:   вперёд

вернуться к списку узлов и деталей

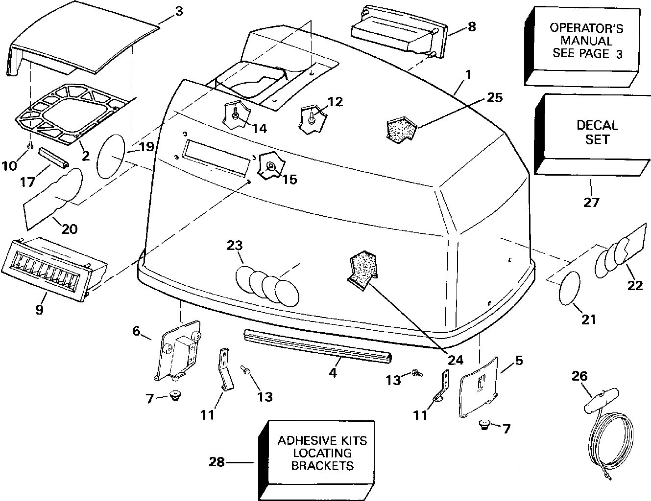
ДЕТАЛИРОВКА ДЛЯ МОДЕЛИ: EVINRUDE E140TXETC 1993

КРЫШКА ДВИГАТЕЛЯ (КАПОТ) - 125 ESX | ENGINE COVER - 125 ESX;


Лодочный мотор EVINRUDE E140TXETC 1993  - 125 Esx / 125 Esx

Номер на
рисунке
АртикулНаименованиеКол-во
на складе
Цена
1 0284112

Крышка двигателя (капот) в сборе., Evinrude (ENGINE COVER ASSY., Evinrude)

нет в наличии, поставок нет
1 0434915

Крышка двигателя (капот) в сборе., Johnson, silver Крышка (ENGINE COVER ASSY., Johnson, silver cover)

нет в наличии, поставок нет
2 0331942

BAFFLE, Рукоятка наклона (BAFFLE, Tilt handle)

нет в наличии, поставок нет
2 0328670

   (последний код) BAFFLE

нет в наличии, поставок нет
3 0328671

Рукоятка наклона (TILT HANDLE)

нет в наличии, поставок нет
4 0912032

Резинка капота двигателя (SEAL, Engine cover)

нет в наличии, поставок нет
4 0330731

   (последний код) SEAL,MOTOR COVER

нет в наличии, поставок нет
5 0336990

LOCATING BRKT., Front (LOCATING BRKT., Front)

нет в наличии, поставок нет
6 0336989

LOCATING BRKT., Rear (LOCATING BRKT., Rear)

нет в наличии, поставок нет
7 0324898

Бампер, Locating brkts. (BUMPER, Locating brkts.)

нет в наличии, поставок нет
8 0912563

вход, Air, port (INLET, Air, port)

нет в наличии, поставок нет
8 0911390

   (последний код) INLET-AIR

нет в наличии, поставок нет
9 0912564

вход, Air, stbd. (INLET, Air, stbd.)

нет в наличии, поставок нет
9 0911391

   (последний код) INLET-AIR

нет в наличии, поставок нет
10 0323937

Винт, Baffle to Рукоятка наклона (SCREW, Baffle to tilt handle)

нет в наличии, поставок нет
11 0323176

Крючок капота двигателя (HOOK, Engine cover)

нет в наличии, поставок нет
11 0315191

   (последний код) HOOK

нет в наличии, поставок нет
12 0323229

Винт, Рукоятка наклона, front (SCREW, Tilt handle, front)

нет в наличии, поставок нет
13 0323229

Винт, Крючок (SCREW, Hook)

нет в наличии, поставок нет
14 0323228

Винт, Рукоятка наклона, rear (SCREW, Tilt handle, rear)

нет в наличии, поставок нет
15 0317223

Гайка, Push-on (NUT, Push-on)

нет в наличии, поставок нет
17 0328669

Сальник, Baffle to Рукоятка наклона (SEAL, Baffle to tilt handle)

нет в наличии, поставок нет
17 0210187

   (последний код) SEAL,MOTOR COVER

нет в наличии, поставок нет
19 0336108

APPLIQUE, Rear, Johnson (APPLIQUE, Rear, Johnson)

нет в наличии, поставок нет
20 0210944

APPLIQUE, Rear, Evinrude (APPLIQUE, Rear, Evinrude)

нет в наличии, поставок нет
21 0336107

APPLIQUE, Front, Johnson (APPLIQUE, Front, Johnson)

нет в наличии, поставок нет
22 0211008

APPLIQUE, Front, Evinrude (APPLIQUE, Front, Evinrude)

нет в наличии, поставок нет
23 0336109

APPLIQUE, Sides, Johnson (APPLIQUE, Sides, Johnson)

нет в наличии, поставок нет
24 0335533

SOUND BLANKET, Side (SOUND BLANKET, Side)

нет в наличии, поставок нет
25 0335534

SOUND BLANKET, Top (SOUND BLANKET, Top)

нет в наличии, поставок нет
26 0378347

Шнур стартера (STARTER ROPE)

нет в наличии, поставок нет
27 0284353

Комплект наклеек, Evinrude (DECAL SET, Evinrude)

нет в наличии, поставок нет
27 0283787

   (последний код) DECAL AY,SET

нет в наличии, поставок нет
27 0435643

Комплект наклеек, Johnson (DECAL SET, Johnson)

нет в наличии, поставок нет
28 0431929

ADHESIVE KIT, Locating brkts. (ADHESIVE KIT, Locating brkts.)

нет в наличии, поставок нет
evinrude

Время выполнения запроса 1.366614818573 сек.


 
 

данный сайт носит информационный характер и не является публичной офертой

склад запчастей для водомоторной техники