вконтакте

Контактный телефон: +7 (981) 121-46-93, +7 (800) 200-90-76 , Email: parts-katalog@yandex.ru, где купить

 
 

  Логин:

Пароль:

Регистрация

www.partskatalog.ru Все каталоги Запчасти Mercury Запчасти Suzuki Запчасти Tohatsu Запчасти Honda Контакты



УВАЖАЕМЫЕ КЛИЕНТЫ!
C 31 ОКТЯБРЯ 2025 ПО 10 НОЯБРЯ 2025 ГОДА РАБОТАТЬ НЕ БУДЕМ




Все разделы каталога запчастей на этот двигатель

назад Раздел:   вперёд

вернуться к списку узлов и деталей

ДЕТАЛИРОВКА ДЛЯ МОДЕЛИ: EVINRUDE VE140TLENS 1992

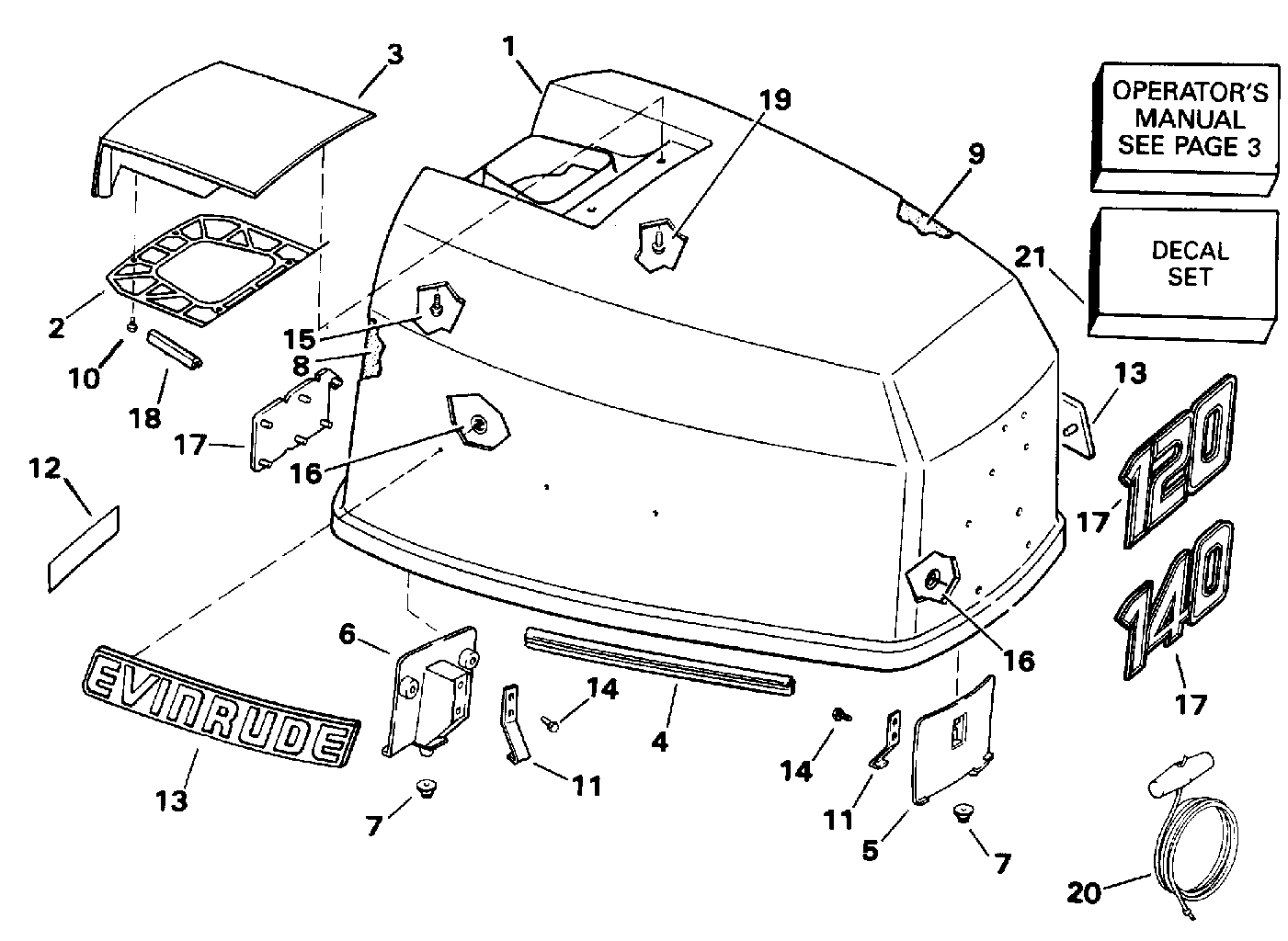
КРЫШКА ДВИГАТЕЛЯ (КАПОТ) - EVINRUDE 120-140 MODELS | ENGINE COVER - EVINRUDE 120-140 MODELS;


Подвесной двигатель Evinrude VE140TLENS 1992  - Evinrude 120-140 Models / Evinrude 120-140 Models

Номер на
рисунке
АртикулНаименованиеКол-во
на складе
Цена
1 0284118

Крышка двигателя (капот) в сборе., 120TL (ENGINE COVER ASSY., 120TL)

нет в наличии, поставок нет
1 0284483

   (последний код) COVER AY,MOTOR-UPR

нет в наличии, поставок нет
1 0284190

Крышка двигателя (капот) в сборе., 120TX (ENGINE COVER ASSY., 120TX)

нет в наличии, поставок нет
1 0284119

Крышка двигателя (капот) в сборе., 140TL (ENGINE COVER ASSY., 140TL)

нет в наличии, поставок нет
1 0285314

   (последний код) COVER AY,MOTOR-

нет в наличии, поставок нет
1 0284191

Крышка двигателя (капот) в сборе., 140TX (ENGINE COVER ASSY., 140TX)

нет в наличии, поставок нет
1 0284192

Крышка двигателя (капот) в сборе., 140. 140 обратное вращение Only (ENGINE COVER ASSY., 140. 140 Counter Rotation Only)

нет в наличии, поставок нет
2 0331942

BAFFLE, Рукоятка наклона (BAFFLE, Tilt handle)

нет в наличии, поставок нет
2 0328670

   (последний код) BAFFLE

нет в наличии, поставок нет
3 0328671

Рукоятка наклона (TILT HANDLE)

нет в наличии, поставок нет
4 0912032

Резинка капота двигателя (SEAL, Engine cover)

нет в наличии, поставок нет
4 0330731

   (последний код) SEAL,MOTOR COVER

нет в наличии, поставок нет
5 0336991

LOCATING BRKT., Front (LOCATING BRKT., Front)

нет в наличии, поставок нет
6 0336989

LOCATING BRKT., Rear (LOCATING BRKT., Rear)

нет в наличии, поставок нет
7 0324898

Бампер, Locating brkts. (BUMPER, Locating brkts.)

нет в наличии, поставок нет
8 0328668

SOUND BLANKET, Side (SOUND BLANKET, Side)

нет в наличии, поставок нет
8 0341539

   (последний код) BLANKET,SOUN

нет в наличии, поставок нет
9 0328667

SOUND BLANKET, Top (SOUND BLANKET, Top)

нет в наличии, поставок нет
9 0341538

   (последний код) BLANKET,SOUN

нет в наличии, поставок нет
10 0323937

Винт, Baffle to Рукоятка наклона (SCREW, Baffle to tilt handle)

нет в наличии, поставок нет
11 0323176

Крючок капота двигателя (HOOK, Engine cover)

нет в наличии, поставок нет
11 0315191

   (последний код) HOOK

нет в наличии, поставок нет
12 0337719

APPLIQUE, обратное вращение. 140 обратное вращение Only (APPLIQUE, Counter rotation. 140 Counter Rotation Only)

нет в наличии, поставок нет
13 0211717

APPLIQUE, Evinrude (APPLIQUE, Evinrude)

нет в наличии, поставок нет
14 0323229

Винт, Крючок (SCREW, Hook)

нет в наличии, поставок нет
15 0323228

Винт, Рукоятка наклона, rear (SCREW, Tilt handle, rear)

нет в наличии, поставок нет
16 0317223

Защелка, Applique, front (FASTENER, Applique, front)

нет в наличии, поставок нет
17 0211758

APPLIQUE, Front & rear, 120 (APPLIQUE, Front & rear, 120)

нет в наличии, поставок нет
17 0211764

APPLIQUE, Front & rear, 140 (APPLIQUE, Front & rear, 140)

нет в наличии, поставок нет
18 0328669

Сальник, Baffle to Рукоятка наклона (SEAL, Baffle to tilt handle)

нет в наличии, поставок нет
18 0210187

   (последний код) SEAL,MOTOR COVER

нет в наличии, поставок нет
19 0323229

Винт, Рукоятка наклона, front (SCREW, Tilt handle, front)

нет в наличии, поставок нет
20 0378347

Шнур стартера (STARTER ROPE)

нет в наличии, поставок нет
21 0284350

Комплект наклеек, 20" (DECAL SET, 20")

нет в наличии, поставок нет
21 0284351

Комплект наклеек, 25" (DECAL SET, 25")

нет в наличии, поставок нет
evinrude

Время выполнения запроса 1.5822501182556 сек.


 
 

данный сайт носит информационный характер и не является публичной офертой

склад запчастей для водомоторной техники