вконтакте

Контактный телефон: +7 (981) 121-46-93, +7 (800) 200-90-76 , Email: parts-katalog@yandex.ru, где купить

 
 

  Логин:

Пароль:

Регистрация

www.partskatalog.ru Все каталоги Запчасти Mercury Запчасти Suzuki Запчасти Tohatsu Запчасти Honda Контакты



УВАЖАЕМЫЕ КЛИЕНТЫ!
C 31 ОКТЯБРЯ 2025 ПО 10 НОЯБРЯ 2025 ГОДА РАБОТАТЬ НЕ БУДЕМ




Все разделы каталога запчастей на этот двигатель

назад Раздел:   вперёд

вернуться к списку узлов и деталей

ДЕТАЛИРОВКА ДЛЯ МОДЕЛИ: EVINRUDE E100STLEND 1992

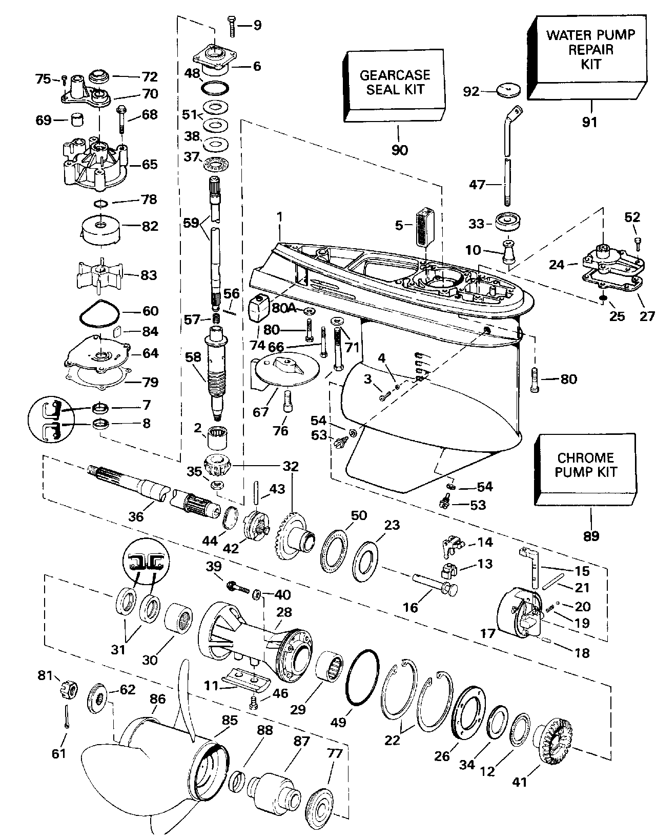
РЕДУКТОР | GEARCASE;


 EVINRUDE E100STLEND 1992  - arcase / arcase

Номер на
рисунке
АртикулНаименованиеКол-во
на складе
Цена
0435499 0435499

Редуктор в сборе., комплект. Replaced by 435474 gcase & 435765 верхний Корпус вала передачи ay и if requiкрасный 332120 Переключающая тяга. (GEARCASE ASSY., Complete. Replaced by 435474 gcase & 435765 upper drive shaft ay and if required 332120 shift rod.)

нет в наличии, поставок нет
0435500 0435500

Редуктор в сборе., комплект. Replaced by 435474 gcase & 435766 верхний Корпус вала передачи ay и if requiкрасный 333121 Переключающая тяга. (GEARCASE ASSY., Complete. Replaced by 435474 gcase & 435766 upper drive shaft ay and if required 333121 shift rod.)

нет в наличии, поставок нет
1 0431642

Редуктор & BRG. в сборе. (GEARCASE & BRG. ASSY.)

нет в наличии, поставок нет
1 0394763

   (последний код) GEARCASE&BRG AY

нет в наличии, поставок нет
2 0384195

Подшипник, Шестерня (BEARING, Pinion)

нет в наличии, поставок нет
3 0324852

Установочный винт, Подшипник (SET SCREW, Bearing)

нет в наличии, поставок нет
4 0332584

Шайба (WASHER)

нет в наличии, поставок нет
5 0323466

Водяной экран Система впуска (SCREEN, Water intake)

нет в наличии, поставок нет
5 0314996

   (последний код) SCREEN

нет в наличии, поставок нет
6 0397493

Подшипник HSG. & Сальник в сборе. (BEARING HSG. & SEAL ASSY.)

нет в наличии, поставок нет
6 0439476

   (последний код) DS BRG HSG&SEAL AY

нет в наличии, поставок нет
7 0329922

Сальник, верхний (SEAL, Upper)

нет в наличии, поставок нет
8 0329923

Сальник, нижний (SEAL, Lower)

нет в наличии, поставок нет
9 0317624

Винт, Hsg. to Редуктор (SCREW, Hsg. to gearcase)

нет в наличии, поставок нет
10 0321122

Проставка, Переключающая тяга. 25 дюйм (635 мм) Transom Models (SPACER, Shift rod. 25 in. (635mm) Transom Models)

нет в наличии, поставок нет
11 0431708

Анод, Подшипник hsg (ANODE, Bearing hsg)

нет в наличии, поставок нет
11 0397111

   (последний код) ANODE-AY

нет в наличии, поставок нет
12 0382408

THRUST BRG., в сборе., Rev. Шестерня (THRUST BRG., ASSY., Rev. gear)

нет в наличии, поставок нет
13 0334163

CRADLE, Переключательer (CRADLE, Shifter)

5 шт1880 руб.
13 0322900

   (последний код) CRADLE-SHIFT

нет в наличии, поставок нет
14 0324037

Рычаг переключателя (LEVER, Shift)

8 шт3700 руб.
15 0323946

DETENT, Переключательer (DETENT, Shifter)

нет в наличии, поставок нет
15 0915954

   (последний код) DETENT

нет в наличии, поставок нет
16 0322941

Вал (SHAFT)

нет в наличии, поставок нет
17 0436240

Подшипник HSG. & Штифт в сборе. (BEARING HSG. & PIN ASSY.)

нет в наличии, поставок нет
17 0391365

   (последний код) BRG HOUSING AY

нет в наличии, поставок нет
18 0331880

Штифт, Корпус (PIN, Housing)

нет в наличии, поставок нет
19 0911961

Фиксатор пружины (SPRING, Detent)

нет в наличии, поставок нет
20 0327345

Шарик, Detent (BALL, Detent)

нет в наличии, поставок нет
21 0320145

Штифт (PIN)

нет в наличии, поставок нет
21 0323945

   (последний код) PIN-SHIFTER

нет в наличии, поставок нет
22 0313445

Стопорное кольцо (RETAINING RING)

нет в наличии, поставок нет
23 0324766

Упорная шайба, Fwd. Шестерня (THRUST WASHER, Fwd. gear)

нет в наличии, поставок нет
24 0388618

Крышка & Сальник в сборе. (COVER & SEAL ASSY.)

нет в наличии, поставок нет
24 5006241

   (последний код) COVER AY,SHIFT ROD

нет в наличии, поставок нет
25 0318372

Уплотнительное кольцо, Переключающая тяга (O-RING, Shift rod)

нет в наличии, поставок нет
26 0314732

Фиксатор Пластина, Подшипник hsg (RETAINER PLATE, Bearing hsg)

нет в наличии, поставок нет
27 0324670

Прокладка крышки (GASKET, Cover)

нет в наличии, поставок нет
27 0352165

   (последний код) GASKET

2 шт550 руб.
28 0397087

BRG. Корпус Сальник в сборе. (BRG. HOUSING SEAL ASSY.)

нет в наличии, поставок нет
28 0384523

   (последний код) PS BRG HSG&SEAL AY

нет в наличии, поставок нет
29 0382407

Игольчатый подшипник в сборе. (NEEDLE BEARING ASSY.)

1 шт5500 руб.
30 0379504

Игольчатый подшипник в сборе. (NEEDLE BEARING ASSY.)

нет в наличии, поставок нет
31 0330137

Сальник (SEAL)

17 шт3700 руб.
31 0321668

   (последний код) SEAL-CRNKSHF

нет в наличии, поставок нет
31 T-0330137

   (не оригинальный аналог) Сальник редуктора OMC/Johnson/Evinrude 0330137

под заказ штпо запросу
32 0434063

Шестерня & Комплект шестерёнок. (GEAR & PINION ASSY.)

нет в наличии, поставок нет
32 0436746

   (последний код) V4 GEARSET 13:26

1 шт47700 руб.
33 0321008

Пыльник. Also included in Ремкомплект водяного насоса 395062 (GROMMET. Also included in Water Pump Repair Kit 395062)

нет в наличии, поставок нет
34 0314731

THRUST Шайба шестерни заднего хода (THRUST WASHER, Reverse gear)

нет в наличии, поставок нет
35 0314730

Гайка, Шестерня to driveВал (NUT, Pinion to driveshaft)

нет в наличии, поставок нет
36 0387818

Вал гребного винта в сборе. (PROPELLER SHAFT ASSY.)

нет в наличии, поставок нет
36 0436888

   (последний код) SHAFT AY,PROPELLER

нет в наличии, поставок нет
37 0387656

Упорная шайба шестерни Шестерня (THRUST WASHER, Pinion)

нет в наличии, поставок нет
37 0383248

   (последний код) BEARING

нет в наличии, поставок нет
38 0327656

Упорная шайба шестерни Шестерня (THRUST WASHER, Pinion)

нет в наличии, поставок нет
38 0314729

   (последний код) THRUST-WASHE

нет в наличии, поставок нет
39 0316563

Винт & Сальник (SCREW & SEAL)

нет в наличии, поставок нет
40 0332583

Сальник (SEAL)

нет в наличии, поставок нет
41 0333077

Шестерня обратного хода (GEAR, Reverse)

нет в наличии, поставок нет
41 0345992

   (последний код) GEAR,REVERSE V4

нет в наличии, поставок нет
42 0323664

Переключатель собачки сцепления (SHIFTER, Clutch dog)

нет в наличии, поставок нет
42 0341517

   (последний код) TER,CLUTCH-D

нет в наличии, поставок нет
43 0313448

Штифт сцепления dog (PIN, Clutch dog)

нет в наличии, поставок нет
44 0324369

Пружина, Сцепление dog Штифт (SPRING, Clutch dog pin)

нет в наличии, поставок нет
44 0313454

   (последний код) SPRING

нет в наличии, поставок нет
46 0908158

Винт (SCREW)

нет в наличии, поставок нет
46 3852050

   (последний код) SCREW

нет в наличии, поставок нет
47 0332120

Переключающая тяга. 20 дюйм (508 мм) Transom Models (SHIFT ROD. 20 in. (508mm) Transom Models)

нет в наличии, поставок нет
47 0332121

Переключающая тяга. 25 дюйм (635 мм) Transom Models (SHIFT ROD. 25 in. (635mm) Transom Models)

нет в наличии, поставок нет
48 0314728

Уплотнительное кольцо, Подшипник корпуса вала передачи (O-RING, Drive shaft bearing)

нет в наличии, поставок нет
48 0354731

   (последний код) O-RING

1 шт850 руб.
49 0313446

Уплотнительное кольцо, Вал гребного винта hsg (O-RING, Propeller shaft hsg)

нет в наличии, поставок нет
50 0385043

THRUST BRG. в сборе., Fwd Шестерня (THRUST BRG. ASSY., Fwd gear)

нет в наличии, поставок нет
50 3852221

   (последний код) BEARING-AY,T

нет в наличии, поставок нет
51 0323362

Регулировочная шайба, Подшипник Корпус, 0.003 in (SHIM, Bearing housing, 0.003 in)

нет в наличии, поставок нет
51 0323361

Регулировочная шайба, Подшипник Корпус, 0.004 in (SHIM, Bearing housing, 0.004 in)

нет в наличии, поставок нет
51 0314745

Регулировочная шайба, Подшипник Корпус, 0.005 in (SHIM, Bearing housing, 0.005 in)

нет в наличии, поставок нет
52 0302325

Винт, Крышка (SCREW, Cover)

нет в наличии, поставок нет
53 0318544

Заглушка, Fill и drain (PLUG, Fill and drain)

нет в наличии, поставок нет
53 0912624

   (последний код) SCREW

нет в наличии, поставок нет
54 0333572

Уплотнительное кольцо (O-RING)

нет в наличии, поставок нет
54 3855081

   (последний код) 0-RING

нет в наличии, поставок нет
56 0311538

ROLL Штифт, DriveВал (ROLL PIN, Driveshaft)

нет в наличии, поставок нет
57 0335684

Пружина, DriveВал (SPRING, Driveshaft)

нет в наличии, поставок нет
58 0335722

DRIVEВал, нижний (DRIVESHAFT, Lower)

нет в наличии, поставок нет
58 0346006

   (последний код) DRIVESHAFT,LOWER

нет в наличии, поставок нет
59 0337058

DRIVEВал, верхний 20 дюйм (508 мм) Transom Models (DRIVESHAFT, Upper. 20 in. (508mm) Transom Models)

нет в наличии, поставок нет
59 5007671

   (последний код) UPPER D/S KIT 20"

нет в наличии, поставок нет
59 0337059

DRIVEВал, верхний 25 дюйм (635 мм) Transom Models (DRIVESHAFT, Upper. 25 in. (635mm) Transom Models)

нет в наличии, поставок нет
59 5007672

   (последний код) KIT,UPPER D/S-25"

нет в наличии, поставок нет
60 0331353

Сальник, Крыльчатка Корпус Пластина. Also included in Ремкомплект водяного насоса 395062 (SEAL, Impeller housing plate. Also included in Water Pump Repair Kit 395062)

1 шт790 руб.
61 0314502

Шплинт, Гайка гребного винта (COTTER PIN, Propeller nut)

нет в наличии, поставок нет
62 0315810

Проставка гайки гребного винта (SPACER, Propeller nut)

нет в наличии, поставок нет
63 0331998

Винт, Редуктор to hsg (SCREW, Gearcase to hsg)

нет в наличии, поставок нет
63 0914535

   (последний код) SCREW

нет в наличии, поставок нет
64 0330380

Пластина корпуса крыльчатки.. Also included in Ремкомплект водяного насоса 395062 Stainless Steel (PLATE, Impeller hsg.. Also included in Water Pump Repair Kit 395062 Stainless Steel)

нет в наличии, поставок нет
64 0435027

   (последний код) CUP-&-PLATE

нет в наличии, поставок нет
64 0330383

Пластина корпуса крыльчатки., chrome. хромированная пластина (PLATE, Impeller hsg., chrome. Chrome Plated)

нет в наличии, поставок нет
64 0435526

   (последний код) CUP & PLATE AY

нет в наличии, поставок нет
65 0395040

Крыльчатка Корпус в сборе.. Also included in Ремкомплект водяного насоса 395062 (IMPELLER HOUSING ASSY.. Also included in Water Pump Repair Kit 395062)

нет в наличии, поставок нет
65 0435485

   (последний код) HOUSING-AY,P

нет в наличии, поставок нет
66 0328096

Винт, Анод (SCREW, Anode)

нет в наличии, поставок нет
66 0327046

   (последний код) SCREW

нет в наличии, поставок нет
66 0322000

Винт, Filler block. 88 Models (SCREW, Filler block. 88 Models)

нет в наличии, поставок нет
67 0327640

Пластина трима, Редуктор (TRIM TAB, Gearcase)

нет в наличии, поставок нет
67 0338742

   (последний код) TAB,TRIM-STD

нет в наличии, поставок нет
68 0328715

Винт, Крыльчатка Корпус, 1 7 / 8". Also included in Ремкомплект водяного насоса 395062 (SCREW, Impeller housing, 1 7/8". Also included in Water Pump Repair Kit 395062)

нет в наличии, поставок нет
68 0335221

   (последний код) SCREW

нет в наличии, поставок нет
68 0302325

Винт, Крыльчатка Корпус, 1" (SCREW, Impeller housing, 1")

нет в наличии, поставок нет
69 0314008

Пыльник водяной трубки. Also included in Ремкомплект водяного насоса 395062 (GROMMET, Water tube. Also included in Water Pump Repair Kit 395062)

нет в наличии, поставок нет
70 0321159

Крышка. Also included in Ремкомплект водяного насоса 395062 (COVER. Also included in Water Pump Repair Kit 395062)

нет в наличии, поставок нет
70 0338893

   (последний код) COVER,IMPELL

нет в наличии, поставок нет
71 0330265

LOCKШайба, Винт long (LOCKWASHER, Screw long)

нет в наличии, поставок нет
72 0320943

Пыльник, Imp. Корпус. Also included in Ремкомплект водяного насоса 395062 (GROMMET, Imp. housing. Also included in Water Pump Repair Kit 395062)

1 шт300 руб.
74 0327482

FILLER BLOCK. 88 Models (FILLER BLOCK. 88 Models)

нет в наличии, поставок нет
74 0393023

Анод. 90 / 100 / 115 Models (ANODE. 90/100/115 Models)

нет в наличии, поставок нет
74 0436745

   (последний код) ANODE&INSERT AY

нет в наличии, поставок нет
75 0306643

Винт, Крышка to Крыльчатка. Also included in Ремкомплект водяного насоса 395062 (SCREW, Cover to impeller. Also included in Water Pump Repair Kit 395062)

нет в наличии, поставок нет
75 3852066

   (последний код) SCREW

нет в наличии, поставок нет
76 0313715

Винт, Пластина трима (SCREW, Trim tab)

нет в наличии, поставок нет
77 0318841

Упорная втулка (THRUST BUSHING)

нет в наличии, поставок нет
77 0127084

   (последний код) BUSHING,THRUST

нет в наличии, поставок нет
78 0332000

Кольцевой сальник, Крыльчатка hsg.. Also included in Ремкомплект водяного насоса 395062 (SEAL RING, Impeller hsg.. Also included in Water Pump Repair Kit 395062)

нет в наличии, поставок нет
79 0324701

Прокладка, Imp. hsg. Пластина. Also included in Ремкомплект водяного насоса 395062 Also included in Ремкомплект водяного насоса 395060 (GASKET, Imp. hsg. plate. Also included in Water Pump Repair Kit 395062 Also included in Water Pump Repair Kit 395060)

нет в наличии, поставок нет
79 0338484

   (последний код) GASKET,WTR PMP 5PK

нет в наличии, поставок нет
80 0331999

Винт, Редуктор to Выхлоп hsg. (SCREW, Gearcase to exhaust hsg.)

нет в наличии, поставок нет
80 0910457

   (последний код) SCREW

нет в наличии, поставок нет
80A 0303886

Шайба, Filler block. 88 Models (WASHER, Filler block. 88 Models)

нет в наличии, поставок нет
81 0314503

Гайка гребного винта (NUT, Propeller)

нет в наличии, поставок нет
82 0330379

Cвыше, Крыльчатка. Also included in Ремкомплект водяного насоса 395062 Stainless Steel (CUP, Impeller. Also included in Water Pump Repair Kit 395062 Stainless Steel)

нет в наличии, поставок нет
82 0435027

   (последний код) CUP-&-PLATE

нет в наличии, поставок нет
82 0330384

Cвыше, Крыльчатка, Chrome. хромированная пластина (CUP, Impeller, Chrome. Chrome Plated)

нет в наличии, поставок нет
82 0435526

   (последний код) CUP & PLATE AY

нет в наличии, поставок нет
83 0395864

Крыльчатка & Ключ в сборе.. Also included in Ремкомплект водяного насоса 395062 (IMPELLER & KEY ASSY.. Also included in Water Pump Repair Kit 395062)

нет в наличии, поставок нет
83 5001593

   (последний код) KIT AY,IMPELLER

нет в наличии, поставок нет
84 0331107

Ключ, Крыльчатка. Also included in Ремкомплект водяного насоса 395062 (KEY, Impeller. Also included in Water Pump Repair Kit 395062)

нет в наличии, поставок нет
85 0383160

Гребной винт, 14 X 9 Aluminum (PROPELLER, 14 X 9 Aluminum)

нет в наличии, поставок нет
85 0763300

   (последний код) PROP AL,14 X 9

нет в наличии, поставок нет
85 0382761

Гребной винт, 14 X 11 Aluminum (PROPELLER, 14 X 11 Aluminum)

нет в наличии, поставок нет
85 0391668

Гребной винт, 14 X 13 Aluminum (PROPELLER, 14 X 13 Aluminum)

нет в наличии, поставок нет
85 0765181

   (последний код) PROP,AL 13.75X13

нет в наличии, поставок нет
85 0391198

Гребной винт, 13 3 / 4 X 15 Aluminum (PROPELLER, 13 3/4 X 15 Aluminum)

нет в наличии, поставок нет
85 0765182

   (последний код) PROP AY,AL 13.5X15

нет в наличии, поставок нет
85 0391199

Гребной винт, 13 1 / 4 X 17 Aluminum (PROPELLER, 13 1/4 X 17 Aluminum)

нет в наличии, поставок нет
85 0765183

   (последний код) PROP,AL 13.25X17

нет в наличии, поставок нет
85 0390896

Гребной винт, 13 X 19 Aluminum (PROPELLER, 13 X 19 Aluminum)

нет в наличии, поставок нет
85 0765184

   (последний код) PROP AY,AL 13.2X19

нет в наличии, поставок нет
85 0389788

Гребной винт, 12 3 / 4 X 21 Aluminum (PROPELLER, 12 3/4 X 21 Aluminum)

нет в наличии, поставок нет
85 0765185

   (последний код) PROP AY,AL 13.2X21

нет в наличии, поставок нет
85 0390895

Гребной винт, 12 3 / 4 X 23 Aluminum (PROPELLER, 12 3/4 X 23 Aluminum)

нет в наличии, поставок нет
85 0177150

   (последний код) PROP AY,12.75 X 23

нет в наличии, поставок нет
85 0389792

Гребной винт, 13 3 / 4 X 11 - SST (PROPELLER, 13 3/4 X 11 - SST)

нет в наличии, поставок нет
85 0390115

   (последний код) SST-50HP-RED

нет в наличии, поставок нет
85 0392261

Гребной винт, 13 3 / 4 X 13 - SST (PROPELLER, 13 3/4 X 13 - SST)

нет в наличии, поставок нет
85 0175013

Гребной винт, 13 3 / 4 X 13 - SST. Triple Cвыше (PROPELLER, 13 3/4 X 13 - SST. Triple Cup)

нет в наличии, поставок нет
85 0177203

   (последний код) PROP,AL 13.88X13RH

нет в наличии, поставок нет
85 0389949

Гребной винт, 13 3 / 4 X 15 - SST II (PROPELLER, 13 3/4 X 15 - SST II)

нет в наличии, поставок нет
85 0763929

   (последний код) VIPER V413.875X15

нет в наличии, поставок нет
85 0389948

Гребной винт, 13 3 / 4 X 17 - SST II (PROPELLER, 13 3/4 X 17 - SST II)

нет в наличии, поставок нет
85 0176572

   (последний код) SST V4 13.88X17

нет в наличии, поставок нет
85 0389510

Гребной винт, 13 X 19 SST II (PROPELLER, 13 X 19 SST II)

нет в наличии, поставок нет
85 0763931

   (последний код) VIPERV4 13.875X19

нет в наличии, поставок нет
85 0389512

Гребной винт, 12 3 / 4 X 21 - SST II (PROPELLER, 12 3/4 X 21 - SST II)

нет в наличии, поставок нет
85 0384702

   (последний код) SST-V4-21"

нет в наличии, поставок нет
85 0175294

Гребной винт, 13 3 / 4 X 11 Triple cвышеped (PROPELLER, 13 3/4 X 11 Triple cupped)

нет в наличии, поставок нет
85 0177202

   (последний код) PROP,AL/13.88X11RH

нет в наличии, поставок нет
85 0394758

Гребной винт, 13 1 / 2 X 18 OMC RAKER (PROPELLER, 13 1/2 X 18 OMC RAKER)

нет в наличии, поставок нет
85 0763953

   (последний код) RAKER V-4 13.5X18

нет в наличии, поставок нет
85 0394759

Гребной винт, 13 1 / 2 X 20 OMC RAKER (PROPELLER, 13 1/2 X 20 OMC RAKER)

нет в наличии, поставок нет
85 0763954

   (последний код) RAKER V-4 13.5X20

нет в наличии, поставок нет
85 0394760

Гребной винт, 13 1 / 2 X 22 OMC RAKER (PROPELLER, 13 1/2 X 22 OMC RAKER)

нет в наличии, поставок нет
85 0763955

   (последний код) RAKER V-4 13.5X22

нет в наличии, поставок нет
85 0394755

Гребной винт, 13 1 / 2 X 24 OMC RAKER (PROPELLER, 13 1/2 X 24 OMC RAKER)

нет в наличии, поставок нет
85 0177265

   (последний код) RAKER II TBX 24RH

нет в наличии, поставок нет
86 0332393

CONVERGING Кольцо (CONVERGING RING)

нет в наличии, поставок нет
86 0325996

   (последний код) CONVERGING RING

нет в наличии, поставок нет
87 0384977

PROP Втулка в сборе. (PROP BUSHING ASSY.)

нет в наличии, поставок нет
88 0313926

Гильза (SLEEVE)

нет в наличии, поставок нет
88 3850831

   (последний код) SLEEVE-PROP

нет в наличии, поставок нет
89 0395059

Хромированный ремкомплект водяного насоса (Inc. imp. hsg.) (CHROME PUMP KIT (Inc. imp. hsg.))

нет в наличии, поставок нет
89 0435526

   (последний код) CUP & PLATE AY

нет в наличии, поставок нет
90 0396354

Комплект сальников редуктора (GEARCASE SEAL KIT)

нет в наличии, поставок нет
90 5006373

   (последний код) KIT AY,SEAL-GC

нет в наличии, поставок нет
91 0395060

Ремкомплект водяного насоса (WATER PUMP REPAIR KIT)

нет в наличии, поставок нет
91 5001594

   (последний код) KIT AY,WATER PUMP

нет в наличии, поставок нет
91 T-5001594

   (не оригинальный аналог) Ремкомплект насоса охлаждения Evinrude-Johnson 5001594

2 шт штпо запросу
91 0395062

Ремкомплект водяного насоса (Includes Крыльчатка Корпус) (WATER PUMP REPAIR KIT (Includes impeller housing))

нет в наличии, поставок нет
91 5001594

   (последний код) KIT AY,WATER PUMP

нет в наличии, поставок нет
91 T-5001594

   (не оригинальный аналог) Ремкомплект насоса охлаждения Evinrude-Johnson 5001594

2 шт штпо запросу
92 0322302

Сальник, Переключающая тяга, except Jet (SEAL, Shift rod, except Jet)

нет в наличии, поставок нет
92 0321361

   (последний код) SEAL

нет в наличии, поставок нет
evinrude

Время выполнения запроса 1.7290110588074 сек.


 
 

данный сайт носит информационный характер и не является публичной офертой

склад запчастей для водомоторной техники