вконтакте

Контактный телефон: +7 (981) 121-46-93, +7 (800) 200-90-76 , Email: parts-katalog@yandex.ru, где купить

 
 

  Логин:

Пароль:

Регистрация

www.partskatalog.ru Все каталоги Запчасти Mercury Запчасти Suzuki Запчасти Tohatsu Запчасти Honda Контакты



УВАЖАЕМЫЕ КЛИЕНТЫ!
C 31 ОКТЯБРЯ 2025 ПО 10 НОЯБРЯ 2025 ГОДА РАБОТАТЬ НЕ БУДЕМ




Все разделы каталога запчастей на этот двигатель

назад Раздел:   вперёд

вернуться к списку узлов и деталей

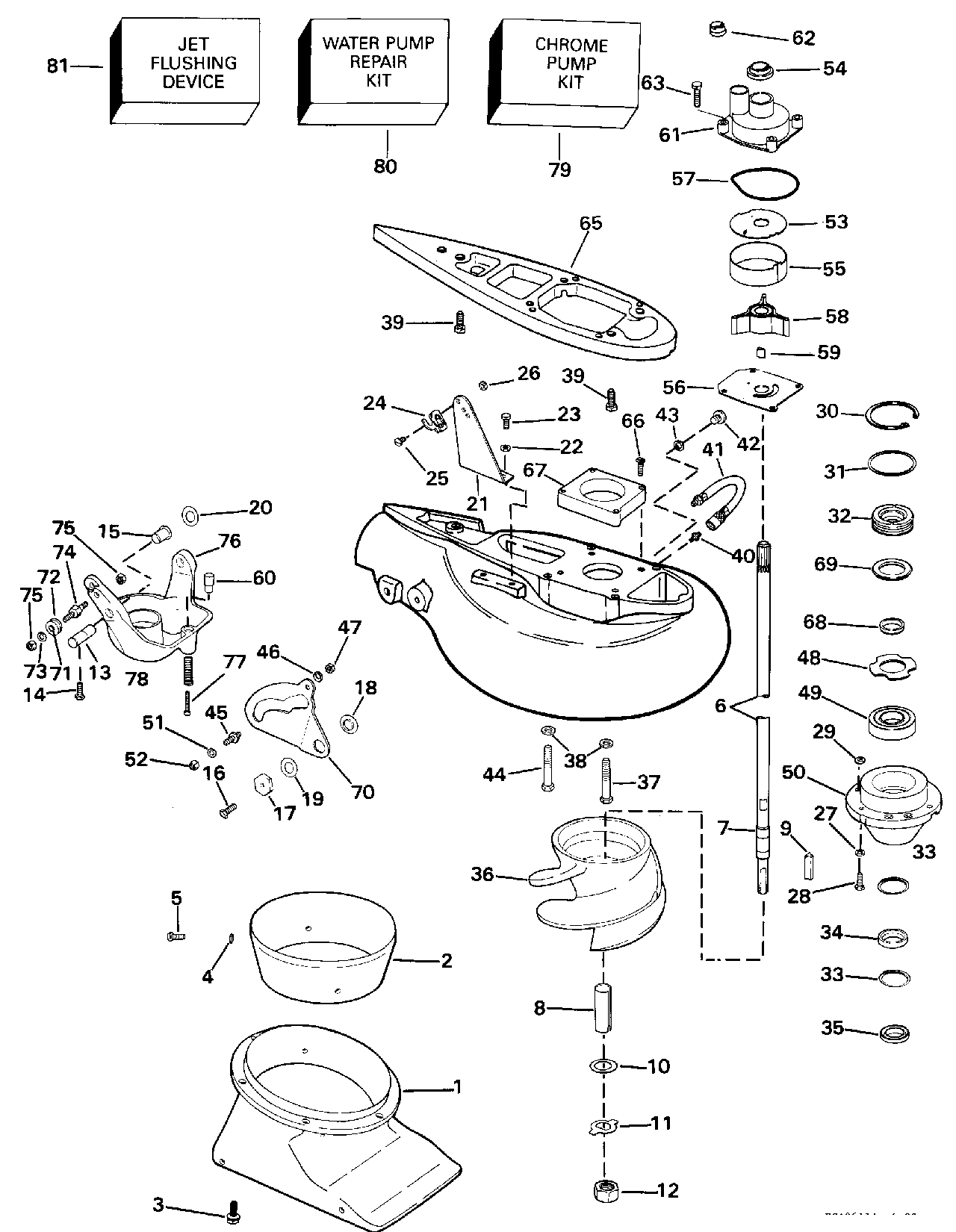
ДЕТАЛИРОВКА ДЛЯ МОДЕЛИ: EVINRUDE E40EENM 1992

JET DRIVE KIT | JET DRIVE KIT;


Лодочный подвесной мотор Evinrude E40EENM 1992  - t Drive Kit / t Drive Kit

Номер на
рисунке
АртикулНаименованиеКол-во
на складе
Цена
1 0434709

Система впуска AY. (INTAKE AY.)

нет в наличии, поставок нет
2 0336940

LINER (LINER)

нет в наличии, поставок нет
3 0336870

Болт, Система впуска to hsg. (BOLT, Intake to hsg.)

нет в наличии, поставок нет
4 0336869

Шайба, Болт, liner to Система впуска (WASHER, Bolt, liner to intake)

нет в наличии, поставок нет
4 0342612

   (последний код) WASHER

нет в наличии, поставок нет
5 0336870

Болт, Liner to Система впуска (BOLT, Liner to intake)

нет в наличии, поставок нет
6 0434706

DRIVEВал & Гильза AY, (DRIVESHAFT & SLEEVE AY,)

нет в наличии, поставок нет
7 0336882

THRUST Кольцо (THRUST RING)

нет в наличии, поставок нет
8 0336941

Гильза (SLEEVE)

нет в наличии, поставок нет
9 0336927

Ключ (KEY)

нет в наличии, поставок нет
10 0336945

Регулировочная шайба (SHIM)

нет в наличии, поставок нет
11 0336925

Гайка, DriveВал (NUT, Driveshaft)

нет в наличии, поставок нет
13 0336926

Штифт, Gate (PIN, Gate)

нет в наличии, поставок нет
14 0336871

Болт, Штифт, gate (BOLT, Pin, gate)

нет в наличии, поставок нет
15 0336916

Втулка, Штифт (BUSHING, Pin)

нет в наличии, поставок нет
16 0336871

Винт, Cam to hsg. (SCREW, Cam to hsg.)

нет в наличии, поставок нет
17 0336999

ECCENTRIC, Cam (ECCENTRIC, Cam)

нет в наличии, поставок нет
18 0337001

Втулка, Cam (BUSHING, Cam)

нет в наличии, поставок нет
19 0337003

Регулировочная шайба, Cam (SHIM, Cam)

нет в наличии, поставок нет
20 0337002

Шайба (WASHER)

нет в наличии, поставок нет
21 0336881

Кронштейн Кабели (BRACKET CABLE)

нет в наличии, поставок нет
22 0336868

Шайба, Винт, Кронштейн (WASHER, Screw, bracket)

нет в наличии, поставок нет
22 0342604

   (последний код) WASHER

нет в наличии, поставок нет
23 0336935

Винт, Кронштейн to hsg. (SCREW, Bracket to hsg.)

нет в наличии, поставок нет
23 0342356

   (последний код) BOLT

нет в наличии, поставок нет
24 0336873

Зажим кабеля (CLIP, Cable)

нет в наличии, поставок нет
24 0305736

   (последний код) LOCK

нет в наличии, поставок нет
25 0336874

Винт, Зажим to brkt. (SCREW, Clip to brkt.)

нет в наличии, поставок нет
26 0336867

Гайка, Винт, brkt (NUT, Screw, brkt)

нет в наличии, поставок нет
27 0336869

Шайба, Болт, brg. hsg. (WASHER, Bolt, brg. hsg.)

нет в наличии, поставок нет
27 0342612

   (последний код) WASHER

нет в наличии, поставок нет
28 0336930

Болт, Brg. hsg (BOLT, Brg. hsg)

нет в наличии, поставок нет
29 0336877

Уплотнительное кольцо, Brg. hsg. (O-RING, Brg. hsg.)

нет в наличии, поставок нет
30 0336915

Стопорное кольцо (RETAINING RING)

нет в наличии, поставок нет
31 0336936

Уплотнительное кольцо, Brg. hsg. (O-RING, Brg. hsg.)

нет в наличии, поставок нет
32 0336939

Сальник в сборе (SEAL ASSY)

нет в наличии, поставок нет
33 0336876

SPIROLOX (SPIROLOX)

нет в наличии, поставок нет
34 0336878

Сальник внутри (SEAL, Inner)

нет в наличии, поставок нет
35 0336879

Сальник, Outer (SEAL, Outer)

нет в наличии, поставок нет
36 0434704

Крыльчатка в сборе, (IMPELLER ASSY,.)

нет в наличии, поставок нет
37 0336932

Винт, Exh. hsg. (SCREW, Exh. hsg.)

нет в наличии, поставок нет
38 0336929

Шайба, Винт, exh. hsg. (WASHER, Screw, exh. hsg.)

нет в наличии, поставок нет
39 0336931

Винт, Exh. hsg (SCREW, Exh. hsg)

нет в наличии, поставок нет
40 0336872

Смазочный фиттинг (GREASE FITTING)

нет в наличии, поставок нет
41 0434698

Шланг AY, Lube (HOSE AY, Lube)

нет в наличии, поставок нет
42 0336861

Винт, Flush (SCREW, Flush)

нет в наличии, поставок нет
43 0336863

Шайба, Винт (WASHER, Screw)

нет в наличии, поставок нет
44 0336933

Винт, Exh. hsg., long (SCREW, Exh. hsg., long)

нет в наличии, поставок нет
45 0337009

Стержень, Кабели to cam (PIVOT, Cable to cam)

нет в наличии, поставок нет
46 0336869

Шайба, Гайка (WASHER, Nut)

нет в наличии, поставок нет
46 0342612

   (последний код) WASHER

нет в наличии, поставок нет
47 0337000

Гайка, Стержень, cam (NUT, Pivot, cam)

нет в наличии, поставок нет
48 0336922

Упорная шайба, Подшипник (THRUST WASHER, Bearing)

нет в наличии, поставок нет
49 0336937

Подшипник (BEARING)

нет в наличии, поставок нет
50 0336918

Подшипник CARRIER (BEARING CARRIER)

нет в наличии, поставок нет
51 0336868

Шайба, Гайка, Стержень (WASHER, Nut, pivot)

нет в наличии, поставок нет
51 0342604

   (последний код) WASHER

нет в наличии, поставок нет
52 0336866

Гайка, Стержень (NUT, Pivot)

нет в наличии, поставок нет
52 0121731

   (последний код) NUT

нет в наличии, поставок нет
53 0321940

Пластина корпуса крыльчатки.. Also included inРемкомплект водяного насоса 433549 Stainless Steel (PLATE, Impeller hsg.. Also included inWater Pump Repair Kit 433549 Stainless Steel)

нет в наличии, поставок нет
53 0315145

Пластина корпуса крыльчатки, хромированная пластина (PLATE, Impeller hsg,. Chrome Plated)

нет в наличии, поставок нет
54 0315748

Пыльник, Imp. hsg (GROMMET, Imp. hsg)

нет в наличии, поставок нет
54 0341732

   (последний код) GROMMET

1 шт160 руб.
55 0324980

LINER, Крыльчатка. Stainless Steel (LINER, Impeller. Stainless Steel)

нет в наличии, поставок нет
55 0321941

   (последний код) LINER

нет в наличии, поставок нет
55 0319587

LINER, Крыльчатка, chrome. хромированная пластина (LINER, Impeller, chrome. Chrome Plated)

нет в наличии, поставок нет
56 0336251

Пластина, Крыльчатка. Stainless Steel (PLATE, Impeller. Stainless Steel)

нет в наличии, поставок нет
56 0341038

   (последний код) IMP HSG PLATE

нет в наличии, поставок нет
56 0319588

Пластина, Крыльчатка, chrome. хромированная пластина (PLATE, Impeller, chrome. Chrome Plated)

нет в наличии, поставок нет
56 0341187

   (последний код) PLATE

нет в наличии, поставок нет
57 0324981

Сальник, Imp. hsg (SEAL, Imp. hsg)

нет в наличии, поставок нет
58 0432941

Крыльчатка в сборе. (IMPELLER ASSY.)

нет в наличии, поставок нет
59 0334897

Ключ, Крыльчатка (KEY, Impeller)

нет в наличии, поставок нет
60 0337007

Бампер, Gate (BUMPER, Gate)

нет в наличии, поставок нет
61 0333783

Крыльчатка HSG (IMPELLER HSG)

нет в наличии, поставок нет
61 0435672

   (последний код) HSG-AY,IMPLR

нет в наличии, поставок нет
62 0333758

Пыльник водяной трубки (GROMMET, Water tube)

нет в наличии, поставок нет
63 0331979

Винт, Imp. hsg (SCREW, Imp. hsg)

нет в наличии, поставок нет
65 0336919

Пластина адаптера (ADAPTOR PLATE)

нет в наличии, поставок нет
66 0336934

Болт помпы Адаптер (BOLT, Pump adaptor)

нет в наличии, поставок нет
67 0336920

Адаптер, Водяной насос (ADAPTOR, Water pump)

нет в наличии, поставок нет
68 0336938

Воротник (COLLAR)

нет в наличии, поставок нет
69 0336923

Проставка (SPACER)

нет в наличии, поставок нет
70 0336860

Кулачок переключателя (CAM, Shift)

нет в наличии, поставок нет
71 0337005

Втулка, Ролик, gate (BUSHING, roller, gate)

нет в наличии, поставок нет
71 0437820

   (последний код) ROLLER&BUSHING AY

нет в наличии, поставок нет
72 0337004

Ролик, Gate (ROLLER, Gate)

нет в наличии, поставок нет
72 0437820

   (последний код) ROLLER&BUSHING AY

нет в наличии, поставок нет
73 0336868

Шайба, Ролик (WASHER, Roller)

нет в наличии, поставок нет
73 0342604

   (последний код) WASHER

нет в наличии, поставок нет
74 0337006

Гайка, Вал, gate (NUT, Shaft, gate)

нет в наличии, поставок нет
75 0336866

Гайка, Вал, gate (NUT, Shaft, gate)

нет в наличии, поставок нет
75 0121731

   (последний код) NUT

нет в наличии, поставок нет
76 0336859

GATE, Reverse (GATE, Reverse)

нет в наличии, поставок нет
77 0336998

Винт, Бампер (SCREW, Bumper)

нет в наличии, поставок нет
78 0337008

Пружина, Бампер, gate (SPRING, Bumper, gate)

нет в наличии, поставок нет
79 0389145

Хромированный ремкомплект водяного насоса (CHROME PUMP KIT)

нет в наличии, поставок нет
80 0433548

Ремкомплект водяного насоса (WATER PUMP REPAIR KIT)

нет в наличии, поставок нет
80 0438592

   (последний код) KIT AY,WATER PUMP

нет в наличии, поставок нет
80 0433549

Ремкомплект водяного насоса (Includes Крыльчатка Корпус) (WATER PUMP REPAIR KIT (Includes impeller housing))

нет в наличии, поставок нет
80 0438592

   (последний код) KIT AY,WATER PUMP

нет в наличии, поставок нет
81 0435299

JET FLUSHING DEVICE (JET FLUSHING DEVICE)

нет в наличии, поставок нет
evinrude

Время выполнения запроса 1.2925860881805 сек.


 
 

данный сайт носит информационный характер и не является публичной офертой

склад запчастей для водомоторной техники