вконтакте

Контактный телефон: +7 (981) 121-46-93, +7 (800) 200-90-76 , Email: parts-katalog@yandex.ru, где купить

 
 

  Логин:

Пароль:

Регистрация

www.partskatalog.ru Все каталоги Запчасти Mercury Запчасти Suzuki Запчасти Tohatsu Запчасти Honda Контакты



УВАЖАЕМЫЕ КЛИЕНТЫ!
C 31 ОКТЯБРЯ 2025 ПО 10 НОЯБРЯ 2025 ГОДА РАБОТАТЬ НЕ БУДЕМ




Все разделы каталога запчастей на этот двигатель

назад Раздел:   вперёд

вернуться к списку узлов и деталей

ДЕТАЛИРОВКА ДЛЯ МОДЕЛИ: EVINRUDE VE40TELENM 1992

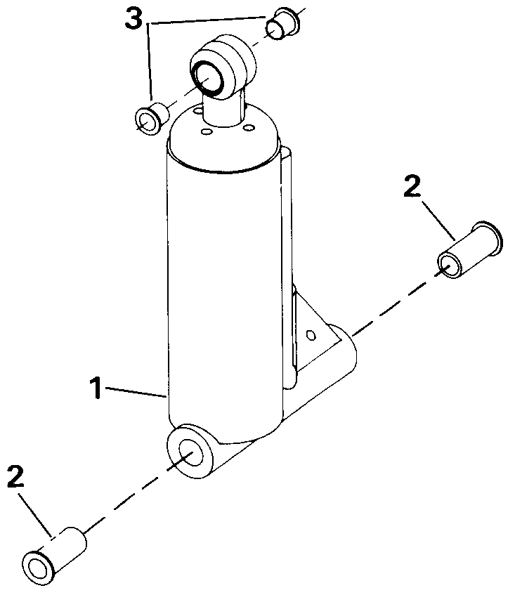
TILT ASSIST ЦИЛИНДР | TILT ASSIST CYLINDER;


Мотор Evinrude VE40TELENM 1992  - lt Assist Цилиндр

Номер на
рисунке
АртикулНаименованиеКол-во
на складе
Цена
1 0434037

TILT ASSIST Цилиндр (TILT ASSIST CYLINDER)

нет в наличии, поставок нет
1 0398752

   (последний код) CYL,AY-TILT

нет в наличии, поставок нет
2 0332434

Втулка, Цилиндр to Штифт (BUSHING, Cylinder to pin)

нет в наличии, поставок нет
3 0332436

Втулка, Цилиндр to Поворотный кронштейн (BUSHING, Cylinder to swivel bracket)

нет в наличии, поставок нет
evinrude

Время выполнения запроса 0.34968709945679 сек.


 
 

данный сайт носит информационный характер и не является публичной офертой

склад запчастей для водомоторной техники