вконтакте

Контактный телефон: +7 (981) 121-46-93, +7 (800) 200-90-76 , Email: parts-katalog@yandex.ru, где купить

 
 

  Логин:

Пароль:

Регистрация

www.partskatalog.ru Все каталоги Запчасти Mercury Запчасти Suzuki Запчасти Tohatsu Запчасти Honda Контакты



УВАЖАЕМЫЕ КЛИЕНТЫ!
C 19 ДЕКАБРЯ 2025 ПО 02 МАРТА 2026 ГОДА ОТДЕЛ ЗАПЧАСТЕЙ И СЕРВИС РАБОТАТЬ НЕ БУДУТ
ПРОДАЖА ЛОДОЧНЫХ МОТОРОВ В ШТАТНОМ РЕЖИМЕ
ОБ ИЗМЕНЕНИЯХ В ГРАФИКЕ РАБОТЫ ЧИТАЙТЕ НА САЙТА




Все разделы каталога запчастей на этот двигатель

назад Раздел:   вперёд

вернуться к списку узлов и деталей

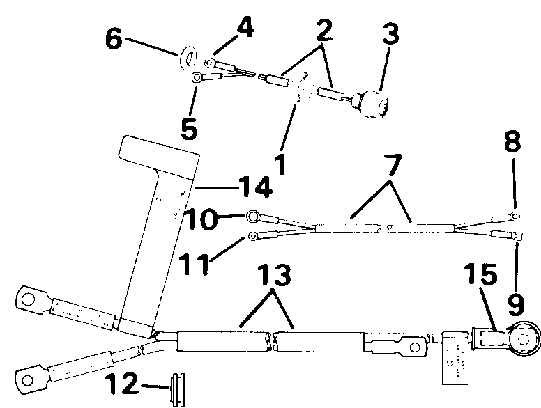
ДЕТАЛИРОВКА ДЛЯ МОДЕЛИ: EVINRUDE E30TEENR 1992

START ПЕРЕКЛЮЧАТЕЛЬ & КАБЕЛИS | START SWITCH & CABLES;


Подвесной лодочный мотор Эвинруд E30TEENR 1992  - art Switch & Cables - art Переключатель & Кабелиs

Номер на
рисунке
АртикулНаименованиеКол-во
на складе
Цена
1 0324041

КреплениеING Кольцо, Start Переключатель (MOUNTING RING, Start switch)

нет в наличии, поставок нет
1 0324081

   (последний код) RING

нет в наличии, поставок нет
2 0583925

START Переключатель в сборе. (START SWITCH ASSY.)

нет в наличии, поставок нет
2 0390951

   (последний код) STR-SWITCH&T

нет в наличии, поставок нет
3 0391306

Крышка переключателя (COVER, Switch)

нет в наличии, поставок нет
3 0587056

   (последний код) COVER&CONTACT AY

нет в наличии, поставок нет
4 0330100

Клемма, Кольцо (TERMINAL, Ring)

нет в наличии, поставок нет
4 3852198

   (последний код) TERMINAL,RIN

нет в наличии, поставок нет
5 0511829

Клемма, Кольцо (TERMINAL, Ring)

нет в наличии, поставок нет
5 3852233

   (последний код) TERMINAL,RIN

нет в наличии, поставок нет
6 0327805

Гайка, Start Переключатель (NUT, Start switch)

нет в наличии, поставок нет
6 0327971

   (последний код) NUT

нет в наличии, поставок нет
7 0390952

Кабели в сборе., Solenoid, Выпрямитель & Аварийный выключатель (CABLE ASSY., Solenoid, rectifier & safety switch)

нет в наличии, поставок нет
8 0510780

Клемма, Кольцо (TERMINAL, Ring)

нет в наличии, поставок нет
8 3852226

   (последний код) TERMINAL,RIN

нет в наличии, поставок нет
9 0511828

Клемма (TERMINAL)

нет в наличии, поставок нет
10 0330100

Клемма, Кольцо (TERMINAL, Ring)

нет в наличии, поставок нет
10 3852198

   (последний код) TERMINAL,RIN

нет в наличии, поставок нет
11 0511829

Клемма, Кольцо (TERMINAL, Ring)

нет в наличии, поставок нет
11 3852233

   (последний код) TERMINAL,RIN

нет в наличии, поставок нет
12 0331634

Пыльник, Кабель аккумулятора в сборе. (GROMMET, Battery cable assy.)

нет в наличии, поставок нет
12 0325958

   (последний код) GROMMET

нет в наличии, поставок нет
13 0582996

Кабель аккумулятора в сборе. (BATTERY CABLE ASSY.)

нет в наличии, поставок нет
13 0173254

   (последний код) CABLE-AY-BAT

нет в наличии, поставок нет
14 0512682

Клемма Крышка (TERMINAL COVER)

нет в наличии, поставок нет
14 0327638

   (последний код) COVER

нет в наличии, поставок нет
15 0334698

Клемма Крышка (TERMINAL COVER)

нет в наличии, поставок нет
15 0311262

   (последний код) TERM-BOOT

нет в наличии, поставок нет
evinrude

Время выполнения запроса 0.84263110160828 сек.


 
 

данный сайт носит информационный характер и не является публичной офертой

склад запчастей для водомоторной техники