вконтакте

Контактный телефон: +7 (981) 121-46-93, +7 (800) 200-90-76 , Email: parts-katalog@yandex.ru, где купить

 
 

  Логин:

Пароль:

Регистрация

www.partskatalog.ru Все каталоги Запчасти Mercury Запчасти Suzuki Запчасти Tohatsu Запчасти Honda Контакты



УВАЖАЕМЫЕ КЛИЕНТЫ!
C 31 ОКТЯБРЯ 2025 ПО 10 НОЯБРЯ 2025 ГОДА РАБОТАТЬ НЕ БУДЕМ




Все разделы каталога запчастей на этот двигатель

назад Раздел:   вперёд

вернуться к списку узлов и деталей

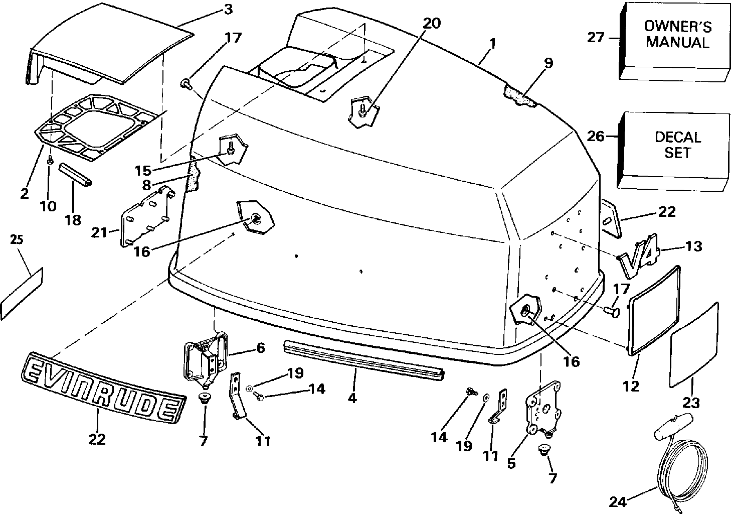
ДЕТАЛИРОВКА ДЛЯ МОДЕЛИ: EVINRUDE E140TXEID 1991

КРЫШКА ДВИГАТЕЛЯ (КАПОТ) - EVINRUDE 120-140 MODELS | ENGINE COVER - EVINRUDE 120-140 MODELS;


Подвесной лодочный мотор EVINRUDE E140TXEID 1991  - Evinrude 120-140 Models

Номер на
рисунке
АртикулНаименованиеКол-во
на складе
Цена
1 0283605

Крышка двигателя (капот) в сборе., 120 (ENGINE COVER ASSY., 120)

нет в наличии, поставок нет
1 0283606

Крышка двигателя (капот) в сборе., 140 (ENGINE COVER ASSY., 140)

нет в наличии, поставок нет
1 0283607

Крышка двигателя (капот) в сборе., 140. 140 обратное вращение Only (ENGINE COVER ASSY., 140. 140 Counter Rotation Only)

нет в наличии, поставок нет
2 0331942

BAFFLE, Рукоятка наклона (BAFFLE, Tilt handle)

нет в наличии, поставок нет
2 0328670

   (последний код) BAFFLE

нет в наличии, поставок нет
3 0328671

Рукоятка наклона (TILT HANDLE)

нет в наличии, поставок нет
4 0912032

Резинка капота двигателя (SEAL, Engine cover)

нет в наличии, поставок нет
4 0330731

   (последний код) SEAL,MOTOR COVER

нет в наличии, поставок нет
5 0329762

LOCATING BRKT., Front (LOCATING BRKT., Front)

нет в наличии, поставок нет
6 0394976

LOCATING BRKT., Rear (LOCATING BRKT., Rear)

нет в наличии, поставок нет
6 0389972

   (последний код) BRKT & BUMPR AY

нет в наличии, поставок нет
7 0324898

Бампер, Locating brkts. (BUMPER, Locating brkts.)

нет в наличии, поставок нет
8 0328668

SOUND BLANKET, Side (SOUND BLANKET, Side)

нет в наличии, поставок нет
8 0341539

   (последний код) BLANKET,SOUN

нет в наличии, поставок нет
9 0328667

SOUND BLANKET, Top (SOUND BLANKET, Top)

нет в наличии, поставок нет
9 0341538

   (последний код) BLANKET,SOUN

нет в наличии, поставок нет
10 0323937

Винт, Baffle to Рукоятка наклона (SCREW, Baffle to tilt handle)

нет в наличии, поставок нет
11 0323176

Крючок капота двигателя (HOOK, Engine cover)

нет в наличии, поставок нет
11 0315191

   (последний код) HOOK

нет в наличии, поставок нет
12 0211549

APPLIQUE, Front (APPLIQUE, Front)

нет в наличии, поставок нет
12 0211217

   (последний код) FRAME

нет в наличии, поставок нет
13 0210311

APPLIQUE, Front, V4 (APPLIQUE, Front, V4)

нет в наличии, поставок нет
14 0319137

Винт, Крючок (SCREW, Hook)

нет в наличии, поставок нет
15 0323228

Винт, Рукоятка наклона, rear (SCREW, Tilt handle, rear)

нет в наличии, поставок нет
16 0317223

Защелка, Applique, front (FASTENER, Applique, front)

нет в наличии, поставок нет
17 0326948

RIVER, Locating Кронштейн (RIVER, Locating bracket)

нет в наличии, поставок нет
17 0331881

   (последний код) RIVET

нет в наличии, поставок нет
18 0328669

Сальник, Baffle to Рукоятка наклона (SEAL, Baffle to tilt handle)

нет в наличии, поставок нет
18 0210187

   (последний код) SEAL,MOTOR COVER

нет в наличии, поставок нет
19 0328703

Шайба, Винт (WASHER, Screw)

нет в наличии, поставок нет
19 3852184

   (последний код) WASHER

нет в наличии, поставок нет
20 0323229

Винт, Рукоятка наклона, front (SCREW, Tilt handle, front)

нет в наличии, поставок нет
21 0210314

APPLIQUE, Rear, 120 (APPLIQUE, Rear, 120)

нет в наличии, поставок нет
21 0210304

APPLIQUE, Rear, 140 (APPLIQUE, Rear, 140)

нет в наличии, поставок нет
22 0210305

APPLIQUE, Evinrude (APPLIQUE, Evinrude)

нет в наличии, поставок нет
23 0211218

Пластина, Applique, front (PLATE, Applique, front)

нет в наличии, поставок нет
24 0378347

Шнур стартера (STARTER ROPE)

нет в наличии, поставок нет
25 0211075

Наклейка, обратное вращение (DECAL, Counter rotation)

нет в наличии, поставок нет
26 0283785

Комплект наклеек (DECAL SET)

нет в наличии, поставок нет
27 0211652

OWNERS ручной. 4-Language ручной (OWNERS MANUAL. 4-Language Manual)

нет в наличии, поставок нет
27 8021915

   (последний код) OMLOOP V 211652

нет в наличии, поставок нет
27 0211653

OWNERS ручной. 7-Language ручной (OWNERS MANUAL. 7-Language Manual)

нет в наличии, поставок нет
27 8021916

   (последний код) OMLOOP V 211653

нет в наличии, поставок нет
27 0434351

PAMPLET, обратное вращение. 140 обратное вращение Only (PAMPLET, Counter rotation. 140 Counter Rotation Only)

нет в наличии, поставок нет
evinrude

Время выполнения запроса 2.0163841247559 сек.


 
 

данный сайт носит информационный характер и не является публичной офертой

склад запчастей для водомоторной техники