вконтакте

Контактный телефон: +7 (981) 121-46-93, +7 (800) 200-90-76 , Email: parts-katalog@yandex.ru, где купить

 
 

  Логин:

Пароль:

Регистрация

www.partskatalog.ru Все каталоги Запчасти Mercury Запчасти Suzuki Запчасти Tohatsu Запчасти Honda Контакты



УВАЖАЕМЫЕ КЛИЕНТЫ!
C 19 ДЕКАБРЯ 2025 ПО 02 МАРТА 2026 ГОДА ОТДЕЛ ЗАПЧАСТЕЙ И СЕРВИС РАБОТАТЬ НЕ БУДУТ
ПРОДАЖА ЛОДОЧНЫХ МОТОРОВ В ШТАТНОМ РЕЖИМЕ
ОБ ИЗМЕНЕНИЯХ В ГРАФИКЕ РАБОТЫ ЧИТАЙТЕ НА САЙТА




Все разделы каталога запчастей на этот двигатель

назад Раздел:   вперёд

вернуться к списку узлов и деталей

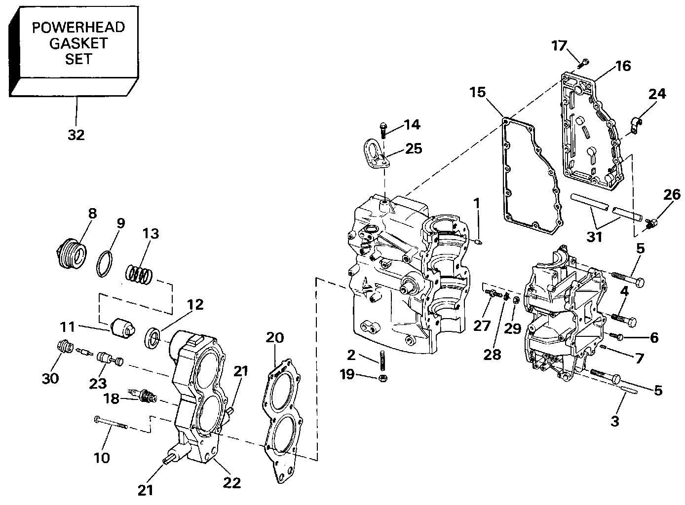
ДЕТАЛИРОВКА ДЛЯ МОДЕЛИ: EVINRUDE E115JLEIE 1991

JET DRIVE KIT | JET DRIVE KIT;


Подвесной двигатель Evinrude E115JLEIE 1991  - t Drive Kit / t Drive Kit

Номер на
рисунке
АртикулНаименованиеКол-во
на складе
Цена
1 0434703

Система впуска AY. (INTAKE AY.)

нет в наличии, поставок нет
2 0336903

LINER (LINER)

нет в наличии, поставок нет
3 0336900

Болт, Система впуска to hsg. (BOLT, Intake to hsg.)

нет в наличии, поставок нет
4 0336869

Шайба, Болт, Система впуска to hsg. (WASHER, Bolt, intake to hsg.)

нет в наличии, поставок нет
4 0342612

   (последний код) WASHER

нет в наличии, поставок нет
5 0336870

Болт, Liner to Система впуска (BOLT, Liner to intake)

нет в наличии, поставок нет
6 0434699

DRIVEВал & Гильза AY. (DRIVESHAFT & SLEEVE AY.)

нет в наличии, поставок нет
7 0336882

THRUST Кольцо (THRUST RING)

нет в наличии, поставок нет
8 0336913

Гильза (SLEEVE)

нет в наличии, поставок нет
9 0336906

Ключ (KEY)

нет в наличии, поставок нет
10 0336911

Регулировочная шайба (SHIM)

нет в наличии, поставок нет
11 0336895

KEEPER, Гайка (KEEPER, Nut)

нет в наличии, поставок нет
12 0336912

Гайка, DriveВал (NUT, Driveshaft)

нет в наличии, поставок нет
13 0336894

Штифт, Gate (PIN, Gate)

нет в наличии, поставок нет
14 0336871

Болт, Штифт, gate (BOLT, Pin, gate)

нет в наличии, поставок нет
15 0336890

Втулка, Штифт (BUSHING, Pin)

нет в наличии, поставок нет
16 0336893

GATE (GATE)

нет в наличии, поставок нет
17 0337008

Пружина, Бампер, gate. (SPRING, Bumper, gate.)

нет в наличии, поставок нет
18 0434701

CAM AY., Переключатель. (CAM AY., Shift.)

нет в наличии, поставок нет
19 0336999

ECCENTRIC, Cam (ECCENTRIC, Cam)

нет в наличии, поставок нет
20 0337001

Втулка, Cam (BUSHING, Cam)

нет в наличии, поставок нет
21 0336881

Кронштейн кабеля (BRACKET, Cable)

нет в наличии, поставок нет
22 0336868

Шайба, Винт, Кронштейн (WASHER, Screw, bracket)

нет в наличии, поставок нет
22 0342604

   (последний код) WASHER

нет в наличии, поставок нет
23 0336899

Винт, Кронштейн to hsg. (SCREW, Bracket to hsg.)

нет в наличии, поставок нет
24 0336873

Зажим кабеля (CLIP, Cable)

нет в наличии, поставок нет
24 0305736

   (последний код) LOCK

нет в наличии, поставок нет
25 0336874

Винт, Зажим to brkt. (SCREW, Clip to brkt.)

нет в наличии, поставок нет
26 0336867

Гайка, Винт, brkt. (NUT, Screw, brkt.)

нет в наличии, поставок нет
27 0336869

Шайба, Болт, brg. hsg. (WASHER, Bolt, brg. hsg.)

нет в наличии, поставок нет
27 0342612

   (последний код) WASHER

нет в наличии, поставок нет
28 0336901

Болт, Brg. hsg. (BOLT, Brg. hsg.)

нет в наличии, поставок нет
29 0336877

Уплотнительное кольцо, Brg. hsg. (O-RING, Brg. hsg.)

нет в наличии, поставок нет
30 0336889

Стопорное кольцо (RETAINING RING)

нет в наличии, поставок нет
31 0336902

Уплотнительное кольцо, Brg. hsg. (O-RING, Brg. hsg.)

нет в наличии, поставок нет
32 0336914

Сальник в сборе. (SEAL ASSY.)

нет в наличии, поставок нет
33 0336876

SPIROLOX (SPIROLOX)

нет в наличии, поставок нет
34 0336878

Сальник внутри (SEAL, Inner)

нет в наличии, поставок нет
35 0336879

Сальник, Outer (SEAL, Outer)

нет в наличии, поставок нет
36 0434731

Крыльчатка в сборе., 65 model (IMPELLER ASSY., 65 model)

нет в наличии, поставок нет
36 0434712

Крыльчатка в сборе., 80 model (IMPELLER ASSY., 80 model)

нет в наличии, поставок нет
37 0336896

Винт, Exh. hsg. (SCREW, Exh. hsg.)

нет в наличии, поставок нет
38 0336864

Шайба, Винт, exh. hsg. (WASHER, Screw, exh. hsg.)

нет в наличии, поставок нет
39 0336898

Винт, Exh. hsg. (SCREW, Exh. hsg.)

нет в наличии, поставок нет
40 0336909

Проставка, Винт, exh. hsg. (SPACER, Screw, exh. hsg.)

нет в наличии, поставок нет
41 0434698

Шланг AY., Lube (HOSE AY., Lube)

нет в наличии, поставок нет
42 0336861

Винт, Flush (SCREW, Flush)

нет в наличии, поставок нет
43 0336863

Шайба, Винт (WASHER, Screw)

нет в наличии, поставок нет
44 0336897

Винт, Exh. hsg., long (SCREW, Exh. hsg., long)

нет в наличии, поставок нет
45 0336871

Винт, Cam to hsg. (SCREW, Cam to hsg.)

нет в наличии, поставок нет
47 0337002

Шайба (WASHER)

нет в наличии, поставок нет
48 0336908

Шайба, Подшипник (WASHER, Bearing)

нет в наличии, поставок нет
49 0336905

Подшипник (BEARING)

нет в наличии, поставок нет
50 0336907

Подшипник CARRIER (BEARING CARRIER)

нет в наличии, поставок нет
51 0337003

Регулировочная шайба, Cam (SHIM, Cam)

нет в наличии, поставок нет
53 0310585

Уплотнительное кольцо, DriveВал to Коленвал (O-RING, Driveshaft to crankshaft)

нет в наличии, поставок нет
54 0320943

Пыльник, Imp. hsg.. Also included in Ремкомплект водяного насоса 395062 (GROMMET, Imp. hsg.. Also included in Water Pump Repair Kit 395062)

1 шт300 руб.
55 0330379

Cвыше, Крыльчатка. Also included in Ремкомплект водяного насоса 395062 Stainless Steel (CUP, Impeller. Also included in Water Pump Repair Kit 395062 Stainless Steel)

нет в наличии, поставок нет
55 0435027

   (последний код) CUP-&-PLATE

нет в наличии, поставок нет
55 0330384

Cвыше, Крыльчатка, chrome. хромированная пластина (CUP, Impeller, chrome. Chrome Plated)

нет в наличии, поставок нет
55 0435526

   (последний код) CUP & PLATE AY

нет в наличии, поставок нет
56 0330380

Пластина, Крыльчатка. Also included in Ремкомплект водяного насоса 395062 Stainless Steel (PLATE, Impeller. Also included in Water Pump Repair Kit 395062 Stainless Steel)

нет в наличии, поставок нет
56 0435027

   (последний код) CUP-&-PLATE

нет в наличии, поставок нет
56 0330383

Пластина, Крыльчатка, chrome. хромированная пластина (PLATE, Impeller, chrome. Chrome Plated)

нет в наличии, поставок нет
56 0435526

   (последний код) CUP & PLATE AY

нет в наличии, поставок нет
57 0331353

Сальник, Imp, hsg.. Also included in Ремкомплект водяного насоса 395062 (SEAL, Imp, hsg.. Also included in Water Pump Repair Kit 395062)

1 шт790 руб.
58 0395864

Крыльчатка & Ключ в сборе.. Also included in Ремкомплект водяного насоса 395062 (IMPELLER & KEY ASSY.. Also included in Water Pump Repair Kit 395062)

нет в наличии, поставок нет
58 5001593

   (последний код) KIT AY,IMPELLER

нет в наличии, поставок нет
59 0331107

Ключ, Крыльчатка. Also included in Ремкомплект водяного насоса 395062 (KEY, Impeller. Also included in Water Pump Repair Kit 395062)

нет в наличии, поставок нет
60 0332000

Кольцевой сальник, Hsg.. Also included in Ремкомплект водяного насоса 395062 (SEAL RING, Hsg.. Also included in Water Pump Repair Kit 395062)

нет в наличии, поставок нет
61 0395040

Крыльчатка HSG. в сборе.. Also included in Ремкомплект водяного насоса 395062 (IMPELLER HSG. ASSY.. Also included in Water Pump Repair Kit 395062)

нет в наличии, поставок нет
61 0435485

   (последний код) HOUSING-AY,P

нет в наличии, поставок нет
62 0314008

Пыльник водяной трубки. Also included in Ремкомплект водяного насоса 395062 (GROMMET, Water tube. Also included in Water Pump Repair Kit 395062)

нет в наличии, поставок нет
63 0321159

Крышка (COVER)

нет в наличии, поставок нет
63 0338893

   (последний код) COVER,IMPELL

нет в наличии, поставок нет
64 0306643

Винт, Крышка. Also included in Ремкомплект водяного насоса 395062 (SCREW, Cover. Also included in Water Pump Repair Kit 395062)

нет в наличии, поставок нет
64 3852066

   (последний код) SCREW

нет в наличии, поставок нет
65 0328715

Винт, Imp. hsg.. Also included in Ремкомплект водяного насоса 395062 (SCREW, Imp. hsg.. Also included in Water Pump Repair Kit 395062)

нет в наличии, поставок нет
65 0335221

   (последний код) SCREW

нет в наличии, поставок нет
67 0337007

Бампер, Gate (BUMPER, Gate)

нет в наличии, поставок нет
68 0336998

Винт, Бампер (SCREW, Bumper)

нет в наличии, поставок нет
69 0337006

Вал, Ролик, gate (SHAFT, Roller, gate)

нет в наличии, поставок нет
70 0336866

Гайка, Ролик (NUT, Roller)

нет в наличии, поставок нет
70 0121731

   (последний код) NUT

нет в наличии, поставок нет
71 0336868

Шайба, Гайка (WASHER, Nut)

нет в наличии, поставок нет
71 0342604

   (последний код) WASHER

нет в наличии, поставок нет
72 0337004

Ролик колпачка (ROLLER, Cam)

нет в наличии, поставок нет
72 0437820

   (последний код) ROLLER&BUSHING AY

нет в наличии, поставок нет
73 0337005

Втулка, Ролик (BUSHING, Roller)

нет в наличии, поставок нет
73 0437820

   (последний код) ROLLER&BUSHING AY

нет в наличии, поставок нет
74 0336872

Смазочный фиттинг (GREASE FITTING)

нет в наличии, поставок нет
75 0337000

Гайка, Стержень, cam (NUT, Pivot, cam)

нет в наличии, поставок нет
76 0336869

Шайба, Гайка (WASHER, Nut)

нет в наличии, поставок нет
76 0342612

   (последний код) WASHER

нет в наличии, поставок нет
77 0337009

Стержень, Кабели to cam (PIVOT, Cable to cam)

нет в наличии, поставок нет
78 0336868

Шайба, Гайка, Стержень (WASHER, Nut, pivot)

нет в наличии, поставок нет
78 0342604

   (последний код) WASHER

нет в наличии, поставок нет
79 0336866

Гайка, Стержень (NUT, Pivot)

нет в наличии, поставок нет
79 0121731

   (последний код) NUT

нет в наличии, поставок нет
80 0395059

Хромированный ремкомплект водяного насоса (Inc. imp. hsg.) (CHROME PUMP KIT (Inc. imp. hsg.))

нет в наличии, поставок нет
80 0435526

   (последний код) CUP & PLATE AY

нет в наличии, поставок нет
81 0395060

Ремкомплект водяного насоса (WATER PUMP REPAIR KIT)

нет в наличии, поставок нет
81 5001594

   (последний код) KIT AY,WATER PUMP

нет в наличии, поставок нет
81 T-5001594

   (не оригинальный аналог) Ремкомплект насоса охлаждения Evinrude-Johnson 5001594

2 шт штпо запросу
81 0395062

Ремкомплект водяного насоса (Includes Крыльчатка hsg.) (WATER PUMP REPAIR KIT (Includes impeller hsg.))

нет в наличии, поставок нет
81 5001594

   (последний код) KIT AY,WATER PUMP

нет в наличии, поставок нет
81 T-5001594

   (не оригинальный аналог) Ремкомплект насоса охлаждения Evinrude-Johnson 5001594

2 шт штпо запросу
evinrude

Время выполнения запроса 1.3190429210663 сек.


 
 

данный сайт носит информационный характер и не является публичной офертой

склад запчастей для водомоторной техники