вконтакте

Контактный телефон: +7 (981) 121-46-93, +7 (800) 200-90-76 , Email: parts-katalog@yandex.ru, где купить

 
 

  Логин:

Пароль:

Регистрация

www.partskatalog.ru Все каталоги Запчасти Mercury Запчасти Suzuki Запчасти Tohatsu Запчасти Honda Контакты



УВАЖАЕМЫЕ КЛИЕНТЫ!
C 19 ДЕКАБРЯ 2025 ПО 02 МАРТА 2026 ГОДА ОТДЕЛ ЗАПЧАСТЕЙ И СЕРВИС РАБОТАТЬ НЕ БУДУТ
ПРОДАЖА ЛОДОЧНЫХ МОТОРОВ В ШТАТНОМ РЕЖИМЕ
ОБ ИЗМЕНЕНИЯХ В ГРАФИКЕ РАБОТЫ ЧИТАЙТЕ НА САЙТА




Все разделы каталога запчастей на этот двигатель

назад Раздел:   вперёд

вернуться к списку узлов и деталей

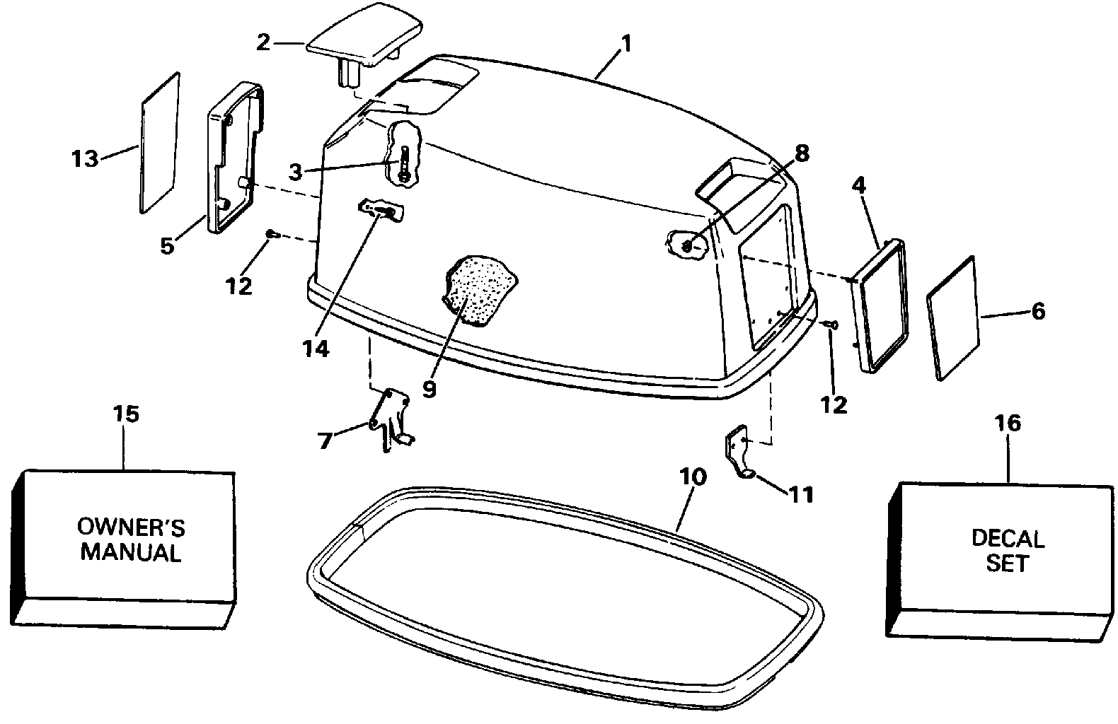
ДЕТАЛИРОВКА ДЛЯ МОДЕЛИ: EVINRUDE E25TELEIE 1991

КРЫШКА ДВИГАТЕЛЯ (КАПОТ) - EVINRUDE | ENGINE COVER - EVINRUDE;


Двигатель Эвинруд E25TELEIE 1991  - Evinrude / Evinrude

Номер на
рисунке
АртикулНаименованиеКол-во
на складе
Цена
1 0283609

Крышка двигателя (капот) в сборе.. 25TEE - 25TELE (ENGINE COVER ASSY.. 25TEE - 25TELE)

нет в наличии, поставок нет
1 0285243

   (последний код) COVER AY,MOTOR-

нет в наличии, поставок нет
1 0283611

Крышка двигателя (капот) в сборе.. 30TEE - 30TELE (ENGINE COVER ASSY.. 30TEE - 30TELE)

нет в наличии, поставок нет
1 0285243

   (последний код) COVER AY,MOTOR-

нет в наличии, поставок нет
2 0322882

Рукоятка наклона (TILT HANDLE)

нет в наличии, поставок нет
3 0330823

Винт, Рукоятка наклона (SCREW, Tilt handle)

нет в наличии, поставок нет
3 0325838

   (последний код) SCREW

нет в наличии, поставок нет
4 0211226

Рама, Front (FRAME, Front)

нет в наличии, поставок нет
5 0211244

Рама, Rear (FRAME, Rear)

нет в наличии, поставок нет
6 0211227

Пластина, Рама, front, 25. 25TEE - 25TELE (PLATE, Frame, front, 25. 25TEE - 25TELE)

нет в наличии, поставок нет
6 0211231

Пластина, Рама, front, 30. 30TEE - 30TELE (PLATE, Frame, front, 30. 30TEE - 30TELE)

нет в наличии, поставок нет
7 0329635

Крючок капота двигателя, rear (HOOK, Engine cover, rear)

нет в наличии, поставок нет
7 0316171

   (последний код) ANCHOR BLOCK

нет в наличии, поставок нет
8 0317223

Гайка, Push-on (NUT, Push-on)

нет в наличии, поставок нет
9 0211273

SOUND BLANKET, Top (SOUND BLANKET, Top)

нет в наличии, поставок нет
9 0341523

   (последний код) BLANKET,SOUND

нет в наличии, поставок нет
9 0211275

SOUND BLANKET, Port (SOUND BLANKET, Port)

нет в наличии, поставок нет
9 0341525

   (последний код) BLANKET,SOUND

нет в наличии, поставок нет
9 0211274

SOUND BLANKET, Stbd. (SOUND BLANKET, Stbd.)

нет в наличии, поставок нет
9 0341524

   (последний код) BLANKET,SOUND

нет в наличии, поставок нет
9 0211276

SOUND BLANKET, Front (SOUND BLANKET, Front)

нет в наличии, поставок нет
9 0341526

   (последний код) BLANKET,SOUND

нет в наличии, поставок нет
10 0316225

Резинка капота двигателя (SEAL, Engine cover)

нет в наличии, поставок нет
10 0326487

   (последний код) SEAL

нет в наличии, поставок нет
11 0207482

Крючок капота двигателя, front (HOOK, Engine cover, front)

нет в наличии, поставок нет
11 0206656

   (последний код) HOOK

нет в наличии, поставок нет
12 0554355

Заклёпка (RIVET)

нет в наличии, поставок нет
12 0544355

   (последний код) RIVET

нет в наличии, поставок нет
13 0211228

Пластина, Рама, rear, 25. 25TEE - 25TELE (PLATE, Frame, rear, 25. 25TEE - 25TELE)

нет в наличии, поставок нет
13 0211232

Пластина, Рама, rear, 30. 30TEE - 30TELE (PLATE, Frame, rear, 30. 30TEE - 30TELE)

нет в наличии, поставок нет
14 0334528

Винт, Рама mtg., rear (SCREW, Frame mtg., rear)

нет в наличии, поставок нет
15 0211639

OWNERS ручной. 4-Language Ownerft.s ручной Provided with All Models & Available in All OMC Маркировкаeting Areas. (OWNERS MANUAL. 4-Language Ownerft.s Manual Provided with All Models & Available in All OMC Marketing Areas.)

нет в наличии, поставок нет
15 8021893

   (последний код) OM20/25RP211639

нет в наличии, поставок нет
16 0283921

Комплект наклеек (DECAL SET)

нет в наличии, поставок нет
16 0283750

   (последний код) DECAL AY,SET

нет в наличии, поставок нет
evinrude

Время выполнения запроса 0.67830491065979 сек.


 
 

данный сайт носит информационный характер и не является публичной офертой

склад запчастей для водомоторной техники